Например TDA7294

Форум РадиоКот • Просмотр темы - Зарядное устройство ЭЛЕКТРОНИКА УЗС-П-12-6,3 УХЛ3.1
Форум РадиоКот
Здесь можно немножко помяукать :)

Текущее время: Пн мар 09, 2026 06:42:18

Часовой пояс: UTC + 3 часа


ПРЯМО СЕЙЧАС:



Начать новую тему Ответить на тему  [ Сообщений: 26 ]  1,  
Автор Сообщение
 Заголовок сообщения: Зарядное устройство ЭЛЕКТРОНИКА УЗС-П-12-6,3 УХЛ3.1
СообщениеДобавлено: Пн июн 08, 2020 15:36:32 
Поставщик валерьянки для Кота
Аватар пользователя

Карма: 24
Рейтинг сообщений: 442
Зарегистрирован: Вс июн 03, 2012 17:23:17
Сообщений: 2206
Откуда: Москва
Рейтинг сообщения: 0
Уважаемые коты, прошу вашей помощи!
Ремонтирую сабж.
Выглядит так
СпойлерИзображение

Руководствуюсь этой схемой.
СпойлерИзображение
Взята отсюда.

Изначальные симптомы:
- низкий ток зарядки (3А максимум)
- не работает автоматический режим.
- Был обнаружен один выбитый предохранитель (6.3А) в одном из плеч.

Что сделано:
- заменены все электролиты в схеме управления
- проверены тиристоры (с выпаиванием), оба исправны
- проверены транзисторы и диоды (пока без выпаивания)
- восстановлены разушенные от времени пайки и почищены контакты в силовой части
- проверено напряжение вторичных обмоток трансформатора (18В).

Нынешние симптомы:
- при нажатии кнопки "Контроль" в ручном режиме индикатор "Заряд" горит постоянно, в автоматическом - периодически гаснет.
- ручной режим работает, номинальный ток выдает
- при попытке включить автоматический режим первый цикл проходит, а при переходе в паузу снова сгорает предохранитель одного из плеч
- при работе в автоматическом режиме на аккумулятор стрелка амперметра как-то неуверенно подрагивает

Нарыл кучу всяких описаний ремонта этого девайса, но нигде не описаны причины сгорания предохранителя, кроме очевидной - превышение тока. Также, нигде не нашел описания алгоритма работы схемы управления (сам, увы, не понимаю). И еще вопрос. В разных версиях устройства на плате управления запаяны разные электролиты. Я ориентировался на те, что стояли у меня и сейчас по факту стоят: C4, C7 - 22 мкф, C5, C6 - 220 мкф. Их номиналы принципиальны для работы схемы?

Буду признателен за помощь и советы!


Вернуться наверх
 
 Заголовок сообщения: Re: Зарядное устройство ЭЛЕКТРОНИКА УЗС-П-12-6,3 УХЛ3.1
СообщениеДобавлено: Пн июн 08, 2020 21:18:36 
Друг Кота

Карма: 62
Рейтинг сообщений: 750
Зарегистрирован: Пт авг 04, 2017 19:36:00
Сообщений: 5635
Откуда: постнурсултанат Боратистан
Рейтинг сообщения: 0
Предохранители на 6,3А как-то впритык при зарядных токах до 3А.
И наверное нельзя переключать ручной и автоматический режимы при включенном устройстве. Возможно переходные процессы...
Если низкий зарядный ток в обоих режимах примерно одного уровня, то это ограничено возможностями трансформатора и напряжением в сети.


Вернуться наверх
 
 Заголовок сообщения: Re: Зарядное устройство ЭЛЕКТРОНИКА УЗС-П-12-6,3 УХЛ3.1
СообщениеДобавлено: Пн июн 08, 2020 21:36:02 
Поставщик валерьянки для Кота
Аватар пользователя

Карма: 24
Рейтинг сообщений: 442
Зарегистрирован: Вс июн 03, 2012 17:23:17
Сообщений: 2206
Откуда: Москва
Рейтинг сообщения: 0
Asaba
Там, насколько я понимаю, просто выпрямитель на двух диодах (тиристорах) со средней точкой, то есть, в каждый полупериод работает только один тиристор и один предохранитель. То есть зарядные токи до 6 ампер зарядник держать должен. Собственно, он их и держит в ручном режиме, когда зарядный ток постоянный. Переключение из ручного в автомат и обратно происходит без проблем и никак не запрещается.
В автоматическом режиме зарядник подает на аккумулятор ток с паузами. То есть, я выставил, например, зарядный ток 5А и включаю автоматический режим. Зарядник некоторое время держит эти 5А, потом отрубает ток на несколько секунд (в момент отключения сгорает предохранитель), потом опять включает и т.д. по циклу.
По идее, тиристоры должны отключаться синхронно, поскольку висят оба на одном транзисторе. Может ли быть такое, что из-за разности параметров тиристоров их отключение происходит несинхронно, что вызывает какой-то бросок тока? Не знаю, как это сформулировать...


Вернуться наверх
 
 Заголовок сообщения: Re: Зарядное устройство ЭЛЕКТРОНИКА УЗС-П-12-6,3 УХЛ3.1
СообщениеДобавлено: Вт июн 09, 2020 11:29:41 
Друг Кота

Карма: 62
Рейтинг сообщений: 750
Зарегистрирован: Пт авг 04, 2017 19:36:00
Сообщений: 5635
Откуда: постнурсултанат Боратистан
Рейтинг сообщения: 0
3А - средний ток. Пиковый в 1,42 раза больше. При закрытии тиристора рвется синусоида в произвольном месте и через трансформатор проходит несимметричный импульс.
Самоиндукция и все такое... Пиковый ток еще больше и палит предохранитель. Поставьте на 10 А . Жалко что ли?. Не гвоздь все-таки :)


Вернуться наверх
 
Эиком - электронные компоненты и радиодетали
 Заголовок сообщения: Re: Зарядное устройство ЭЛЕКТРОНИКА УЗС-П-12-6,3 УХЛ3.1
СообщениеДобавлено: Вт июн 09, 2020 12:48:09 
Поставщик валерьянки для Кота
Аватар пользователя

Карма: 24
Рейтинг сообщений: 442
Зарегистрирован: Вс июн 03, 2012 17:23:17
Сообщений: 2206
Откуда: Москва
Рейтинг сообщения: 0
Это аг'хинепг'авильная постановка вопг'оса, товаг'ищи! :))
Вопрос не в том, жалко или не жалко. Мне и 20А не жалко поставить до полного выноса тиристоров. Мне просто физическую суть процесса интересно понять, и что на него может влиять.

У меня есть второй точно такой же зарядник, но другого года выпуска и, возможно, другого завода. К сожалению, сейчас он недоступен для сравнительного анализа.
Почему в брате близнеце этого девайса предохранители не выносит? Он просто работает себе уже много лет и никаких проблем, кроме высохших емкостей, в нем не было. А с этим аппаратом проблемы чуть ли не с магазина.
Влияют ли на процесс разрыва цепи конденсаторы, шунтирующие обмотки? По схеме они должны быть, а на самом деле их нет.
За счет чего меняется "постоянная времени" во время процесса зарядки? Какая цепь отвечает за то, чтобы бестоковая пауза удлинялась по мере зарядки аккумулятора?

В общем, результат закономерный. При очередном эксперименте вынесло один тиристор. :( Вопросы остаются.


Вернуться наверх
 
 Заголовок сообщения: Re: Зарядное устройство ЭЛЕКТРОНИКА УЗС-П-12-6,3 УХЛ3.1
СообщениеДобавлено: Вт июн 09, 2020 15:21:58 
Друг Кота

Карма: 62
Рейтинг сообщений: 750
Зарегистрирован: Пт авг 04, 2017 19:36:00
Сообщений: 5635
Откуда: постнурсултанат Боратистан
Рейтинг сообщения: 0
Аноды развязывающих диодов VD7, VD8 перемкнуты, балластные резисторы общие. А тиристоры могут иметь сильно разное напряжение включение управляющего электрода. В результате более чувствительный откроется, а для второго не хватит напряжения. Получится однополупериодное выпрямление. Сердечник трансформатора подмагнитится постоянным током...и отсюда траблы.
На мой взгляд аноды диодов надо развязать и к каждому тиристору подводить через свой диод и резистор от коллектора VT1. Туда быстрые диоды не лучше поставить?


Вернуться наверх
 
 Заголовок сообщения: Re: Зарядное устройство ЭЛЕКТРОНИКА УЗС-П-12-6,3 УХЛ3.1
СообщениеДобавлено: Вт июн 09, 2020 16:26:40 
Поставщик валерьянки для Кота
Аватар пользователя

Карма: 24
Рейтинг сообщений: 442
Зарегистрирован: Вс июн 03, 2012 17:23:17
Сообщений: 2206
Откуда: Москва
Рейтинг сообщения: 0
После допроса с пристрастием выяснилось, что я ошибся. 202-е так просто не вынесешь. Но, поскольку уже все развинтил, впаял сейчас на пробу пару 201-х, которые нашлись в хламе. Ща попробую, что будет с ними. На лампочку пока работает.

Похоже, гипотеза оказалась верна. Проблема была в разности характеристик тиристоров. На цветомузыку пойдут, а в зарядник - нет. С 201-ми все работает и в ручном, и в автоматическом режиме. Как доберусь до рынка, куплю пару одинаковых, может даже буржуйских сразу.


Вернуться наверх
 
 Заголовок сообщения: Re: Зарядное устройство ЭЛЕКТРОНИКА УЗС-П-12-6,3 УХЛ3.1
СообщениеДобавлено: Вт июн 09, 2020 17:21:01 
Друг Кота

Карма: 62
Рейтинг сообщений: 750
Зарегистрирован: Пт авг 04, 2017 19:36:00
Сообщений: 5635
Откуда: постнурсултанат Боратистан
Рейтинг сообщения: 0
Со штатными можно пробовать как я сказал. По очереди поднимать анод одного развязывающего диода и кидать от него резистор примерно на 220-270 Ом на коллектор транзистора. Ток для транзистора не смертельный. Можно поэкспериментировать с его заменой. Например на КТ814. Может там попался с маленьким усилением


Вернуться наверх
 
 Заголовок сообщения: Re: Зарядное устройство ЭЛЕКТРОНИКА УЗС-П-12-6,3 УХЛ3.1
СообщениеДобавлено: Вт июн 09, 2020 18:32:59 
Поставщик валерьянки для Кота
Аватар пользователя

Карма: 24
Рейтинг сообщений: 442
Зарегистрирован: Вс июн 03, 2012 17:23:17
Сообщений: 2206
Откуда: Москва
Рейтинг сообщения: 0
Да, наверное стоит проделать эту процедуру для уверенности. Но это когда уже будет постоянная пара тиристоров. Этим уже не доверяю. Разбежались раз, могут разбежаться и снова.


Вернуться наверх
 
 Заголовок сообщения: Re: Зарядное устройство ЭЛЕКТРОНИКА УЗС-П-12-6,3 УХЛ3.1
СообщениеДобавлено: Ср июн 10, 2020 17:08:03 
Друг Кота

Карма: 62
Рейтинг сообщений: 750
Зарегистрирован: Пт авг 04, 2017 19:36:00
Сообщений: 5635
Откуда: постнурсултанат Боратистан
Рейтинг сообщения: 0
Так весь спортивный интерес и азарт состоит в том, чтобы завести со штатными тиристорами. Они же рабочие, просто с большим технологическим разбросом оказались а схема изначально неоптимальная.


Вернуться наверх
 
 Заголовок сообщения: Re: Зарядное устройство ЭЛЕКТРОНИКА УЗС-П-12-6,3 УХЛ3.1
СообщениеДобавлено: Ср июн 10, 2020 19:09:52 
Поставщик валерьянки для Кота
Аватар пользователя

Карма: 24
Рейтинг сообщений: 442
Зарегистрирован: Вс июн 03, 2012 17:23:17
Сообщений: 2206
Откуда: Москва
Рейтинг сообщения: 0
Я, пока искал информацию по этому заряднику, пересмотрел несколько десятков аналогичных схем. Практически везде, где используется система 2 обмотки - 2 тиристора, используется такая же схема подключения. Видимо, проще подобрать пару похожих тиристоров, чем пытаться заставить их синхронно срабатывать. Найденные в хламе 201-е с разными буквами сразу дали более устойчивый результат. В общем, с силовой частью мне все более-менее понятно. Если бы теперь кто-нибудь рассказал бы мне принцип действия схемы управления, было бы здорово. Вижу там аналог однопереходного транзистора, на которых делают простые тиристорные зарядки, но как это завязано с паузами пока не понимаю.


Вернуться наверх
 
 Заголовок сообщения: Re: Зарядное устройство ЭЛЕКТРОНИКА УЗС-П-12-6,3 УХЛ3.1
СообщениеДобавлено: Ср июн 10, 2020 20:51:47 
Друг Кота

Карма: 62
Рейтинг сообщений: 750
Зарегистрирован: Пт авг 04, 2017 19:36:00
Сообщений: 5635
Откуда: постнурсултанат Боратистан
Рейтинг сообщения: 0
При промышленном производстве селективная сборка не допускается. Устройства должны работать при полной взаимозаменяемости одинаковых деталей.
Поэтому это именно недостаток схемы. Да еще при довольно дубовых тиристорах.


Вернуться наверх
 
 Заголовок сообщения: Re: Зарядное устройство ЭЛЕКТРОНИКА УЗС-П-12-6,3 УХЛ3.1
СообщениеДобавлено: Пт янв 30, 2026 20:56:50 
Первый раз сказал Мяу!

Зарегистрирован: Вс ноя 12, 2023 10:16:29
Сообщений: 34
Рейтинг сообщения: 0
Ремонтирую аналогичный девайс, дедушка обратился...

Симптомы:
-при подключении АКБ нет индикации "Заряд" , нет тока на выходе.
- При касании базы VT3 начинается заряд с током до 0,7А, выше выставить не удается, индикатор "Заряд" - светится.
Что сделал:
- Нашел заводскую схему, которая не многим лучше того, что в сети...
https://img.radiokot.ru/files/154799/me ... 9pzjsq.png - схема
- По классике, поменял почти все электролиты, а те, что не поменял, на ESR тестере более чем пригодные по емкости, утечке и сопротивлению. Номиналы ставил заводские, игнорируя номиналы на схеме.
- выпаял и проверил отдельно каждый транзистор и диод, включая стабилитроны...
- в последствии экспериментов и казусов, выпаял и поменял абсолютно все КТ315И, и КТ361Г (которые с завода шли все Г, а не Д), менял КТ209Л на К.
- поменял Ку202Г на КУ202Н, управляющее то же, только рабочее выше.
- проверил контакты построечников R15,19 и регулировочного R16 резисторов.
- поменял стабилитрон на 22В. (Д816А)
- походу понял, что электроника сгорела к чертям, пока писал этот текст, т.к как VT1 по базе и эмиттеру имеет 20,5В, которые летят на управляющие электроды тиристоров с напряжением открытия 5-7В.... , на стабилитроне КС147А вместо 4,7В теперь те же 20, а на анод-катоде тиристоров напряжение аккумулятора, которое очень быстро высаживается...
- заменил ПСО 0.1мкФ 160В на пленку 0,1мкФ 250В, потому как на одном из форумов вычитал, что они могли влиять на напряжение с транса, человек их поменял и проблема ушла.
Самое противное, еще и плата нето на гетинаксе, не то на плохом текстолите, при паяльнике в 250-270 градусов проводники отлетают только в путь, а на плате ни одного обозначения, даже полярности электролитов...

https://img.radiokot.ru/files/154799/me ... ibg63o.jpg - соответствие схемы и платы
https://img.radiokot.ru/files/154799/me ... j1zn42.jpg - фото платы


Вернуться наверх
 
 Заголовок сообщения: Re: Зарядное устройство ЭЛЕКТРОНИКА УЗС-П-12-6,3 УХЛ3.1
СообщениеДобавлено: Пт янв 30, 2026 21:00:42 
Друг Кота
Аватар пользователя

Карма: 197
Рейтинг сообщений: 8640
Зарегистрирован: Пн ноя 30, 2009 03:00:01
Сообщений: 43574
Откуда: Нерезиновая
Рейтинг сообщения: 0
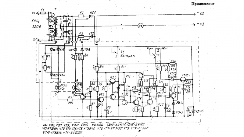
Ну, схемку вы весёленькую выложили, поправлю:
https://static.chipdip.ru/lib/318/DOC004318622.jpg
СпойлерИзображение


Вернуться наверх
 
 Заголовок сообщения: Re: Зарядное устройство ЭЛЕКТРОНИКА УЗС-П-12-6,3 УХЛ3.1
СообщениеДобавлено: Пт янв 30, 2026 21:25:18 
Электрический кот

Карма: 2
Рейтинг сообщений: 125
Зарегистрирован: Пт ноя 22, 2024 14:08:43
Сообщений: 1057
Рейтинг сообщения: 0
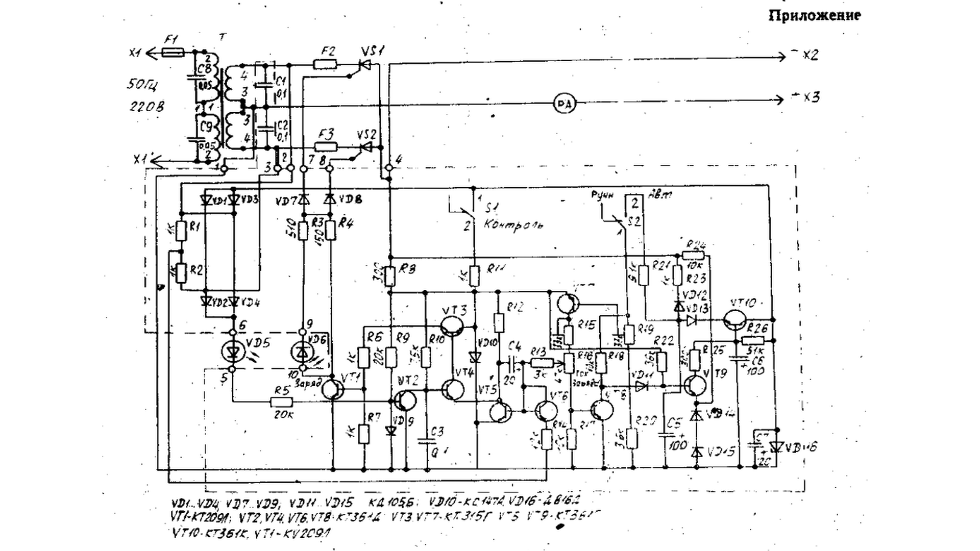
подход к ремонту, да ещё при "слабой" плате, конечно, не впечатляет....куча бесполезной работы вместо вникания в работу схемы...метод "бульдозера" - это какое-то (трудно назвать) дилетантское отношение к ремонту такого, в общем, несложного ус-ва....
Сначала надо найти место из-за которого не работает, а уж потом меняй что душе угодно....4 электролита проверить-заменить - единственное правильное и не требующее особого ума и напряжения....
вот тебе вменяемая схема, которую можешь подправить под свои реалии...
Изображение


Вернуться наверх
 
 Заголовок сообщения: Re: Зарядное устройство ЭЛЕКТРОНИКА УЗС-П-12-6,3 УХЛ3.1
СообщениеДобавлено: Пт янв 30, 2026 21:47:08 
Первый раз сказал Мяу!

Зарегистрирован: Вс ноя 12, 2023 10:16:29
Сообщений: 34
Рейтинг сообщения: 0
подход к ремонту, да ещё при "слабой" плате, конечно, не впечатляет....куча бесполезной работы вместо вникания в работу схемы...метод "бульдозера" - это какое-то (трудно назвать) дилетантское отношение к ремонту такого, в общем, несложного ус-ва....
Сначала надо найти место из-за которого не работает, а уж потом меняй что душе угодно....4 электролита проверить-заменить - единственное правильное и не требующее особого ума и напряжения....
вот тебе вменяемая схема, которую можешь подправить под свои реалии...
Изображение


Спорить не буду, просто не понимаю как это шайтан-коробка работает. Не с чем сравнить и увидеть эти самые импульсы управления. Удавалось их увидеть при заведомо неисправном VT1, когда на аккум без ограничения летело 5А и 19В. В том и сюр, я не понимаю, как должно быть правильно. Без аккумулятора в цепи увидеть / измерить параметры схема невозможно, а сейчас схема меньше чем за 2 минуты высаживает полный аккумулятор до 9,7В, при том, что на управление тиристорами летит 22В вместо 5-7. И откуда, не могу сообразить.


Вернуться наверх
 
 Заголовок сообщения: Re: Зарядное устройство ЭЛЕКТРОНИКА УЗС-П-12-6,3 УХЛ3.1
СообщениеДобавлено: Пт янв 30, 2026 22:05:01 
Электрический кот

Карма: 2
Рейтинг сообщений: 125
Зарегистрирован: Пт ноя 22, 2024 14:08:43
Сообщений: 1057
Рейтинг сообщения: 0
на УЭ идёт ток через резистор 150 Ом и от какого напряжения образуется этот ток - без разницы...
подключаешь лампочку на 24 В, замыкаешь выключатель "Контроль"" и не нужен аккум....
====
обычный фазовый регулятор - 0,1 мкФ заряжается по пиле, в эмиттере транзистора меняется опорное напряжение от интегратора (ток заряда), транзистор открывается и через усилители подаёт ток в УЭ....
-----
подстроечные резисторы установки тока надо бы измерить, не оборван ли контакт...
-----
стабилитрон на 22 В не годится (даже трудно понять и зачем там на 47 В...)))....)


Вернуться наверх
 
 Заголовок сообщения: Re: Зарядное устройство ЭЛЕКТРОНИКА УЗС-П-12-6,3 УХЛ3.1
СообщениеДобавлено: Пт янв 30, 2026 22:41:39 
Первый раз сказал Мяу!

Зарегистрирован: Вс ноя 12, 2023 10:16:29
Сообщений: 34
Рейтинг сообщения: 0
обычный фазовый регулятор - 0,1 мкФ заряжается по пиле, в эмиттере транзистора меняется опорное напряжение от интегратора (ток заряда), транзистор открывается и через усилители подаёт ток в УЭ....[/uquote]

Тут какая-то пародия на работу однопереходного транзистора, я так понял из объяснения...Но тыкаясь осциллом, я увидел пилу, но не увидел изменение напряжения на каком-либо транзисторе...VT1 Я видел пульсации достаточно большой амплитуды, но это вообще не то. Выход тиристоров вообще на переменку смахивает, а не на пульсирующее напряжение. Ничего не понимаю. Завтра продолжу...пол второго ночи..

Добавлено after 6 minutes 33 seconds:
стабилитрон на 22 В не годится (даже трудно понять и зачем там на 47 В...)))....)


Причем тут на 47? У меня на плате по заводу стоит Д816А на 22...


Вернуться наверх
 
 Заголовок сообщения: Re: Зарядное устройство ЭЛЕКТРОНИКА УЗС-П-12-6,3 УХЛ3.1
СообщениеДобавлено: Пт янв 30, 2026 22:42:28 
Электрический кот

Карма: 2
Рейтинг сообщений: 125
Зарегистрирован: Пт ноя 22, 2024 14:08:43
Сообщений: 1057
Рейтинг сообщения: 0
ZmeeLuB писал(а):
Тут какая-то пародия на работу однопереходного транзистора

да, так и есть....чем меньше напряжение на Э VT4, тем раньше должен открыться этот транзистор и своим коллекторным током открыть следующие два VT3, VT1...
-----
на схеме написано Д816Д (47 В), а не А....17 В с обмотки как бы много для стаба 22 В (резисторов нигде по пути нет)....
Изображение


Вернуться наверх
 
 Заголовок сообщения: Re: Зарядное устройство ЭЛЕКТРОНИКА УЗС-П-12-6,3 УХЛ3.1
СообщениеДобавлено: Пт янв 30, 2026 23:03:03 
Первый раз сказал Мяу!

Зарегистрирован: Вс ноя 12, 2023 10:16:29
Сообщений: 34
Рейтинг сообщения: 0
[quote="ZmeeLuB"]
-----
на схеме написано Д816Д (47 В), а не А....17 В с обмотки как бы много для стаба 22 В (резисторов нигде по пути нет)....


Я вас прекрасно понял, к чему подводите, но повторюсь, с завода стоит А, а не Д. Прямо в руках его держу д816а, который лично выпаял... Логотип завода НЭВЗ-СОЮЗ, д816А 99 год 10 месяц.
Вложение:
Комментарий к файлу: Д816А
photo_2026-01-30_23-08-22.jpg [68.51 KiB]
Скачиваний: 58

В замен него поставил Д816А с завода с логотипом пятиугольника за 76 год. Брак маркировки? Могу попробовать завтра поставить обратно, но не думаю, что изменения увижу...
К
С другой стороны, VT10 там должен стоять КТ361К на 60 Вольт КЭ, но стоит по факту Г на 35.


Вернуться наверх
 
Показать сообщения за:  Сортировать по:  Вернуться наверх
Начать новую тему Ответить на тему  [ Сообщений: 26 ]  1,  

Часовой пояс: UTC + 3 часа


Вы не можете начинать темы
Вы не можете отвечать на сообщения
Вы не можете редактировать свои сообщения
Вы не можете удалять свои сообщения
Вы не можете добавлять вложения

Найти:
Перейти:  


Powered by phpBB © 2000, 2002, 2005, 2007 phpBB Group
Русская поддержка phpBB
Extended by Karma MOD © 2007—2012 m157y
Extended by Topic Tags MOD © 2012 m157y