| Форум РадиоКот https://radiokot.ru/forum/ |
|
| Управление дпм сверлильного станка https://radiokot.ru/forum/viewtopic.php?f=25&t=132277 |
Страница 1 из 4 |
| Автор: | boris911 [ Пт июн 10, 2016 01:44:59 ] |
| Заголовок сообщения: | Управление дпм сверлильного станка |
По статье http://radiokot.ru/circuit/digital/automat/97/ Вопросы, замечания и предложения пишем здесь. |
|
| Автор: | Viktor34253 [ Ср июл 13, 2016 18:27:27 ] |
| Заголовок сообщения: | Re: Управление дпм сверлильного станка |
Очень нужная и полезная ваша схема повторил ее все работает только энкодера у меня нет поэтому поменять уставки не могу. Если есть возможность поправить программку вместо энкодера подключить кнопки, энкодер это слишком жирно для того чтобы один раз настроить уставки . С уважением автору жду ответа. |
|
| Автор: | boris911 [ Пн окт 10, 2016 11:50:57 ] | ||||
| Заголовок сообщения: | Re: Управление дпм сверлильного станка | ||||
Добавлены прошивки для следующих вариантов: - Вместо энкодера две кнопки (одними концами на выводы МК 27 и 28, другими на корпус), для частоты кварца 8 и 16 МГц. Нажатие одной увеличивает значение, другой - уменьшает. - С энкодером на частоту 8 МГц. Все прошивки проверены.
|
|||||
| Автор: | Valeriy L [ Ср окт 26, 2016 16:15:31 ] |
| Заголовок сообщения: | Re: Управление дпм сверлильного станка |
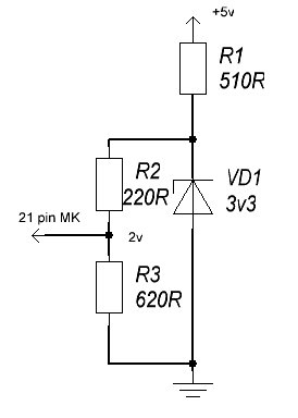
Вопрос к автору и к тем кто повторил это устройство. На 21 выводе МК стоит стабилитрон 2 вольта , такой не когда не встречал. Что его заменить? |
|
| Автор: | boris911 [ Ср окт 26, 2016 20:21:29 ] |
| Заголовок сообщения: | Re: Управление дпм сверлильного станка |
Valeriy L писал(а): Вопрос к автору и к тем кто повторил это устройство. На 21 выводе МК стоит стабилитрон 2 вольта , такой не когда не встречал. Что его заменить? Стабилитрон импортный (стоит копейки в любом радиоларьке). Ну и схема как бы собрана не на советской микросхеме. Можете попробовать заменить на ближайший КС119, с Uстаб=1.9В (http://gete.ru/post_1178825954.html). Только у него разброс большой, как повезет. На что это повлияет? На фактическое значение тока, не равному отображаемому на дисплее. АЦП МК 10 разрядный, т.е. из 2 В опорного напряжения мы получаем квант в 2/1024=1,95 мВ. Если вы измените опорное напряжение, соответственно, изменится напряжение кванта. Будет опора больше - будет фактический ток больше. И наоборот. |
|
| Автор: | Valeriy L [ Чт окт 27, 2016 06:59:36 ] |
| Заголовок сообщения: | Re: Управление дпм сверлильного станка |
Спасибо за разъяснения. КС119 у меня есть, но он огромных размеров как 814. Маркировку не подскажешь импортного стабилитрона, я не разу не встречал на 2 вольта. Отображение тока не самое главное. Сделал несколько плат на аналоговых компонентах, и не одна не удовлетворила меня. Главная проблема пульсации при переходе с малых оборотах на большие, и слишком рано переход с больших оборотов на малые. То-есть просверлил отверстие и обороты сразу упали на малые, а желательно что-бы они падали после того как вытащил сверло из платы, то-есть с задержкой. |
|
| Автор: | boris911 [ Чт окт 27, 2016 14:11:42 ] |
| Заголовок сообщения: | Re: Управление дпм сверлильного станка |
Valeriy L писал(а): Спасибо за разъяснения. КС119 у меня есть, но он огромных размеров как 814. Маркировку не подскажешь импортного стабилитрона, я не разу не встречал на 2 вольта. http://www.kosmodrom.com.ua/el.php?name=BZX55C2V0 Valeriy L писал(а): Отображение тока не самое главное. А как настраивать режимы без индикатора? Valeriy L писал(а): Сделал несколько плат на аналоговых компонентах, и не одна не удовлетворила меня. Главная проблема пульсации при переходе с малых оборотах на большие, и слишком рано переход с больших оборотов на малые. То-есть просверлил отверстие и обороты сразу упали на малые, а желательно что-бы они падали после того как вытащил сверло из платы, то-есть с задержкой. Аналогично, но я даже и делать аналоговые не стал, было понятно, что четкой работы не добиться, особенно на разных движках. Поэтому и сделал эту. |
|
| Автор: | Valeriy L [ Чт окт 27, 2016 16:22:58 ] |
| Заголовок сообщения: | Re: Управление дпм сверлильного станка |
Попробую поискать, но уверенности нет что найду. Пока на плате предусмотрел резистивный делитель, попробую подогнать им если стабилитрон не найду. Сегодня распечатал плату, завтра сделаю и начну паять. Движки менять не собираюсь, сверлю свёрлами ЧПУ. Поэтому под один двигатель настрою и всё. |
|
| Автор: | Valeriy L [ Пн окт 31, 2016 09:36:48 ] | |||
| Заголовок сообщения: | Re: Управление дпм сверлильного станка | |||
Что-то не пошёл регулятор. Прошил прошивкой на 16 мГц, под кнопки. При включении выдаёт 3 чёрточки, то-есть заклинивание вала. Проверил ЭД на ток, при полной нагрузке. ДПМ-35-Н1-05 это основная сверлилка. Ток потребления при включении I пусковой 800 мА и номинальный 250 мА, это при 6 вольтах. Ниже выложу таблицу. При 20 вольтах ток пусковой 2.8А и номинальный 400 мА. На этом режиме я работаю. Попробовал другой ЭД на 27 вольт подавал 20 вольт, при 25 вольтах сильно быстро крутиться и долго набирает обороты. Ток при старте 1.5А и рабочий 0.5 А. При любом двигателе показывает 3 чёрточки. Измерительный резистор соединён с МК через перемычку, вместо перемычки подключил переменный резистор,подумал что при большом токе сигнал слишком большой, отрегулирую пока переменным. Но это не помогло. Всё равно три чёрточки высвечивает. Убрал связь с МК всё равно чёрточки. Плату промыл, проверил, вроде всё так как нужно, но не работает. Добавлено after 1 hour 15 minutes 47 seconds: Нашёл причину. Банальная невнимательность, поставил диод параллельно ЭД да наоборот. С кнопками разобрался. I3 догнал до 999 и всё равно срабатывает зашита , КН1 жать приходиться. Кнопки желательно сделать нажал и показания меняются. Можно эту защиту убрать? Всё равно при малых диаметрах сверла она не эффективна и можно только сломать сверло. Добавлено after 2 hours 5 minutes 31 second: И ещё чувствительность слабая, пол текстолита на малых просверлишь потом обороты повышаются.. Сверлом 0,5 навряд-ли просверлишь сломаешь. Понимаю что могут возникнуть качели но увеличить нужно.
|
||||
| Автор: | boris911 [ Пт ноя 04, 2016 21:36:34 ] |
| Заголовок сообщения: | Re: Управление дпм сверлильного станка |
Valeriy L писал(а): ... Для схемы напряжение не имеет значение, меряется ток. Максимальный измеряемый - 2 А, ограничивается стабилитроном на опорном напряжении. Максимально допустимый - 5 А, при большем напряжение на входе АЦП превысит допустимое для МК. Поскольку разрядов индикатора 3, то при увеличении тока защиты больше 999 мА единичку надо держать в уме. Защита не срабатывает, если измеряемый ток меньше выставленного (до 2 А). Честно говоря, на такие прожорливые движки я не рассчитывал схему. Как вариант, можно параллельно измерительному резистору поставить кнопку. Перед пуском её нажать и держать до выхода Д на рабочий режим. Если в рабочем режиме ток в пределах измерений - схема должна работать. Чтобы случайно не спалить вход МК при чрезмерных значениях тока (пускового или в момент клина), нужно поставить на него стабилитрон 5 В. По поводу кнопок. Именно поэтому ставил энкодер. В принципе можно сделать и так, как вы хотите, но надо переделывать прогу, сейчас немного занят, сделаю позже, ок? Насчет отключения защиты. Можно, конечно. Но это имеет смысл (впрочем, как и вся схема Есть один нюанс. В момент перехода от холостого хода на максимальные обороты ток потребления сильно возрастает и может превысить ток защиты. Для этого ток защиты измеряется не сразу, а через 5 мс после активации режима работы. И не понял насчет чувствительности. |
|
| Автор: | Valeriy L [ Вс ноя 06, 2016 08:02:25 ] |
| Заголовок сообщения: | Re: Управление дпм сверлильного станка |
Насчёт того что можно до 2 А настроить не знал. Настроил на 2А зашита не срабатывает, хоть это обнадёжило что так заработало. Первое неудобство что-бы настроить на 2А приходиться жать 2000 раз что неудобно, нужно сделать что-бы нажал и показания менялись. Второе нужно сильно затараторить патрон что-бы перешёл на высокие обороты. Пробовал I1 сделать меньше чем показания. у меня на индикаторе где-то 220 мА а установил 150 мА, вроде должен на полную закрутиться а он так и крутиться на холостых, и показания 220 мА. Сделал настройку I3 2А, I2-300 мА, I1- 210 мА. Работает но патрон нужно притормозить сильно что-бы перешёл на большие обороты. Как настроить что-бы прикоснулся слегка и был переход на большие обороты? |
|
| Автор: | boris911 [ Вс ноя 06, 2016 17:15:18 ] | |||
| Заголовок сообщения: | Re: Управление дпм сверлильного станка | |||
Обновил прошивки. Для вариантов с кнопками: 1. В режиме установки значений тока короткое нажатие кнопок + и - увеличивает или уменьшает значение на 1. При удержании кнопки более 0.5 секунды значение автоматически быстро изменяется. 2. Для компенсации отсутствия четвертого разряда индикатора при значениях тока больше 999 мА можно подключить светодиод на вывод 26 (анод на вывод, катод на резистор 510 Ом, второй вывод резистора на корпус). Свечение светодиода будет означать единицу в четвертом разряде числа. Добавлено after 7 minutes 12 seconds: Valeriy L писал(а): Первое неудобство что-бы настроить на 2А приходиться жать 2000 раз что неудобно, нужно сделать что-бы нажал и показания менялись. Сделано. Valeriy L писал(а): Второе нужно сильно затараторить патрон что-бы перешёл на высокие обороты. Пробовал I1 сделать меньше чем показания. у меня на индикаторе где-то 220 мА а установил 150 мА, вроде должен на полную закрутиться а он так и крутиться на холостых, и показания 220 мА. Сделал настройку I3 2А, I2-300 мА, I1- 210 мА. Работает но патрон нужно притормозить сильно что-бы перешёл на большие обороты. Как настроить что-бы прикоснулся слегка и был переход на большие обороты? А вы с логикой работы схемы хорошо разобрались? Ведь для того и сделана настройка на любое значение тока. Зафиксируйте ток движка без нагрузки - Ixx. Он будет немного плавать в некоторых пределах. Установите значение тока I1 на 10-20 мА больше Iхх. Чем меньше разница между I1 и Ixx - тем чувствительнее будет ваш движок. Главное тут - не попасть в диапазон на холостом ходу. Даже если просто повернуть движок горизонтально - уже ток меняется, и порой значительно, зависит от состояния подшипников вашего движка.
|
||||
| Автор: | marayg [ Вс ноя 06, 2016 18:24:37 ] |
| Заголовок сообщения: | Re: Управление дпм сверлильного станка |
Здравствуйте, подскажите какой энкодер следует использовать? |
|
| Автор: | boris911 [ Вс ноя 06, 2016 19:03:19 ] |
| Заголовок сообщения: | Re: Управление дпм сверлильного станка |
marayg писал(а): Здравствуйте, подскажите какой энкодер следует использовать? Да любой, в общем-то, самый дешевый, можно даже поставить две простые кнопки. |
|
| Автор: | Valeriy L [ Пн ноя 07, 2016 06:35:15 ] | ||
| Заголовок сообщения: | Re: Управление дпм сверлильного станка | ||
Перепрошил МК с кнопками сейчас всё отлично. Сейчас пытаюсь поймать кнопками тот вариант с холостого на старт полные обороты. На сделанную плату светодиод поставить не получиться. Я МК поставил в панельку и раз эти ножки не-использовались убрал их с панельки и провёл там дорожки. Два вольта добыл так, может найду на 2 вольта стабилитрон потом заменю.
|
|||
| Автор: | boris911 [ Пн ноя 07, 2016 09:51:05 ] |
| Заголовок сообщения: | Re: Управление дпм сверлильного станка |
Valeriy L Кстати, заметил такую особенность - если выставить ток защиты 1999, то защита не будет работать. |
|
| Автор: | Valeriy L [ Пн ноя 07, 2016 16:50:58 ] |
| Заголовок сообщения: | Re: Управление дпм сверлильного станка |
Вроде отрегулировал. I1-0.195A; I2-0.255A; I3-1.975A. Насчёт защиты понял. Ещё такой момент, после длительного простоя если сразу включить, включается на маленькие, потом на большие, и так три раза потом приходит в норму. Подозреваю что происходит разогрев подшипников, нужно будет разобрать двигатель и сменить смазку. Добавлено after 6 hours 40 minutes 39 seconds: Помыл подшипники и стало совсем плохо, лучше-бы не мыл. Выставляю ток I1_ХХ 200 мА потом I2_250 мА ток I3 выставил 1.980 что-бы защита не срабатывала и не мешала. Двигатель вращается на I1_ХХ затормаживаю вал двигатель переходит на большие обороты и так и работает на больших, на ХХ не возвращается. Чтобы сам начал возвращаться на приходится на ХХ приходиться ставить ток I2 400 мА тогда теряется чувствительность. Что делаю не так? |
|
| Автор: | boris911 [ Пн ноя 07, 2016 17:08:09 ] |
| Заголовок сообщения: | Re: Управление дпм сверлильного станка |
Valeriy L писал(а): Вроде отрегулировал. I1-0.195A; I2-0.255A; I3-1.975A. Насчёт защиты понял. Ещё такой момент, после длительного простоя если сразу включить, включается на маленькие, потом на большие, и так три раза потом приходит в норму. Подозреваю что происходит разогрев подшипников, нужно будет разобрать двигатель и сменить смазку. Добавлено after 6 hours 40 minutes 39 seconds: Помыл подшипники и стало совсем плохо, лучше-бы не мыл. Выставляю ток I1_ХХ 200 мА потом I2_250 мА ток I3 выставил 1.980 что-бы защита не срабатывала и не мешала. Двигатель вращается на I1_ХХ затормаживаю вал двигатель переходит на большие обороты и так и работает на больших, на ХХ не возвращается. Чтобы сам начал возвращаться на приходится на ХХ приходиться ставить ток I2 400 мА тогда теряется чувствительность. Что делаю не так? 1. I2 должен быть меньше I1. 2. Защита при 1980 должна срабатывать. Только при значениях 1996...1999 она не включается. 3. Смазать жидким маслом подшипники? 4. Какое питание подается на движок - 6 В или 20 В? |
|
| Автор: | Valeriy L [ Пн ноя 07, 2016 18:01:11 ] |
| Заголовок сообщения: | Re: Управление дпм сверлильного станка |
Если я сделаю что I2 будет меньше чем I1 то затормаживаю вал ЭД почти до остановки но перехода на большие обороты не происходит. Смазал жидким маслом. Питание на ЭД подаю 18 вольт. |
|
| Автор: | boris911 [ Пн ноя 07, 2016 18:12:33 ] |
| Заголовок сообщения: | Re: Управление дпм сверлильного станка |
Valeriy L А какой у вас стабилитрон VD3, на сколько вольт? |
|
| Страница 1 из 4 | Часовой пояс: UTC + 3 часа |
| Powered by phpBB © 2000, 2002, 2005, 2007 phpBB Group http://www.phpbb.com/ |
|


