Например TDA7294

Форум РадиоКот • Просмотр темы - Плата управления кухонного комбайна ЭНЕРГИЯ КП 1581Е-100
Форум РадиоКот
Здесь можно немножко помяукать :)

Текущее время: Вт фев 24, 2026 04:45:09

Часовой пояс: UTC + 3 часа


ПРЯМО СЕЙЧАС:



Начать новую тему Ответить на тему  [ Сообщений: 12 ] 
Автор Сообщение
 Заголовок сообщения: Плата управления кухонного комбайна ЭНЕРГИЯ КП 1581Е-100
СообщениеДобавлено: Сб янв 03, 2026 11:17:22 
Встал на лапы

Зарегистрирован: Вс ноя 25, 2018 11:38:27
Сообщений: 81
Рейтинг сообщения: 0
Всех с наступившим Новым годом!

Человек обратился с просьбой воскресить его кухонный комбайн отечественного производства ЭНЕРГИЯ КП 1581Е-100, у которого сгорели некоторые компоненты на плате.

Изображение

Проблема в том, что часть из них компоненты не удается идентифицировать (обведенные кружком):

Изображение

В частности резистор R4 с обгоревшим корпусом, конденсатор C1 с неизвестным номиналом, и некий компонент в корпусе SOT-23 и обозначением VS2 - интуитивно это должен быть динистор, однако динисторов с такой распиновкой и с таким корпусом я не нашёл.

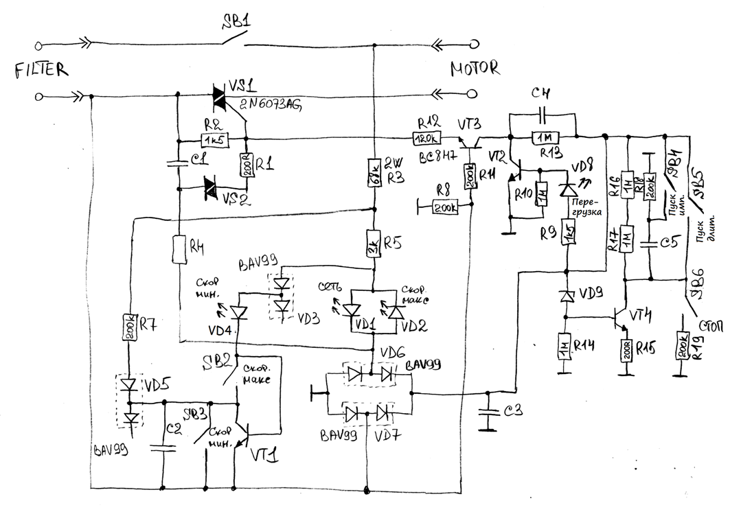
Для того, чтобы разобраться я даже накидал схему:

Изображение

Однако это не совсем помогло, потому что я абсолютно не смог разобраться что там наворотили разработчики, и принцип её работы для меня совершенно не понятен... Проверял схему 3 раза - все прозванивается в точности как нарисовал.

Сгорели следующие компоненты:

Изображение

Изображение

По данному комбайну в интернете нет почти никакой информации, и естественно ни заводской схемы, ни даже инструкции нигде нет. Единственное что я нашёл это эту статью: https://otzovik.com/review_1628479.html

У конденсатора С1 замеренная ёмкость составила 44 нФ, что скорее указывает на исправность конденсатора, т.к. он явно не пробит и явно не в обрыве. У компонента VS2 емкость между выводами в одну сторону 5 пФ в другую 7 пФ, в принципе его можно было бы заменить на обычный выводной динистор в корпусе DO-35, если бы знать, что это точно динистор. На его корпусе вообще никакой маркировки нет. По поводу резистора R4 вообще никаких вариантов нет.

Как думаете стоит ли дальше заморачиваться с ремонтом? Можно ли как-то точно определить номинал резистора R4? Может у кого-то есть этот комбайн или плата от него? Спасибо.


Вложения:
IMG_20251219_141510.jpg [253.87 KiB]
Скачиваний: 362
ПОЛОМКИ.png [246.28 KiB]
Скачиваний: 361
СХЕМА.png [191.13 KiB]
Скачиваний: 377
IMG_20251216_155709.jpg [233.71 KiB]
Скачиваний: 369
27914584_b.jpg [67.21 KiB]
Скачиваний: 360
Вернуться наверх
 
 Заголовок сообщения: Re: Плата управления кухонного комбайна ЭНЕРГИЯ КП 1581Е-100
СообщениеДобавлено: Сб янв 03, 2026 11:31:51 
Друг Кота
Аватар пользователя

Карма: 107
Рейтинг сообщений: 3331
Зарегистрирован: Сб фев 11, 2017 15:59:13
Сообщений: 14932
Откуда: 57 RUS
Рейтинг сообщения: 0
Как думаете стоит ли дальше заморачиваться с ремонтом?

В первую очередь нужно убедиться в работоспособности двигателя и механики.
А управление можно реализовать самодельное, управление скоростью движка допусти на китайском диммере с того же Озона, стоят они недорого.

_________________
НАРОДОВЛАСТИЕ а не кланово-олигархическая дерьмократия!!!
Цифровому рабству, навязываемому цифровым олигархатом - НЕТ!


Вернуться наверх
 
 Заголовок сообщения: Re: Плата управления кухонного комбайна ЭНЕРГИЯ КП 1581Е-100
СообщениеДобавлено: Сб янв 03, 2026 12:03:58 
Встал на лапы

Зарегистрирован: Вс ноя 25, 2018 11:38:27
Сообщений: 81
Рейтинг сообщения: 0
Как думаете стоит ли дальше заморачиваться с ремонтом?

В первую очередь нужно убедиться в работоспособности двигателя и механики.

Двигатель напрямую подключал, работает нормально, потребление на ХХ около 135 Ватт. Шкив и ремень в норме, все вращается без проблем.
freebits писал(а):
А управление можно реализовать самодельное, управление скоростью движка допусти на китайском диммере с того же Озона, стоят они недорого.

Хотелось бы обойтись минимальными переделками, т.е. панель и кнопки я думаю должны остаться, по крайней мере Пуск, Стоп, индикаторы тоже думаю нужны будут - Сеть и Перегрузка. Даже не представляю как с минимальными затратами кнопки и индикаторы срастить с обычным китайским диммером. Чтобы сделать цивильно придётся много изобретать. Вряд ли это экономически целесообразно. Цена выйдет за рамки рентабельности. Поскольку и так уже убито много времени, думаю единственный приемлемый вариант - это восстановить родную плату.


Вернуться наверх
 
 Заголовок сообщения: Re: Плата управления кухонного комбайна ЭНЕРГИЯ КП 1581Е-100
СообщениеДобавлено: Сб янв 03, 2026 20:09:25 
Первый раз сказал Мяу!

Зарегистрирован: Вс июл 28, 2019 20:00:57
Сообщений: 26
Рейтинг сообщения: 0
Динистор это ...
https://www.chipdip.ru/product/smdb3-di ... 8758888070


Вернуться наверх
 
Эиком - электронные компоненты и радиодетали
 Заголовок сообщения: Re: Плата управления кухонного комбайна ЭНЕРГИЯ КП 1581Е-100
СообщениеДобавлено: Вс янв 04, 2026 17:14:32 
Встал на лапы

Зарегистрирован: Вс ноя 25, 2018 11:38:27
Сообщений: 81
Рейтинг сообщения: 0


Да, я знаю что есть динисторы в корпусе SOT-23, но у всех и конкретно у того, который по вашей ссылке распиновка другая. У того, который на плате катоды получаются на ногах 1 и 3, а 2-я нога не задействована, а у того, который по ссылке наоборот - написано, что 1 и 3 нога должны быть закорочены вместе. Я поэтому и написал, что не нашел в корпусе SOT-23 именно с нужной распиновкой.


Вернуться наверх
 
 Заголовок сообщения: Re: Плата управления кухонного комбайна ЭНЕРГИЯ КП 1581Е-100
СообщениеДобавлено: Вс янв 04, 2026 19:01:46 
Друг Кота
Аватар пользователя

Карма: 59
Рейтинг сообщений: 2246
Зарегистрирован: Чт янв 26, 2012 16:44:29
Сообщений: 19920
Откуда: Таксимо
Рейтинг сообщения: 0
Ну возьми db9 двухвыводный например. Имхо там чтото такое и стояло

_________________
Мои поставщики запчастей с отличной репутацией
texnomag.ru
radioremont.com
pl-1.org
4ip.info
elitan.ru


Вернуться наверх
 
 Заголовок сообщения: Re: Плата управления кухонного комбайна ЭНЕРГИЯ КП 1581Е-100
СообщениеДобавлено: Ср янв 07, 2026 08:54:43 
Встал на лапы

Зарегистрирован: Вс ноя 25, 2018 11:38:27
Сообщений: 81
Рейтинг сообщения: 0
В общем перепробовал все возможные способы выяснить номиналы интересующих меня компонентов - и, к сожалению, ни один не увенчался успехом.

Пробовал на Ютубе искать разборку подобного агрегата, и даже нашел одно такое видео:

https://www.youtube.com/watch?v=8iZE_mSeIS0



Но к сожалению компоненты на столько мелкие, что рассмотреть их номинал на видео не представляется возможным:

Изображение

Изображение

Пробовал производить поиск по фото в яндексе и гугле, при этом нашел еще два сайта, где есть фото платы:

https://monitor.espec.ws/section18/topic265606.html

https://thyristor.ru/electro/kk1.html

Однако, мало того что там аналогично нельзя разобрать маркировку компонентов, так и вообще во всех трёх случаях другая модификация платы. Она немного отличается от той, которая у меня - если отследить дорожки, то в ней отсутствует как раз резистор R4 и дорожка напрямую идет на светодиоды "сеть" и "скорость макс":

Изображение

Изображение

Пробовал на Авито искать в разборе аналогичный комбайн, но ни одного не нашел с хотя бы такой же панелью. Нашел только одно объявление комбайна, но он советского образца, с фиксирующимися кнопками:

https://www.avito.ru/korolev/bytovaya_t ... 3479009310

Т.е. данный комбайн и так редкое явление, так и еще с той платой, которая мне нужна встречается практически никогда.

Также ранее, недели 2-3 назад написал в сервисную службу самого завода-изготовителя "Энергия", но они, увы, ничего не ответили:

https://www.energia-c.ru/support/

Ну и на форуме, тоже не удалось выяснить номинал резистора R4.

В итоге, мной перепробованы все варианты выяснить номиналы компонентов, чтобы восстановить комбайн "по заводу". Самодельные, не заводские решения, это уже не ко мне.

Подожду еще пару недель, если за это время никто располагающий аналогичной платой не откликнется, буду выдавать без ремонта.

Всем спасибо за ответы!

Добавлено after 21 minute 41 second:
А вот нашел еще одну тему на данном форуме:

https://www.radiokot.ru/forum/viewtopic ... x518996608

И в ней есть более детализованное фото платы, но опять-таки другой модификации :( :

Изображение


Вложения:
zl2_copy.jpg [10.55 KiB]
Скачиваний: 228
sam_0331_cr_125.jpg [83.9 KiB]
Скачиваний: 246
Screenshot_2026-01-06-17-33-18-690_com.google.android.youtube.jpg [229.85 KiB]
Скачиваний: 239
Screenshot_2026-01-06-17-31-49-165_com.google.android.youtube.jpg [217.44 KiB]
Скачиваний: 236
Вернуться наверх
 
 Заголовок сообщения: Re: Плата управления кухонного комбайна ЭНЕРГИЯ КП 1581Е-100
СообщениеДобавлено: Ср янв 07, 2026 12:44:50 
Друг Кота
Аватар пользователя

Карма: 50
Рейтинг сообщений: 763
Зарегистрирован: Чт дек 29, 2005 00:18:30
Сообщений: 6600
Откуда: Москва
Рейтинг сообщения: 0
По приведённой выше (рисованной) схеме вообще мне лично не понятно как там может работать схема если кнопки без фиксации. Что запоминает режимы или их надо постоянно нажимать (удерживать) для включения режима например максимальной скорости.

_________________
Ничто так не укрепляет взаимное доверие, как 100% предоплата! Дмитрий, ex-RK3AOR.


Вернуться наверх
 
 Заголовок сообщения: Re: Плата управления кухонного комбайна ЭНЕРГИЯ КП 1581Е-100
СообщениеДобавлено: Чт янв 08, 2026 11:46:37 
Встал на лапы

Зарегистрирован: Вс ноя 25, 2018 11:38:27
Сообщений: 81
Рейтинг сообщения: 0
По приведённой выше (рисованной) схеме вообще мне лично не понятно как там может работать схема если кнопки без фиксации. Что запоминает режимы или их надо постоянно нажимать (удерживать) для включения режима например максимальной скорости.


Аналогично, пытался анализировать и разбираться. Создается впечатление, что где-то есть ошибка, где-то что-то не дорисовано - но проверял все тщательно 3 раза, вызванивал связь каждого элемента с другими по схеме, проверял все дорожки от каждого элемента - ошибок так и не выявил.

Пытался также искать какие-то подобные схемы и решения, ничего подобного не нашел. Фиксацию можно реализовать по триггерной схеме, это как бы классический вариант. Но тут какое-то совершенно другое решение.

Насколько я понял, исходя из наличия кнопки "Стоп", запуск двигателя осуществляется коротким нажатием кнопки "Пуск длит.", а останавливается нажатием кнопки "Стоп". Скорость меняется коротким нажатием "Скорость макс." и "Скорость мин.". При этом естественно режим скорости точно так же должен фиксироваться.

Добавлено after 47 minutes 7 seconds:
Схема основана на классическом симисторном фазо-импульсном регуляторе (диммере) - конденсатор С1 заряжается через цепь резисторов, а когда напряжение на нем достигает порога пробоя динистора, он разряжается через динистор отпирая симистор. При этом от величины сопротивлений будет зависеть скорость заряда конденсатора, а от скорости заряда будет зависеть величина фазового сдвига управляющего импульса, и "скважность" полуволн питающего напряжения.

Путь заряда конденсатора С1 пролегает через резистор R4, светодиоды VD1 и VD2, и резисторы R5 и R3. При этом, регулировка скорости заряда по идее должна осуществляться через шунтирование одного из этих резисторов, в частности резистора R5. Но по схеме там какая-то белиберда получается.

Добавлено after 1 hour 28 minutes 53 seconds:
По всей видимости, через диодный мост VD6-VD7, транзистор VT3 и резистор R12 подается постоянный принудительный отпирающий потенциал на управляющий электрод симистора, что отражает максимальную скорость (мощность), а исключение неким образом этого потенциала должно задействовать стандартную цепь диммера на динисторе, что должно приводить к снижению мощности. Но при этом еще должен соблюдаться принцип, при котором в начальный момент времени, после подачи сети, схема должна быть "выключена" и запускаться по кнопке "Пуск"..


Вернуться наверх
 
 Заголовок сообщения: Re: Плата управления кухонного комбайна ЭНЕРГИЯ КП 1581Е-100
СообщениеДобавлено: Пт янв 09, 2026 13:00:53 
Встал на лапы

Зарегистрирован: Вс ноя 25, 2018 11:38:27
Сообщений: 81
Рейтинг сообщения: 0
В общем от делать нечего решил воспроизвести схему в Proteus, в полном соответствии всех компонентов (кроме симистора и резистора R4), в т.ч. полностью совпадают номиналы конденсаторов, стабилитронов, диодных сборок и транзисторов:

Изображение

Ожидаемо схема не заработала как должна была, чудо не произошло :)) На нагрузке почти полная синусоида, на плюсовом выходе диодного моста синяя осциллограмма. Нажатие кнопок абсолютно не меняет что-либо на осциллограммах...

Изображение

И тут два варианта: либо Proteus не способен корректно выдать результат, либо в схеме есть ошибки..

Добавлено after 5 minutes 54 seconds:
Мало того, если убрать все компоненты, а оставить только VS1, VS2, C1, R1, R2, R3, R4, R5 и светодиоды VD1, VD2,то осциллограмма на нагрузке будет почти такой же - пробел в начале полуволн будет чуть больше, на пару миллиметров)


Вложения:
SIM.zip [216.37 KiB]
Скачиваний: 22
OSC.png [117.71 KiB]
Скачиваний: 138
SIM.png [41.27 KiB]
Скачиваний: 149
Вернуться наверх
 
 Заголовок сообщения: Re: Плата управления кухонного комбайна ЭНЕРГИЯ КП 1581Е-100
СообщениеДобавлено: Пт янв 09, 2026 13:04:03 
Электрический кот

Карма: 2
Рейтинг сообщений: 121
Зарегистрирован: Пт ноя 22, 2024 14:08:43
Сообщений: 1010
Рейтинг сообщения: 0
симистор на схеме правильно нарисован или как удобнее было ?
R2 1К8 открывает его...(хотя понять идею схемы не получилось)


Вернуться наверх
 
 Заголовок сообщения: Re: Плата управления кухонного комбайна ЭНЕРГИЯ КП 1581Е-100
СообщениеДобавлено: Пт янв 09, 2026 14:02:32 
Встал на лапы

Зарегистрирован: Вс ноя 25, 2018 11:38:27
Сообщений: 81
Рейтинг сообщения: 0
симистор на схеме правильно нарисован или как удобнее было ?
R2 1К8 открывает его...(хотя понять идею схемы не получилось)


Перевернул, да теперь он все время закрыт, хмм :roll: Но кнопки ни на что не влияют все-равно :))

Добавлено after 52 minutes 36 seconds:
В общем я неправильно воткнул симистор, Krismi70, спасибо за подсказку, должно быть естественно так:

Изображение

Изображение

После правильного подключения, на управляющем электроде относительно электрода T1 отсутствуют какие-либо управляющие импульсы. Теперь буду разбираться откуда они должны появиться))


Вложения:
simistor-view.png [1.17 KiB]
Скачиваний: 118
SIM.png [50.91 KiB]
Скачиваний: 114
Вернуться наверх
 
Показать сообщения за:  Сортировать по:  Вернуться наверх
Начать новую тему Ответить на тему  [ Сообщений: 12 ] 

Часовой пояс: UTC + 3 часа


Вы не можете начинать темы
Вы не можете отвечать на сообщения
Вы не можете редактировать свои сообщения
Вы не можете удалять свои сообщения
Вы не можете добавлять вложения

Найти:
Перейти:  


Powered by phpBB © 2000, 2002, 2005, 2007 phpBB Group
Русская поддержка phpBB
Extended by Karma MOD © 2007—2012 m157y
Extended by Topic Tags MOD © 2012 m157y