Например TDA7294

Форум РадиоКот • Просмотр темы - Карманный осциллограф на STM32
Форум РадиоКот
Здесь можно немножко помяукать :)

Текущее время: Ср фев 18, 2026 13:15:16

Часовой пояс: UTC + 3 часа


ПРЯМО СЕЙЧАС:



Начать новую тему Ответить на тему  [ Сообщений: 6388 ]    , , , , 5, , , ...  
Автор Сообщение
Не в сети
 Заголовок сообщения: Re: Карманный осциллограф на STM32
СообщениеДобавлено: Пт сен 02, 2016 18:10:23 
Поставщик валерьянки для Кота
Аватар пользователя

Карма: 31
Рейтинг сообщений: 281
Зарегистрирован: Вт окт 23, 2012 18:36:14
Сообщений: 2040
Откуда: Ростов-на-Дону
Рейтинг сообщения: 0
scorpi_0n писал(а):
А что там разбираться? У ДМА есть такой па раметр как латентность. У разных МК она разная.
Почитайте сообщения выше и узнаете в чем разбирались, семейство оговаривалось stm32f1xx. у Вас есть конкретное значение из даташита "латентности" или просто поговорить пришли? нет тогда к чему этот вброс? На текущий момент выяснено:
1. у stm32f0xx 5 тактов на мем то мем проверено людьми
2. у stm32f1xx 9 тактов на мем то мем, проверено мною в том числе
3. у stm32f3xx 4 тактов на мем то мем, хз придут проверю, пока не ясно, интересно, т.к. серия 303 хорошо для осликов подходит.
4. у stm32f4xx 4 тактов на мем то мем, проверено людьми, в принципе, МК есть можно перепроверить. И интерфейс камеры нужно проверить.

_________________
GFXscope :roll: uRLC :roll: nRLC :roll:


Вернуться наверх
 
Не в сети
 Заголовок сообщения: Re: Карманный осциллограф на STM32
СообщениеДобавлено: Пт сен 02, 2016 18:58:19 
Вымогатель припоя
Аватар пользователя

Карма: 3
Рейтинг сообщений: 253
Зарегистрирован: Вт июн 25, 2013 18:45:07
Сообщений: 606
Рейтинг сообщения: 0
Очень полезная информация. А главное ни в одном даташите нет этих данных. Стесняются своего DMA что ли? :)
Однако на F0 получается забирать за 5 тактов

Код:
ldrb   r0,[r1]         ;2
strb   r0,[r2]         ;2
adds  r2,1            ;1


И это на ядре М0. А у вас МК на ядре М3 и 6 тактов? Плохая сосиска :dont_know:
И размер... при 4000 семплов длина сосиски будет 4000*6 = 24 000 байт.


Вернуться наверх
 
Не в сети
 Заголовок сообщения: Re: Карманный осциллограф на STM32
СообщениеДобавлено: Пт сен 02, 2016 19:11:40 
Поставщик валерьянки для Кота

Карма: 20
Рейтинг сообщений: 256
Зарегистрирован: Вс июн 19, 2016 09:32:03
Сообщений: 2089
Рейтинг сообщения: 0
GFX писал(а):
процедура ручного считывания отнимает 30 кбайт памяти, т.е. половину из доступной, лучше я на ней анализатор спектра намучу или сохранение на флешку скриншотов, а тут такая подстава. свободно памяти 2.4 кбайта, это только на исправление косяков можно сказать.

Кстати, у F103С8 флеша 128К, а не 64, хотя не везде можно получить к ней доступ. Родная утилита для ST-Link нормально шьет, в VS выдает ошибку и через интерфейс OpenOCD и через Texane ST-Link, а J-Link и в студии нормально работает.


Вернуться наверх
 
Не в сети
 Заголовок сообщения: Re: Карманный осциллограф на STM32
СообщениеДобавлено: Пт сен 02, 2016 19:33:08 
Вымогатель припоя
Аватар пользователя

Карма: -2
Рейтинг сообщений: -32
Зарегистрирован: Вс ноя 01, 2015 13:13:49
Сообщений: 616
Рейтинг сообщения: -1
GFX писал(а):
1. у stm32f0xx 5 тактов на мем то мем проверено людьми

А что вам мешало?


Вернуться наверх
 
Эиком - электронные компоненты и радиодетали
Не в сети
 Заголовок сообщения: Re: Карманный осциллограф на STM32
СообщениеДобавлено: Пт сен 02, 2016 19:36:10 
Вымогатель припоя
Аватар пользователя

Карма: -2
Рейтинг сообщений: -32
Зарегистрирован: Вс ноя 01, 2015 13:13:49
Сообщений: 616
Рейтинг сообщения: -1
Andrew Martin писал(а):
Очень полезная информация. А главное ни в одном даташите нет этих данных. Стесняются своего DMA что ли? :)

Инфа есть, но не в даташите, в какой-то апноте или программ мануале.


Вернуться наверх
 
Не в сети
 Заголовок сообщения: Re: Карманный осциллограф на STM32
СообщениеДобавлено: Пт сен 02, 2016 19:41:22 
Вымогатель припоя
Аватар пользователя

Карма: 3
Рейтинг сообщений: 253
Зарегистрирован: Вт июн 25, 2013 18:45:07
Сообщений: 606
Рейтинг сообщения: 0
scorpi_0n писал(а):
Инфа есть, но не в даташите, в какой-то апноте или программ мануале.


В какой апноте?
В программ мануале (PM0215 для F0) нет описания периферии, кроме периферии ядра.


Вернуться наверх
 
Не в сети
 Заголовок сообщения: Re: Карманный осциллограф на STM32
СообщениеДобавлено: Пт сен 02, 2016 19:45:33 
Поставщик валерьянки для Кота
Аватар пользователя

Карма: 31
Рейтинг сообщений: 281
Зарегистрирован: Вт окт 23, 2012 18:36:14
Сообщений: 2040
Откуда: Ростов-на-Дону
Рейтинг сообщения: 0
scorpi_0n писал(а):
GFX писал(а):
1. у stm32f0xx 5 тактов на мем то мем проверено людьми

А что вам мешало?

Нет такого МК, вас это устроит? вы спамите только не пойму для чего?
scorpi_0n писал(а):
Andrew Martin писал(а):
Очень полезная информация. А главное ни в одном даташите нет этих данных. Стесняются своего DMA что ли? :)

Инфа есть, но не в даташите, в какой-то апноте или программ мануале.
Опять пустые слова и только слова.

_________________
GFXscope :roll: uRLC :roll: nRLC :roll:


Вернуться наверх
 
Не в сети
 Заголовок сообщения: Re: Карманный осциллограф на STM32
СообщениеДобавлено: Пт сен 02, 2016 19:48:44 
Поставщик валерьянки для Кота
Аватар пользователя

Карма: 31
Рейтинг сообщений: 281
Зарегистрирован: Вт окт 23, 2012 18:36:14
Сообщений: 2040
Откуда: Ростов-на-Дону
Рейтинг сообщения: 0
Andrew Martin писал(а):
Очень полезная информация. А главное ни в одном даташите нет этих данных. Стесняются своего DMA что ли? :)
Однако на F0 получается забирать за 5 тактов

Код:
ldrb   r0,[r1]         ;2
strb   r0,[r2]         ;2
adds  r2,1            ;1


И это на ядре М0. А у вас МК на ядре М3 и 6 тактов? Плохая сосиска :dont_know:
И размер... при 4000 семплов длина сосиски будет 4000*6 = 24 000 байт.
Вы изменяете скорость количеством команд? не смешите, дайте реальную скорость своего кода посчитанную как-то желательно на логическом анализаторе. "4000*6 = 24 000 байт" кто вам сказал такое? что это за расчет? просто ни в какие ворота он не годится, смешно просто. подсказка каждая команда не весит 1 байт, вторая подсказка, не каждая команда выполняется за 1 такт. И смех и грех.
мой код, кстати, лучше вашего, сосиска не плоха.
Код:
 LDR      r2,[r1,#0x00]
 STRB    r2,[r0,#0x07]
Вот только выполняются эти две команды по 3 такта и это есть в описании этих команд, вернее в описании 3 задержки в каждой команде, чему они равны хз, ну судя по всему по 1 такту а там ХЗ, но по факты вместе они 6 тактов занимают

_________________
GFXscope :roll: uRLC :roll: nRLC :roll:


Последний раз редактировалось GFX Пт сен 02, 2016 20:14:48, всего редактировалось 1 раз.

Вернуться наверх
 
Не в сети
 Заголовок сообщения: Re: Карманный осциллограф на STM32
СообщениеДобавлено: Пт сен 02, 2016 20:03:14 
Поставщик валерьянки для Кота
Аватар пользователя

Карма: 31
Рейтинг сообщений: 281
Зарегистрирован: Вт окт 23, 2012 18:36:14
Сообщений: 2040
Откуда: Ростов-на-Дону
Рейтинг сообщения: 0
Reflector писал(а):
GFX писал(а):
процедура ручного считывания отнимает 30 кбайт памяти, т.е. половину из доступной, лучше я на ней анализатор спектра намучу или сохранение на флешку скриншотов, а тут такая подстава. свободно памяти 2.4 кбайта, это только на исправление косяков можно сказать.

Кстати, у F103С8 флеша 128К, а не 64, хотя не везде можно получить к ней доступ. Родная утилита для ST-Link нормально шьет, в VS выдает ошибку и через интерфейс OpenOCD и через Texane ST-Link, а J-Link и в студии нормально работает.
Вот это интересно, т.е. программу собираем для мк STM32F103СB, чтобы ошибки по памяти не было, а потом тупо пытаемся залить в МК с заявленными 64 кбайтами 128? Где можно об этом почитать, выглядит загадочно :shock:

_________________
GFXscope :roll: uRLC :roll: nRLC :roll:


Вернуться наверх
 
Не в сети
 Заголовок сообщения: Re: Карманный осциллограф на STM32
СообщениеДобавлено: Пт сен 02, 2016 20:20:27 
Поставщик валерьянки для Кота

Карма: 20
Рейтинг сообщений: 256
Зарегистрирован: Вс июн 19, 2016 09:32:03
Сообщений: 2089
Рейтинг сообщения: 0
GFX писал(а):
Вот это интересно, т.е. программу собираем для мк STM32F103СB, чтобы ошибки по памяти не было, а потом тупо пытаемся залить в МК с заявленными 64 кбайтами 128? Где можно об этом почитать, выглядит загадочно :shock:

В документации есть глава "Device overview", там все подвиды мк сведены в таблицу и сгруппированы в том числе по объему флеша и RAM. Например, у меня есть F103VC, в таблице он в одной группе с 103VD и 103VE, в таком случае обычно(может и всегда) все эти 3 мк есть 103VE, т.е. самый старший из них. Реально у 103VC в 2 раза больше флеша и на четверть больше RAM. F103C8 в таблице рядом с F103CB и они оба F103CB. F407VE рядом с F407VG и они оба VG. Так под F407VG прогу и собираем, главное подобрать правильные настройки программатора или его самого, иначе придется шить отдельной утилитой, что не так удобно. Еще есть и более экзотические варианты, у того же F030 не только в 2 раза больше памяти, но еще есть 32-ти битный таймер и по сути он F031. У F101 есть USB и т.д. :)


Вернуться наверх
 
Не в сети
 Заголовок сообщения: Re: Карманный осциллограф на STM32
СообщениеДобавлено: Пт сен 02, 2016 20:31:48 
Собутыльник Кота
Аватар пользователя

Карма: 29
Рейтинг сообщений: 651
Зарегистрирован: Сб май 14, 2011 21:16:04
Сообщений: 2708
Откуда: г. Чайковский
Рейтинг сообщения: 0
Медали: 1
Получил миской по аватаре (1)
Reflector писал(а):
Кстати, у F103С8 флеша 128К,
СпойлерИзображение

----------
GFX, по количеству тактов на команду, может Вам будет интересно вот это. Как раз с этим МК тест делал.

_________________
Изображение
Добро всегда побеждает зло. Поэтому кто победил - тот и добрый.


Вернуться наверх
 
Не в сети
 Заголовок сообщения: Re: Карманный осциллограф на STM32
СообщениеДобавлено: Пт сен 02, 2016 23:01:12 
Поставщик валерьянки для Кота
Аватар пользователя

Карма: 31
Рейтинг сообщений: 281
Зарегистрирован: Вт окт 23, 2012 18:36:14
Сообщений: 2040
Откуда: Ростов-на-Дону
Рейтинг сообщения: 0
У меня и STM32F407 при программном за 4 такта шпарит (теже 2 команды он выполняет за 4 такта, а не за 6, это для тех, кто думал скорость на ассемблерных командах мерить), а по ДМА за 6!
Тоже в 1.5 раза оно медленнее, в режиме мем то мем по крайней мере, а в других оно не завелось.


Вложения:
Скриншот 2016-09-03 00.11.54.png [37.04 KiB]
Скачиваний: 1259

_________________
GFXscope :roll: uRLC :roll: nRLC :roll:
Вернуться наверх
 
Не в сети
 Заголовок сообщения: Re: Карманный осциллограф на STM32
СообщениеДобавлено: Пт сен 02, 2016 23:51:26 
Поставщик валерьянки для Кота
Аватар пользователя

Карма: 31
Рейтинг сообщений: 281
Зарегистрирован: Вт окт 23, 2012 18:36:14
Сообщений: 2040
Откуда: Ростов-на-Дону
Рейтинг сообщения: 0
Z_h_e писал(а):
Reflector писал(а):
Кстати, у F103С8 флеша 128К,
СпойлерИзображение

----------
GFX, по количеству тактов на команду, может Вам будет интересно вот это. Как раз с этим МК тест делал.
О, спасибо за подтверждение, но это я итак знал, что команды тут не выполняются за 1 такт, хоть некоторые и упрямо лепят мне ассемблерные команды в доказательство количества циклов. Только практический замер может дать реальное значение скорости.

На текущий момент выяснено ДМА:
1. у stm32f0xx ?
2. у stm32f1xx 9 тактов на мем то мем, точно
3. у stm32f3xx ?
4. у stm32f4xx 6 тактов на мем то мем, точно в m2m, p2m не заводится(вроде и не должен работать, gpio не поддерживается), кто завел, выложите код для проверки скорости.
Программное чтение:
1. у stm32f0xx ?
2. у stm32f1xx 6 тактов, точно
3. у stm32f3xx ?
4. у stm32f4xx 4 такта, точно

Как то так.

_________________
GFXscope :roll: uRLC :roll: nRLC :roll:


Вернуться наверх
 
Не в сети
 Заголовок сообщения: Re: Карманный осциллограф на STM32
СообщениеДобавлено: Сб сен 03, 2016 00:28:13 
Поставщик валерьянки для Кота

Карма: 20
Рейтинг сообщений: 256
Зарегистрирован: Вс июн 19, 2016 09:32:03
Сообщений: 2089
Рейтинг сообщения: 0
GFX писал(а):
У меня и STM32F407 при программном за 4 такта шпарит (теже 2 команды он выполняет за 4 такта, а не за 6, это для тех, кто думал скорость на ассемблерных командах мерить), а по ДМА за 6!
Тоже в 1.5 раза оно медленнее, в режиме мем то мем по крайней мере, а в других оно не завелось.

Не подтверждаю. Последовательность вот таких команд
Код:
asm("LDRB R0, [R1]");
asm("STRB R0, [R2], #1");

выполняется за 14355 тактов, DMA отрабатывает за 14383, разница в одну сотую такта... Итого 4 и 4, как в статье и написано.


Вернуться наверх
 
Не в сети
 Заголовок сообщения: Re: Карманный осциллограф на STM32
СообщениеДобавлено: Сб сен 03, 2016 07:57:43 
Вымогатель припоя
Аватар пользователя

Карма: -2
Рейтинг сообщений: -32
Зарегистрирован: Вс ноя 01, 2015 13:13:49
Сообщений: 616
Рейтинг сообщения: -1
GFX писал(а):

На текущий момент выяснено ДМА:
1. у stm32f0xx ?
2. у stm32f1xx 9 тактов на мем то мем, точно
3. у stm32f3xx ?
4. у stm32f4xx 6 тактов на мем то мем, точно в m2m, p2m не заводится(вроде и не должен работать, gpio не поддерживается),

Читайте референс. В stm32f4xx два ДМА. Один работает с ЖПИО, другой - нет. Это связано с распределением шин.

у stm32f0xx 6 тактов с p2m.

И ваще. Это от Трэвора Мартина (Trevor Martin) для М3. Для других семейств принцип тот же.
Цитата:
Each DMA transfer is made up of four phases: a sample and arbitration phase, an address computation phase,
bus access phase and a final acknowledgement phase. Each phase takes a single cycle, with the exception of the
bus access phase.


Вернуться наверх
 
Не в сети
 Заголовок сообщения: Re: Карманный осциллограф на STM32
СообщениеДобавлено: Сб сен 03, 2016 09:05:45 
Поставщик валерьянки для Кота
Аватар пользователя

Карма: 31
Рейтинг сообщений: 281
Зарегистрирован: Вт окт 23, 2012 18:36:14
Сообщений: 2040
Откуда: Ростов-на-Дону
Рейтинг сообщения: 0
Reflector писал(а):
GFX писал(а):
У меня и STM32F407 при программном за 4 такта шпарит (теже 2 команды он выполняет за 4 такта, а не за 6, это для тех, кто думал скорость на ассемблерных командах мерить), а по ДМА за 6!
Тоже в 1.5 раза оно медленнее, в режиме мем то мем по крайней мере, а в других оно не завелось.

Не подтверждаю. Последовательность вот таких команд
Код:
asm("LDRB R0, [R1]");
asm("STRB R0, [R2], #1");

выполняется за 14355 тактов, DMA отрабатывает за 14383, разница в одну сотую такта... Итого 4 и 4, как в статье и написано.
У меня работает за 6, это точно и это факт, почему у вас за 4 не знаю, я проверю DMA1 может оно быстрее. Код выложите свой сравню. ДМА может работать с разной скоростью, нужно понять просто, как выжать максимальную.

_________________
GFXscope :roll: uRLC :roll: nRLC :roll:


Вернуться наверх
 
Не в сети
 Заголовок сообщения: Re: Карманный осциллограф на STM32
СообщениеДобавлено: Сб сен 03, 2016 09:21:15 
Поставщик валерьянки для Кота
Аватар пользователя

Карма: 31
Рейтинг сообщений: 281
Зарегистрирован: Вт окт 23, 2012 18:36:14
Сообщений: 2040
Откуда: Ростов-на-Дону
Рейтинг сообщения: 0
scorpi_0n писал(а):
GFX писал(а):

На текущий момент выяснено ДМА:
1. у stm32f0xx ?
2. у stm32f1xx 9 тактов на мем то мем, точно
3. у stm32f3xx ?
4. у stm32f4xx 6 тактов на мем то мем, точно в m2m, p2m не заводится(вроде и не должен работать, gpio не поддерживается),

Читайте референс. В stm32f4xx два ДМА. Один работает с ЖПИО, другой - нет. Это связано с распределением шин.

у stm32f0xx 6 тактов с p2m.

И ваще. Это от Трэвора Мартина (Trevor Martin) для М3. Для других семейств принцип тот же.
Цитата:
Each DMA transfer is made up of four phases: a sample and arbitration phase, an address computation phase,
bus access phase and a final acknowledgement phase. Each phase takes a single cycle, with the exception of the
bus access phase.
Может и реальный пример есть, а то что-то теория с практикой не сходится? ДМА1 вообще не работает с GPIO, DMA2 работает, но медленнее, у меня за 6 тактов. Тактирование проверить еще, но если бы там косяк был и процессор бы медленнее забирал. Да и перечитайте, что вы написали, там не о 4 тактах говорится "with the exception of the
bus access phase.", т.е. доступ к шине может быть больше а на сколько не указано, это от загрузки шины зависит видимо, ну оно так и есть стоит два ДМА запустить их скорость падает.

_________________
GFXscope :roll: uRLC :roll: nRLC :roll:


Вернуться наверх
 
Не в сети
 Заголовок сообщения: Re: Карманный осциллограф на STM32
СообщениеДобавлено: Сб сен 03, 2016 09:46:25 
Поставщик валерьянки для Кота

Карма: 20
Рейтинг сообщений: 256
Зарегистрирован: Вс июн 19, 2016 09:32:03
Сообщений: 2089
Рейтинг сообщения: 0
GFX писал(а):
У меня работает за 6, это точно и это факт, почему у вас за 4 не знаю, я проверю DMA1 может оно быстрее. Код выложите свой сравню. ДМА может работать с разной скоростью, нужно понять просто, как выжать максимальную.

Я перебрал кучу настроек, всегда получается 4 такта кроме случаев, когда размер источника в 2 раза больше, т.е., например, читаешь из порта 16 бит, а пишешь по 8, но тогда выходит 8 тактов, а не 6. С разной скоростью DMA тоже не должен работать, если не считать лаги. VGA либа, на которую я ссылался, выдает 800x600, там скорость вывода пикселей ровно 40MHz, а скорость проца - 160MHz.
Код практически такой-же, как и на F103:
Спойлер
Код:
ch1.initMemToMem((void*)&GPIOA->IDR, DmaDataSize::_8bits, false, data, DmaDataSize::_32bits, true, 3584, DmaPriority::VeryHigh, 1);

void initMemToMem(void* srcAddr, DmaDataSize srcSize, bool srcInc, void* dstAddr, DmaDataSize dstSize, bool dstInc, uint16_t bufSize,
   DmaPriority prio, uint32_t channel, bool circular = false, bool doubleBuffer = false)
{
    _assert_(dma == DMA2);
    disableConfirmed();
    dma->LISR = dma->HISR = 0;
    memorySrcAddr(uint32_t(srcAddr));
    memoryDstAddr(uint32_t(dstAddr));
    bufferSize(bufSize);
    stream->CR = (doubleBuffer << 18) | uint32_t(DmaDir::MemToMem) | uint32_t(prio) | (uint32_t(srcSize) << 11) |
         (uint32_t(dstSize) << 13) | (circular << 8) | (srcInc << 9) | (dstInc << 10) | (channel << 25);
}


Вернуться наверх
 
Не в сети
 Заголовок сообщения: Re: Карманный осциллограф на STM32
СообщениеДобавлено: Сб сен 03, 2016 10:03:42 
Поставщик валерьянки для Кота
Аватар пользователя

Карма: 31
Рейтинг сообщений: 281
Зарегистрирован: Вт окт 23, 2012 18:36:14
Сообщений: 2040
Откуда: Ростов-на-Дону
Рейтинг сообщения: 0
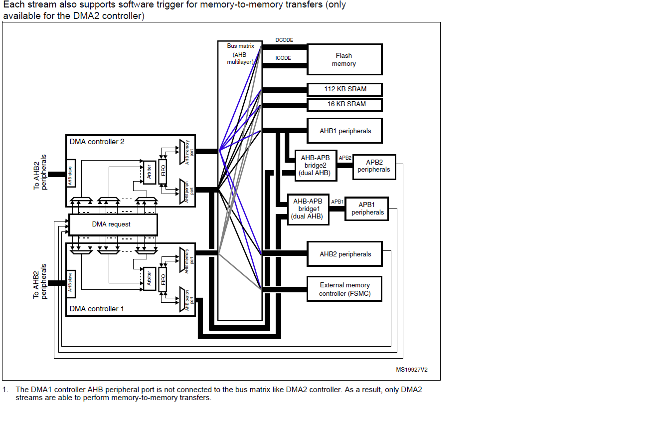
ДМА2 только может работать в режиме мем то мем.
Вложение:
dma.png [96.42 KiB]
Скачиваний: 723

_________________
GFXscope :roll: uRLC :roll: nRLC :roll:


Вернуться наверх
 
Не в сети
 Заголовок сообщения: Re: Карманный осциллограф на STM32
СообщениеДобавлено: Сб сен 03, 2016 10:07:27 
Поставщик валерьянки для Кота

Карма: 20
Рейтинг сообщений: 256
Зарегистрирован: Вс июн 19, 2016 09:32:03
Сообщений: 2089
Рейтинг сообщения: 0
GFX писал(а):
ДМА2 только может работать в режиме мем то мем.

Ну да, у меня там и assert стоит на всякий случай :)


Вернуться наверх
 
Показать сообщения за:  Сортировать по:  Вернуться наверх
Начать новую тему Ответить на тему  [ Сообщений: 6388 ]    , , , , 5, , , ...  

Часовой пояс: UTC + 3 часа


Кто сейчас на форуме

Сейчас этот форум просматривают: нет зарегистрированных пользователей и гости: 35


Вы не можете начинать темы
Вы не можете отвечать на сообщения
Вы не можете редактировать свои сообщения
Вы не можете удалять свои сообщения
Вы не можете добавлять вложения

Найти:
Перейти:  


Powered by phpBB © 2000, 2002, 2005, 2007 phpBB Group
Русская поддержка phpBB
Extended by Karma MOD © 2007—2012 m157y
Extended by Topic Tags MOD © 2012 m157y