Например TDA7294

Форум РадиоКот • Просмотр темы - Как расчитать CRC?
Форум РадиоКот
Здесь можно немножко помяукать :)

Текущее время: Пт окт 03, 2025 10:39:32

Часовой пояс: UTC + 3 часа


ПРЯМО СЕЙЧАС:



Начать новую тему Ответить на тему  [ Сообщений: 4 ] 
Автор Сообщение
Не в сети
 Заголовок сообщения: Как расчитать CRC?
СообщениеДобавлено: Пн апр 27, 2015 20:48:55 
Встал на лапы
Аватар пользователя

Зарегистрирован: Пн май 03, 2010 02:19:08
Сообщений: 82
Откуда: Москва
Рейтинг сообщения: 0
Здравствуйте!
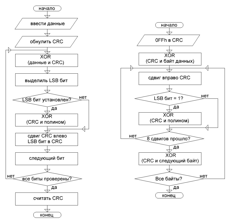
Я для микроконтроллера пишу реализацию расчёта контрольной суммы.
Составил два алгоритма для расчёта CRC8.
подскажите пожалуйста, какой алгоритм из двух правильный?
с уважением, Питер.


Вложения:
crc.JPG [129.5 KiB]
Скачиваний: 501

_________________
Программист ПЛИС
Вернуться наверх
 
Не в сети
 Заголовок сообщения: Re: Как расчитать CRC?
СообщениеДобавлено: Пт май 01, 2015 06:14:45 
Прорезались зубы

Зарегистрирован: Вт июл 02, 2013 09:17:49
Сообщений: 219
Рейтинг сообщения: 0
Ищется в интернете онлайн калькулятор CRC проганяется несколько последовательностей и сравнивается с предложенными алгоритмами.


Вернуться наверх
 
Не в сети
 Заголовок сообщения: Re: Как расчитать CRC?
СообщениеДобавлено: Пт май 01, 2015 08:17:08 
Друг Кота
Аватар пользователя

Карма: 50
Рейтинг сообщений: 1398
Зарегистрирован: Пт авг 28, 2009 21:34:30
Сообщений: 7313
Откуда: 845-й км.
Рейтинг сообщения: 0
Медали: 1
Получил миской по аватаре (1)
СпойлерЗачем так сложно? В ПЛИС есть логические элементы и CRC считается сдвиговыми регистрами. Например в моём термометре считается CRC для далласовского датчика:
Код:
crc <= (crc(0) xor datain) & crc (7 downto 5) & (crc(4) xor crc(0) xor datain) & (crc(3) xor crc(0) xor datain) & crc(2 downto 1);
Может, не изящно написано, зато работает. Данные подаются последовательно, побитно (с термодатчика они так и считываются).


Тфу ты блин!
ipiter писал(а):
Я для микроконтроллера пишу реализацию расчёта

Ничего у вас не получится, если даже раздел для темы правильный выбрать не можете.


Вернуться наверх
 
Не в сети
 Заголовок сообщения: Re: Как расчитать CRC?
СообщениеДобавлено: Вс май 17, 2015 08:56:09 
Друг Кота
Аватар пользователя

Карма: 62
Рейтинг сообщений: 885
Зарегистрирован: Вт апр 24, 2007 07:45:40
Сообщений: 6127
Откуда: Minsk
Рейтинг сообщения: 0
"Правильного", "стандартного" нет. Они разные, и все правильные :)
https://ru.wikipedia.org/wiki/Циклическ ... точный_код
Как советует misyachniy, если есть CRC от конкретного устройства, нужно проанализировать его на совпадение с предполагаемым алгоритмом.
В свое время я использовал генерацию CRC16 табличным методом, памяти ха'вает чуть больше, но работает мгновенно. Правда, у меня связывались мои блоки с моими же, так что друг друга они понимали по любому. Слизанное с Вики описание алгоритма с блеском прошло в научный отчет, добавляя ему наукообразности . :)) Для отладки сделал куркулятор CRC. Но это все для СRС16.
Noch einmal :
https://ru.wikibooks.org/wiki/Реализаци ... _код#CRC-8


Вернуться наверх
 
Показать сообщения за:  Сортировать по:  Вернуться наверх
Начать новую тему Ответить на тему  [ Сообщений: 4 ] 

Часовой пояс: UTC + 3 часа


Кто сейчас на форуме

Сейчас этот форум просматривают: нет зарегистрированных пользователей и гости: 30


Вы не можете начинать темы
Вы не можете отвечать на сообщения
Вы не можете редактировать свои сообщения
Вы не можете удалять свои сообщения
Вы не можете добавлять вложения

Найти:
Перейти:  


Powered by phpBB © 2000, 2002, 2005, 2007 phpBB Group
Русская поддержка phpBB
Extended by Karma MOD © 2007—2012 m157y
Extended by Topic Tags MOD © 2012 m157y