Например TDA7294

Форум РадиоКот • Просмотр темы - Как рассчитать сопротивление на входе параллельных мосфетов?
Форум РадиоКот
Здесь можно немножко помяукать :)

Текущее время: Пт фев 20, 2026 20:54:03

Часовой пояс: UTC + 3 часа


ПРЯМО СЕЙЧАС:



Начать новую тему Ответить на тему  [ Сообщений: 12 ] 
Автор Сообщение
Не в сети
 Заголовок сообщения: Как рассчитать сопротивление на входе параллельных мосфетов?
СообщениеДобавлено: Вс ноя 14, 2021 06:56:30 
Сверлит текстолит когтями
Аватар пользователя

Зарегистрирован: Пт авг 05, 2016 04:47:49
Сообщений: 1142
Рейтинг сообщения: 0
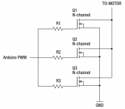
Изображение

на уно всегда ставил по 100 ом на одиночный мосфет IRL3803
но понадобилось вращать двигатель отопления от ваза а он под 15а где то идёт а один мосфет без радиатора тянет порядка около 8а

что бы не городить кулер хочу запаралелить их штуки три
теоретически наверное нужно взять резисторы на 390 ом ?
или поставить один на 100 ом общий на все три ?
что бы не спалить порт ардуино


Вернуться наверх
 
Не в сети
 Заголовок сообщения: Re: как ращитать сопротивление на входе паралельных мосфетов
СообщениеДобавлено: Вс ноя 14, 2021 07:04:25 
Собутыльник Кота

Карма: 14
Рейтинг сообщений: 472
Зарегистрирован: Вс фев 02, 2020 09:12:37
Сообщений: 2804
Рейтинг сообщения: 0
правильнее каким-то доступным буфером увеличить нагрузочную способность выхода, а не резисторы увеличивать...3 по 100 (или меньше) - это правильно...


Вернуться наверх
 
Не в сети
 Заголовок сообщения: Re: Как рассчитать сопротивление на входе параллельных мосфе
СообщениеДобавлено: Пн ноя 15, 2021 17:03:51 
Потрогал лапой паяльник
Аватар пользователя

Карма: -8
Рейтинг сообщений: -8
Зарегистрирован: Чт май 20, 2021 13:33:05
Сообщений: 334
Рейтинг сообщения: 0
Думаю, можно поставить один на все три. Внутри мощных полевиков куча более мелких, и резисторами там никто не заморачивался. Ток выхода АВР ограничен, хотя умощнить его стоит. Для быстроты переключения. Кстати, если у вас куча свободных портов, то можно соединить их параллельно, сэкономив на драйвере. Только переключать их следует оптом.


Вернуться наверх
 
Не в сети
 Заголовок сообщения: Re: Как рассчитать сопротивление на входе параллельных мосфе
СообщениеДобавлено: Пн ноя 15, 2021 17:12:10 
Друг Кота
Аватар пользователя

Карма: 59
Рейтинг сообщений: 2246
Зарегистрирован: Чт янв 26, 2012 16:44:29
Сообщений: 19907
Откуда: Таксимо
Рейтинг сообщения: 0
Простейший драйвер на двух транзисторах

_________________
Мои поставщики запчастей с отличной репутацией
texnomag.ru
radioremont.com
pl-1.org
4ip.info
elitan.ru


Вернуться наверх
 
Эиком - электронные компоненты и радиодетали
Не в сети
 Заголовок сообщения: Re: Как рассчитать сопротивление на входе параллельных мосфе
СообщениеДобавлено: Вт ноя 16, 2021 11:52:44 
Потрогал лапой паяльник
Аватар пользователя

Карма: -8
Рейтинг сообщений: -8
Зарегистрирован: Чт май 20, 2021 13:33:05
Сообщений: 334
Рейтинг сообщения: 0
Простейший драйвер на двух транзисторах

Капитан ОЧЕВИДНОСТЬ ? :) А если у него нет двух транзисторов? :))
Зато есть ардуина , с целой кучей бесполезных (возможно) ног.
Вредные советы, иногда, могут быть полезными. :)


Вернуться наверх
 
Не в сети
 Заголовок сообщения: Re: Как рассчитать сопротивление на входе параллельных мосфе
СообщениеДобавлено: Вт ноя 16, 2021 12:02:48 
Друг Кота
Аватар пользователя

Карма: 59
Рейтинг сообщений: 2246
Зарегистрирован: Чт янв 26, 2012 16:44:29
Сообщений: 19907
Откуда: Таксимо
Рейтинг сообщения: 0
то есть ардуиносапиенсы кроме в ардуину ничего не умеют? как так то? ужас кошмар

Добавлено after 5 minutes 49 seconds:
Re: Как рассчитать сопротивление на входе параллельных мосфетов?
возможно есть какие то платы с драйверами для ардуино

_________________
Мои поставщики запчастей с отличной репутацией
texnomag.ru
radioremont.com
pl-1.org
4ip.info
elitan.ru


Вернуться наверх
 
Не в сети
 Заголовок сообщения: Re: Как рассчитать сопротивление на входе параллельных мосфе
СообщениеДобавлено: Вт ноя 16, 2021 13:36:40 
Потрогал лапой паяльник
Аватар пользователя

Зарегистрирован: Вс май 02, 2021 18:58:49
Сообщений: 365
Откуда: 俄罗斯
Рейтинг сообщения: 0
...можно соединить их параллельно, сэкономив на драйвере...

Это если просто вкл/откл а в случае с ШИМ_ом ? :shock:


Вернуться наверх
 
Не в сети
 Заголовок сообщения: Re: Как рассчитать сопротивление на входе параллельных мосфе
СообщениеДобавлено: Вт ноя 16, 2021 15:32:17 
Потрогал лапой паяльник
Аватар пользователя

Карма: -8
Рейтинг сообщений: -8
Зарегистрирован: Чт май 20, 2021 13:33:05
Сообщений: 334
Рейтинг сообщения: 0
Dismas писал(а):
а в случае с ШИМ_ом ?

C программным- без проблем. А так универсальных решений не бывает. Хороших.


Вернуться наверх
 
Не в сети
 Заголовок сообщения: Re: Как рассчитать сопротивление на входе параллельных мосфе
СообщениеДобавлено: Вт ноя 16, 2021 16:15:39 
Потрогал лапой паяльник
Аватар пользователя

Зарегистрирован: Вс май 02, 2021 18:58:49
Сообщений: 365
Откуда: 俄罗斯
Рейтинг сообщения: 0
C программным- без проблем...

Так дайте это ТС, видите, человек мучается :)


Вернуться наверх
 
Не в сети
 Заголовок сообщения: Re: Как рассчитать сопротивление на входе параллельных мосфе
СообщениеДобавлено: Вт ноя 16, 2021 19:09:20 
Потрогал лапой паяльник
Аватар пользователя

Карма: -8
Рейтинг сообщений: -8
Зарегистрирован: Чт май 20, 2021 13:33:05
Сообщений: 334
Рейтинг сообщения: 0
Dismas писал(а):
человек мучается

Человек мучается ... резистором, ШИМ приплели вы. :)


Вернуться наверх
 
Не в сети
 Заголовок сообщения: Re: Как рассчитать сопротивление на входе параллельных мосфе
СообщениеДобавлено: Вт ноя 16, 2021 20:11:42 
Потрогал лапой паяльник
Аватар пользователя

Зарегистрирован: Вс май 02, 2021 18:58:49
Сообщений: 365
Откуда: 俄罗斯
Рейтинг сообщения: 0
Человек мучается ... резистором, ШИМ приплели вы. :)

Так потому и мучается, что от одного вывода тремя ключами сразу у него управлять не получается.


Вернуться наверх
 
Не в сети
 Заголовок сообщения: Re: Как рассчитать сопротивление на входе параллельных мосфе
СообщениеДобавлено: Чт ноя 18, 2021 11:49:38 
Потрогал лапой паяльник
Аватар пользователя

Карма: -8
Рейтинг сообщений: -8
Зарегистрирован: Чт май 20, 2021 13:33:05
Сообщений: 334
Рейтинг сообщения: 0
"Страданиями душа совершенствуется." (с) :)


Вернуться наверх
 
Показать сообщения за:  Сортировать по:  Вернуться наверх
Начать новую тему Ответить на тему  [ Сообщений: 12 ] 

Часовой пояс: UTC + 3 часа


Кто сейчас на форуме

Сейчас этот форум просматривают: нет зарегистрированных пользователей и гости: 138


Вы не можете начинать темы
Вы не можете отвечать на сообщения
Вы не можете редактировать свои сообщения
Вы не можете удалять свои сообщения
Вы не можете добавлять вложения

Найти:
Перейти:  


Powered by phpBB © 2000, 2002, 2005, 2007 phpBB Group
Русская поддержка phpBB
Extended by Karma MOD © 2007—2012 m157y
Extended by Topic Tags MOD © 2012 m157y