Например TDA7294

Форум РадиоКот • Просмотр темы - Часы на газоразрядных индикаторах
Форум РадиоКот
Здесь можно немножко помяукать :)

Текущее время: Вс ноя 02, 2025 09:19:14

Часовой пояс: UTC + 3 часа


ПРЯМО СЕЙЧАС:



Начать новую тему Ответить на тему  [ Сообщений: 48919 ]     ... , , , 235, , , ...  
Автор Сообщение
Не в сети
 Заголовок сообщения: Re: Часы на газоразрядных индикаторах
СообщениеДобавлено: Вс авг 15, 2010 15:25:04 
Встал на лапы
Аватар пользователя

Зарегистрирован: Вт мар 30, 2010 19:17:22
Сообщений: 149
Откуда: Вильнюс
Рейтинг сообщения: 0
Roha77

Транс по полякам 2Х9 Вольт при 1000мА.

Внутренний стабилизатор генератора должен выдавать 11 Вольт на самый нижний вывод, 1 Вольт формируется при падении напряжения от подключенного подстроечника.

А может генератор и пустой, потрудились золото искатели :shock: :kill:

Подстроечный резистор в оригинале :

Изображение


Вложения:
SP5-1.jpg [55.86 KiB]
Скачиваний: 3912
Вернуться наверх
 
Не в сети
 Заголовок сообщения: Re: Часы на газоразрядных индикаторах
СообщениеДобавлено: Вс авг 15, 2010 16:20:06 
Потрогал лапой паяльник
Аватар пользователя

Карма: 1
Рейтинг сообщений: 8
Зарегистрирован: Пн июл 12, 2010 21:05:01
Сообщений: 335
Откуда: Донецк
Рейтинг сообщения: 0
Vygandas
suslogon
Спасибо огромное.

Я еще на хоботе тему по нему создал. Там подсказали уже, что проблема со внутренним стабилизатором. Разобрал я его. Транзистор стабилизатора нормальный. Просто где-то была непропайка, пропаял эту цепь в процессе прозвонки) - появились 11В на 6 выводе. Про 4 вывод понял. Значит все нормально :). Еще паралон там почти разложился - надо ватой что-ли заменить. Вечером сфоткаю его внутренности, если интересно (сейчас в магазин надо ехать, а то жена мне этот генератор сейчас кое-куда запихнет :) ).

Vygandas писал(а):
Транс по полякам 2Х9 Вольт при 1000мА.
Спасибо. На холостом 23 почти. Работает стабильно, короче.

Vygandas писал(а):
Подстроечный резистор в оригинале

Ух ты! Даже не видел таких. Попробую поискать во вторник. Пока временно однооборотный впихнул.

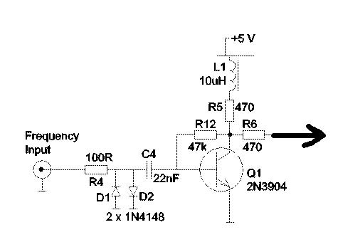
Как быть с согласованием? тут предложили вот такую схему Изображение

Как понимаю, мне надо из нее вот это:Изображение

Правильно? Если да, то транзистор там критичен? У меня сейчас есть 13003, bd241A, c547c. Что-то можно впихнуть. И в каких пределах может варьировать индуктивность?

Спасибо


Вложения:
schematic_согласование.jpg [15.66 KiB]
Скачиваний: 5564
schematic_частотометр.gif [22.8 KiB]
Скачиваний: 4579
Вернуться наверх
 
Не в сети
 Заголовок сообщения: Re: Часы на газоразрядных индикаторах
СообщениеДобавлено: Вс авг 15, 2010 16:24:07 
Друг Кота
Аватар пользователя

Карма: 38
Рейтинг сообщений: 549
Зарегистрирован: Пн июл 14, 2008 21:28:00
Сообщений: 10686
Откуда: Москва
Рейтинг сообщения: 0
лучше собрать все как есть...дроссель нагрузки я бы не трогал...транзистор должен быть вч...

_________________
Ищу тиратрон ТХИ1-2000/4, ГРИ ИН-23, ФЭУ-103; 134; 135, 138, 155, 157, лампу ИСШ-7.
Любые ГИС серий 203, 225, 233, 244, 250, 296, 801, 838 в любом состоянии. Компоненты и детали от миниатюрных твердотельных лазеров.


Вернуться наверх
 
Не в сети
 Заголовок сообщения: Re: Часы на газоразрядных индикаторах
СообщениеДобавлено: Вс авг 15, 2010 16:37:36 
Мудрый кот
Аватар пользователя

Карма: 8
Рейтинг сообщений: 103
Зарегистрирован: Чт май 06, 2010 13:18:59
Сообщений: 1702
Рейтинг сообщения: 0
SergVi писал(а):
ИН-8-2 выпускались с разными сетками (у меня есть с сетками аж 3-х типов):

Изображение

Возможно, и другие индикаторы имели разновидности.


Ага, у меня ИН-1 попались с разными сетками. 69-го года более тонкая и частая сетка, 78-го толстая и редкая с ободком по периметру.
Изображение

Кстати никто не скажет чей логотип на индикаторе 78 года? У старого московский электроламповый завод?
Изображение

Блин, вчера прошелся по рынку. С ИНками полный голяк. Вообще ничего нет. Попались только 2 ГДРовские. Гдеб еще хотя бы 2 таких взять.
Изображение
Продавец говорит уже пол года ничего с инками не приносили. А остатки говорит ходят немцы скупают. :twisted:


Вернуться наверх
 
Эиком - электронные компоненты и радиодетали
Не в сети
 Заголовок сообщения: Re: Часы на газоразрядных индикаторах
СообщениеДобавлено: Вс авг 15, 2010 16:40:10 
Друг Кота
Аватар пользователя

Карма: 38
Рейтинг сообщений: 549
Зарегистрирован: Пн июл 14, 2008 21:28:00
Сообщений: 10686
Откуда: Москва
Рейтинг сообщения: 0
ин-1...справа МЭЛЗ, а слева у меня декатрон с таким знаком..тоже интересно, кто это

_________________
Ищу тиратрон ТХИ1-2000/4, ГРИ ИН-23, ФЭУ-103; 134; 135, 138, 155, 157, лампу ИСШ-7.
Любые ГИС серий 203, 225, 233, 244, 250, 296, 801, 838 в любом состоянии. Компоненты и детали от миниатюрных твердотельных лазеров.


Вернуться наверх
 
Не в сети
 Заголовок сообщения: Re: Часы на газоразрядных индикаторах
СообщениеДобавлено: Вс авг 15, 2010 16:42:56 
Мудрый кот
Аватар пользователя

Карма: 8
Рейтинг сообщений: 103
Зарегистрирован: Чт май 06, 2010 13:18:59
Сообщений: 1702
Рейтинг сообщения: 0
Roha77 писал(а):
Если да, то транзистор там критичен? У меня сейчас есть 13003, bd241A, c547c. Что-то можно впихнуть. И в каких пределах может варьировать индуктивность?


Да транзистора там обычного 315-го за глаза хватит. Ну или ставь 547-й коли он у тебя уже есть. Индуктивность вообще можешь выкинуть, тут она не очень и нужна.


Вернуться наверх
 
Не в сети
 Заголовок сообщения: Re: Часы на газоразрядных индикаторах
СообщениеДобавлено: Вс авг 15, 2010 16:47:12 
Встал на лапы

Карма: 7
Рейтинг сообщений: 1
Зарегистрирован: Пн ноя 26, 2007 15:19:20
Сообщений: 146
Откуда: Литва, Вильнюс
Рейтинг сообщения: 0
"Анод" г.Дятьково.
Интересно, ИН-2 с нормальной "5". Ссылка. индикатор 78 года.


Вернуться наверх
 
Не в сети
 Заголовок сообщения: Re: Часы на газоразрядных индикаторах
СообщениеДобавлено: Вс авг 15, 2010 16:49:12 
Друг Кота
Аватар пользователя

Карма: 38
Рейтинг сообщений: 549
Зарегистрирован: Пн июл 14, 2008 21:28:00
Сообщений: 10686
Откуда: Москва
Рейтинг сообщения: 0
MyxoMop ерунды не говори, раз с вч никогда не работал...на вч дроссель в нагрузке каскада лучше любого резистора в миллион раз!!!!!!
так что дроссель оставить!!!!!!!а найти такой не проблема

_________________
Ищу тиратрон ТХИ1-2000/4, ГРИ ИН-23, ФЭУ-103; 134; 135, 138, 155, 157, лампу ИСШ-7.
Любые ГИС серий 203, 225, 233, 244, 250, 296, 801, 838 в любом состоянии. Компоненты и детали от миниатюрных твердотельных лазеров.


Вернуться наверх
 
Не в сети
 Заголовок сообщения: Re: Часы на газоразрядных индикаторах
СообщениеДобавлено: Вс авг 15, 2010 17:51:45 
Друг Кота
Аватар пользователя

Карма: 50
Рейтинг сообщений: 1398
Зарегистрирован: Пт авг 28, 2009 21:34:30
Сообщений: 7315
Откуда: 845-й км.
Рейтинг сообщения: -1
Медали: 1
Получил миской по аватаре (1)
Цитата:
Блин, вчера прошелся по рынку. С ИНками полный голяк. Вообще ничего нет. Попались только 2 ГДРовские. Гдеб еще хотя бы 2 таких взять.

На латгальчике? я там ИН-ки видел только в составе плат из всякой техники в самом дальнем левом углу. Вот из них я сделал свои теперешние часы.
Правда раз закупил десяток новеньких МТХ-90. Кстати, никто не посоветует, что можно было бы эдакое на них сделать?

_________________
А люди посмотрят и скажут: "Собаки летят. Вот и осень."


Вернуться наверх
 
Не в сети
 Заголовок сообщения: Re: Часы на газоразрядных индикаторах
СообщениеДобавлено: Вс авг 15, 2010 18:31:03 
Друг Кота
Аватар пользователя

Карма: 38
Рейтинг сообщений: 549
Зарегистрирован: Пн июл 14, 2008 21:28:00
Сообщений: 10686
Откуда: Москва
Рейтинг сообщения: 0
:))) :))) :))) ничего...в ящик положить

_________________
Ищу тиратрон ТХИ1-2000/4, ГРИ ИН-23, ФЭУ-103; 134; 135, 138, 155, 157, лампу ИСШ-7.
Любые ГИС серий 203, 225, 233, 244, 250, 296, 801, 838 в любом состоянии. Компоненты и детали от миниатюрных твердотельных лазеров.


Вернуться наверх
 
Не в сети
 Заголовок сообщения: Re: Часы на газоразрядных индикаторах
СообщениеДобавлено: Вс авг 15, 2010 18:56:18 
Поставщик валерьянки для Кота
Аватар пользователя

Карма: 21
Рейтинг сообщений: 266
Зарегистрирован: Вт ноя 03, 2009 21:02:38
Сообщений: 2040
Откуда: Москва
Рейтинг сообщения: 0
uldemir на МТХ-90 планирую сделать часы - пропеллер. За основу механики и питания БВГ от видака.


Вернуться наверх
 
Не в сети
 Заголовок сообщения: Re: Часы на газоразрядных индикаторах
СообщениеДобавлено: Вс авг 15, 2010 19:01:39 
Друг Кота
Аватар пользователя

Карма: 38
Рейтинг сообщений: 549
Зарегистрирован: Пн июл 14, 2008 21:28:00
Сообщений: 10686
Откуда: Москва
Рейтинг сообщения: 0
извращения похлеще аудиофилов прогрессируют :shock: :shock: :shock: :music: :music: :music: :twisted: :twisted: :twisted: :twisted: :))) :))) :)))

_________________
Ищу тиратрон ТХИ1-2000/4, ГРИ ИН-23, ФЭУ-103; 134; 135, 138, 155, 157, лампу ИСШ-7.
Любые ГИС серий 203, 225, 233, 244, 250, 296, 801, 838 в любом состоянии. Компоненты и детали от миниатюрных твердотельных лазеров.


Вернуться наверх
 
Не в сети
 Заголовок сообщения: Re: Часы на газоразрядных индикаторах
СообщениеДобавлено: Вс авг 15, 2010 19:16:14 
Друг Кота
Аватар пользователя

Карма: 46
Рейтинг сообщений: 977
Зарегистрирован: Ср май 28, 2008 00:32:54
Сообщений: 7616
Откуда: г. Россия
Рейтинг сообщения: 0
Вот ещё мааа-ааленький газоразрядничек моего детства.
Просто лазил в подвал и откопал. :)))
Изображение

Ну как?
:)))

_________________
Очень нравится неон
:) :)) :))) :)) :)
Мой проектик часиков с термометром на любых 6ти газоразрядных лампах + куча функций
Ещё один - попроще
:) :)) :))) :)) :)
Светодиодный проект
:))) :)) :) :)) :)))

My video on youtube nic SLvik78


Вернуться наверх
 
Не в сети
 Заголовок сообщения: Re: Часы на газоразрядных индикаторах
СообщениеДобавлено: Вс авг 15, 2010 19:18:24 
Друг Кота
Аватар пользователя

Карма: 38
Рейтинг сообщений: 549
Зарегистрирован: Пн июл 14, 2008 21:28:00
Сообщений: 10686
Откуда: Москва
Рейтинг сообщения: 0
классная..в детсве били и вытаскивали внутренние горелки :) дома у меня гдето такое лежало

_________________
Ищу тиратрон ТХИ1-2000/4, ГРИ ИН-23, ФЭУ-103; 134; 135, 138, 155, 157, лампу ИСШ-7.
Любые ГИС серий 203, 225, 233, 244, 250, 296, 801, 838 в любом состоянии. Компоненты и детали от миниатюрных твердотельных лазеров.


Вернуться наверх
 
Не в сети
 Заголовок сообщения: Re: Часы на газоразрядных индикаторах
СообщениеДобавлено: Вс авг 15, 2010 19:19:30 
Друг Кота
Аватар пользователя

Карма: 50
Рейтинг сообщений: 1398
Зарегистрирован: Пт авг 28, 2009 21:34:30
Сообщений: 7315
Откуда: 845-й км.
Рейтинг сообщения: 0
Медали: 1
Получил миской по аватаре (1)
Злые тут некоторые. наверное смог достал. Я тут думал, предложат сделать кольцевой счетчик дней недели к часам...
Насчет пропеллера, мне кажется МТХ там никакой радости не дает. Тогда уж ТН-0.2. Но можете меня переубедить.
SLvik: это ж осветительная лампа... Я похожей (только ртутной) когда-то РФ2 стирал...

_________________
А люди посмотрят и скажут: "Собаки летят. Вот и осень."


Вернуться наверх
 
Не в сети
 Заголовок сообщения: Re: Часы на газоразрядных индикаторах
СообщениеДобавлено: Вс авг 15, 2010 19:27:51 
Друг Кота
Аватар пользователя

Карма: 46
Рейтинг сообщений: 977
Зарегистрирован: Ср май 28, 2008 00:32:54
Сообщений: 7616
Откуда: г. Россия
Рейтинг сообщения: 0
Да, опять забыл...
Это ДРИ3500-6 "ЛАМПА ДУГОВАЯ РТУТНАЯ С ИОДИДАМИ МЕТАЛЛОВ"
Применялась для освещения больших площадей.
Стадионов, ЖД станций и т.п.
Насколько я в курсе не УФ.

У меня ещё 5 типов ДНаТ 400 есть 80х годов выпуска.
Я не знаю, но по моему они уже не выпускаются - щаз в основном импорт.
Если интересно выложу. :roll:

_________________
Очень нравится неон
:) :)) :))) :)) :)
Мой проектик часиков с термометром на любых 6ти газоразрядных лампах + куча функций
Ещё один - попроще
:) :)) :))) :)) :)
Светодиодный проект
:))) :)) :) :)) :)))

My video on youtube nic SLvik78


Вернуться наверх
 
Не в сети
 Заголовок сообщения: Re: Часы на газоразрядных индикаторах
СообщениеДобавлено: Вс авг 15, 2010 20:15:48 
Мучитель микросхем
Аватар пользователя

Зарегистрирован: Ср дек 26, 2007 18:33:00
Сообщений: 422
Рейтинг сообщения: 0
uldemir писал(а):
Цитата:
Блин, вчера прошелся по рынку. С ИНками полный голяк. Вообще ничего нет. Попались только 2 ГДРовские. Гдеб еще хотя бы 2 таких взять.

На латгальчике? я там ИН-ки видел только в составе плат из всякой техники в самом дальнем левом углу. Вот из них я сделал свои теперешние часы.
Правда раз закупил десяток новеньких МТХ-90. Кстати, никто не посоветует, что можно было бы эдакое на них сделать?


Я бы заюзал как индикаторы секунд в составе ин-12, ин-4.


Вернуться наверх
 
Не в сети
 Заголовок сообщения: Re: Часы на газоразрядных индикаторах
СообщениеДобавлено: Вс авг 15, 2010 21:10:07 
Открыл глаза

Зарегистрирован: Вс ноя 29, 2009 19:38:40
Сообщений: 56
Рейтинг сообщения: 0
Цитата:
На латгальчике? я там ИН-ки видел только в составе плат из всякой техники в самом дальнем левом углу. Вот из них я сделал свои теперешние часы.
Правда раз закупил десяток новеньких МТХ-90. Кстати, никто не посоветует, что можно было бы эдакое на них сделать?


Там ещё есть коробочка от зубного порошка с ИН-16 . :))


Вернуться наверх
 
Не в сети
 Заголовок сообщения: Re: Часы на газоразрядных индикаторах
СообщениеДобавлено: Вс авг 15, 2010 21:23:03 
Потрогал лапой паяльник
Аватар пользователя

Карма: 1
Рейтинг сообщений: 8
Зарегистрирован: Пн июл 12, 2010 21:05:01
Сообщений: 335
Откуда: Донецк
Рейтинг сообщения: 0
Уважаемые!
Как все таки насчет замены транзистора. А то рынок аж через 2 дня. Еще у себя нашел (кроме силовых) bc547b, bc549, bc557, c5027 (вроде, до 15МГц), bfg71(до 7ГГц, но на него даташитов нет нигде). 2N3904, что по схеме, тоже, написано "транзистор общего применения". Может, чем-то из имеющегося у меня можно заменить? КТ315 обычного у меня нет.
Дроссель на 10мГ я нашел.

Спасибо большое.


Вернуться наверх
 
Не в сети
 Заголовок сообщения: Re: Часы на газоразрядных индикаторах
СообщениеДобавлено: Вс авг 15, 2010 21:33:18 
Мудрый кот
Аватар пользователя

Карма: 8
Рейтинг сообщений: 103
Зарегистрирован: Чт май 06, 2010 13:18:59
Сообщений: 1702
Рейтинг сообщения: 0
suslogon писал(а):
MyxoMop ерунды не говори, раз с вч никогда не работал...на вч дроссель в нагрузке каскада лучше любого резистора в миллион раз!!!!!!
так что дроссель оставить!!!!!!!а найти такой не проблема


Для тебя 5МГц это ВЧ :shock: Даю 99,9% что без дросселя будет работать так же, как и с ним. Да там вообще половину деталей можно выкинуть и работать будет.

Roha77 писал(а):
Как все таки насчет замены транзистора.

Ну а чем тогда BC547 не устраивает? или любой маломощный npn. Тебе без разницы, вот ежели это входной узел частотомера был, тогда...

uldemir писал(а):
На латгальчике? я там ИН-ки видел только в составе плат из всякой техники в самом дальнем левом углу. Вот из них я сделал свои теперешние часы.

Судя по описанию именно там. Только у того мужика уже ничго нет, кроме ИН-14. Но этих у меня и так много. Еще правда ИН-12 парочка была, но эти тоже есть.

maks19 писал(а):
Там ещё есть коробочка от зубного порошка с ИН-16

Где? Хочу!!! Как ее найти и скока стоят?


Вернуться наверх
 
Показать сообщения за:  Сортировать по:  Вернуться наверх
Начать новую тему Ответить на тему  [ Сообщений: 48919 ]     ... , , , 235, , , ...  

Часовой пояс: UTC + 3 часа


Кто сейчас на форуме

Сейчас этот форум просматривают: Google [Bot] и гости: 38


Вы не можете начинать темы
Вы не можете отвечать на сообщения
Вы не можете редактировать свои сообщения
Вы не можете удалять свои сообщения
Вы не можете добавлять вложения

Найти:
Перейти:  


Powered by phpBB © 2000, 2002, 2005, 2007 phpBB Group
Русская поддержка phpBB
Extended by Karma MOD © 2007—2012 m157y
Extended by Topic Tags MOD © 2012 m157y