Например TDA7294

Форум РадиоКот • Просмотр темы - Радиоглушитель.
Форум РадиоКот
Здесь можно немножко помяукать :)

Текущее время: Пн дек 29, 2025 14:53:32

Часовой пояс: UTC + 3 часа


ПРЯМО СЕЙЧАС:



Начать новую тему Ответить на тему  [ Сообщений: 672 ]    , , , 4, , , ...  
Автор Сообщение
Не в сети
 Заголовок сообщения: Re: Радиоглушитель! Вооот!
СообщениеДобавлено: Вс ноя 21, 2010 11:19:38 
Грызет канифоль

Зарегистрирован: Ср ноя 03, 2010 14:34:38
Сообщений: 290
Рейтинг сообщения: 0
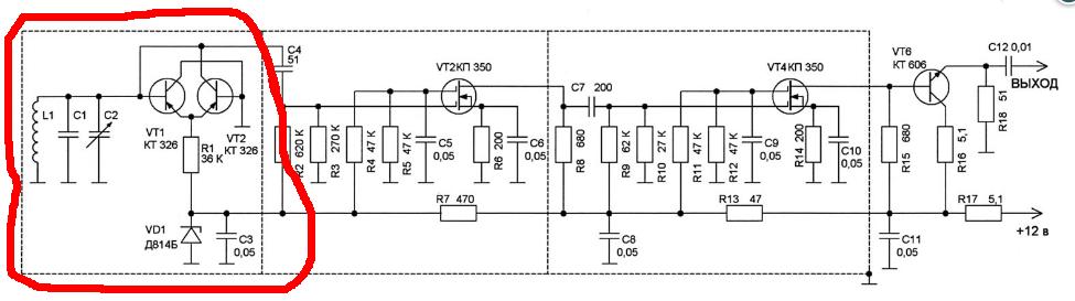
А еще скажите, из-за чего очень нестабильная работа этого генератора?Проявляется нестабильность в следующем: сигнал то появляется то проподает то появляется взяв в руки плату, то дотронувшись до антены. Все это в любом радиусе от приемника, хоть в притык. Говорят что это может быть из-за отсутствия экрана. Под словом экран предусматривается металлический корпус?


Вернуться наверх
 
Не в сети
 Заголовок сообщения: Re: Радиоглушитель! Вооот!
СообщениеДобавлено: Вс ноя 21, 2010 11:42:43 
Мудрый кот
Аватар пользователя

Карма: 19
Рейтинг сообщений: 166
Зарегистрирован: Сб окт 10, 2009 17:16:58
Сообщений: 1732
Откуда: Россия.
Рейтинг сообщения: 0
samuel писал(а):
А еще скажите, из-за чего очень нестабильная работа этого генератора?
Да потому что схема очень неграмотная. Ч например сразу бы не стал такую делать из-за её несовершенства.
Вы чего от этой схемы хотите?
Это кому то лень было мотать катушку с отводами и он засунул две первые попавшиеся ему в руки в обычный мультивибратор. Ему повезло и с его катушками заработало.
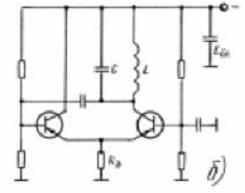
Если хотите двухтактный задающий генератор, то его примерно так делают.

Изображение

Только сейчас смысла нет такие делать. Делали раньше из-за дефицита мощных ВЧ транзисторов. Сейчас таких транзисторов полно.


Вернуться наверх
 
Не в сети
 Заголовок сообщения: Re: Радиоглушитель! Вооот!
СообщениеДобавлено: Вс ноя 21, 2010 11:49:47 
Грызет канифоль

Зарегистрирован: Ср ноя 03, 2010 14:34:38
Сообщений: 290
Рейтинг сообщения: 0
Ну а всетаки описанные проблемы чем вызваны? Отсутствием экрана?


Вернуться наверх
 
Не в сети
 Заголовок сообщения: Re: Радиоглушитель! Вооот!
СообщениеДобавлено: Вс ноя 21, 2010 12:11:17 
Мудрый кот
Аватар пользователя

Карма: 19
Рейтинг сообщений: 166
Зарегистрирован: Сб окт 10, 2009 17:16:58
Сообщений: 1732
Откуда: Россия.
Рейтинг сообщения: 0
Нет.
Главное здесь это несовершенство схемы.
Экран здесь может и повлияет, но он на десятом месте в данном случае. Если так хочется сделать генератор на мультивибраторе, то так будет грамотнее

download/file.php?id=32578

Только учтите, что описанный там генератор на транзисторах в барьерном режиме имеет малую нагрузочную способность.
Вам нужно делать по типовой схеме.

Изображение

Здесь на форуме есть большая тема про такие генераторы. Поиском можно поискать.


Вложения:
1.JPG [5.98 KiB]
Скачиваний: 3687
Вернуться наверх
 
Эиком - электронные компоненты и радиодетали
Не в сети
 Заголовок сообщения: Re: Радиоглушитель! Вооот!
СообщениеДобавлено: Вс ноя 21, 2010 12:20:03 
Грызет канифоль

Зарегистрирован: Ср ноя 03, 2010 14:34:38
Сообщений: 290
Рейтинг сообщения: 0
А с n-p-n есть?


Вернуться наверх
 
Не в сети
 Заголовок сообщения: Re: Радиоглушитель! Вооот!
СообщениеДобавлено: Вс ноя 21, 2010 12:27:06 
Мудрый кот
Аватар пользователя

Карма: 19
Рейтинг сообщений: 166
Зарегистрирован: Сб окт 10, 2009 17:16:58
Сообщений: 1732
Откуда: Россия.
Рейтинг сообщения: 0
Переверни в любой схеме питание, электролиты, диоды и ставь транзисторы с другой проводимостью.
В данном случае только питание перевернуть.


Вернуться наверх
 
Не в сети
 Заголовок сообщения: Re: Радиоглушитель! Вооот!
СообщениеДобавлено: Вс ноя 21, 2010 12:29:25 
Грызет канифоль

Зарегистрирован: Ср ноя 03, 2010 14:34:38
Сообщений: 290
Рейтинг сообщения: 0
А делитель на входе слева обязательно необходим? микровон стоять не будет.


Вернуться наверх
 
Не в сети
 Заголовок сообщения: Re: Радиоглушитель! Вооот!
СообщениеДобавлено: Вс ноя 21, 2010 12:43:19 
Мудрый кот
Аватар пользователя

Карма: 19
Рейтинг сообщений: 166
Зарегистрирован: Сб окт 10, 2009 17:16:58
Сообщений: 1732
Откуда: Россия.
Рейтинг сообщения: 0
samuel писал(а):
А делитель на входе слева обязательно необходим?
Трудно отвечать на отвлеченные вопросы.
Вы так и не сказали что добиться хотите?
Там же написано, что по типовой схеме смещение резисторами подается, а в барьерном режиме работы схема выглядит как красным объвел на картинке.
Схема на картинке, это та же схема, только по другому нарисована.

Эти схемы я с этого форума все беру. Вы говорите что Вам нужно, а я покажу уже существующую тему на этом форуме, а так приходится повторять то, что уже написано.


Вложения:
3.JPG [48.05 KiB]
Скачиваний: 906
Вернуться наверх
 
Не в сети
 Заголовок сообщения: Re: Радиоглушитель! Вооот!
СообщениеДобавлено: Вс ноя 21, 2010 13:03:23 
Грызет канифоль

Зарегистрирован: Ср ноя 03, 2010 14:34:38
Сообщений: 290
Рейтинг сообщения: 0
мне нужен генератор шума широкополосный...той схемой что я показал это реализуется, но только если вертеть в руках плату. сигнал посылается в какието определенный моменты. а нужно положить и пусть себе излучает.


Вернуться наверх
 
Не в сети
 Заголовок сообщения: Re: Радиоглушитель! Вооот!
СообщениеДобавлено: Вс ноя 21, 2010 13:39:34 
Мудрый кот
Аватар пользователя

Карма: 19
Рейтинг сообщений: 166
Зарегистрирован: Сб окт 10, 2009 17:16:58
Сообщений: 1732
Откуда: Россия.
Рейтинг сообщения: 0
samuel писал(а):
мне нужен генератор шума широкополосный...той схемой что я показал это реализуется
К сожалению я не вижу как там реализуется генерация шума.
Где это Вы прочитали такое? Вот TetraFast это генератор шума, а Ваша затрудняюсь ответить. Ждите, может кто лучше знает.
А различные глушилки лучше здесь посмотреть и выбрать подходящую для своих целей.

http://vrtp.ru/index.php?act=categories&cat=10

Хотя тоже с осторожностью нужно подходить. И там может всякое попасться.
Самое простое, если хотите глушить в каком то диапазоне, то просто делаете генератор СЧ и модулируете его или пилой или треугольником с частотой порядка 100 гц, что бы частота у него менялась в нужном Вам диапазоне частот.
Это самый примитивный, но довольно действенный способ глушения в какой то полосе частот по моему.
Можно например заглушить весь диапазон FM к примеру. Делаешь генератор и качаешь его частоту пилой или треугольником в диапазоне 88 - 108 мгц

Во всяком случае я так делал когда под окошком врубали приемник в машине на полную громкость и уходили. Просто к ГКЧ приделывал на выход кусок провода и включал. Было очень весело. :)


Вернуться наверх
 
Не в сети
 Заголовок сообщения: Re: Радиоглушитель! Вооот!
СообщениеДобавлено: Вс ноя 21, 2010 13:47:39 
Грызет канифоль

Зарегистрирован: Ср ноя 03, 2010 14:34:38
Сообщений: 290
Рейтинг сообщения: 0
Но эта точно глушит. сам проверял. только вот нестабильно. FM и телевизор до 800 Мгц. хотя у других вроде все стабильно.


Вернуться наверх
 
Не в сети
 Заголовок сообщения: Re: Радиоглушитель! Вооот!
СообщениеДобавлено: Вс ноя 21, 2010 16:48:38 
Грызет канифоль

Зарегистрирован: Ср ноя 03, 2010 14:34:38
Сообщений: 290
Рейтинг сообщения: 0
а еще скажите, антена влияет на емкость контура и соответственно на частоту? Спаршмваю пото му что нужно знать подбирать антену строго той длины что указал разработчик или произвольная антена?


Вернуться наверх
 
Не в сети
 Заголовок сообщения: глушилка сотовых.
СообщениеДобавлено: Пн ноя 22, 2010 14:20:34 
Потрогал лапой паяльник

Зарегистрирован: Сб окт 31, 2009 15:59:54
Сообщений: 322
Рейтинг сообщения: 0
здраствуйте.просьба МЯВторам меня не банить за оффтоп.прост не знал где напостить=)нужна схема подавителя сигнала сотового телефона в районе -7 метров.заранее благол\дарю.готовфе фирменые решения не предлагать


Вернуться наверх
 
Не в сети
 Заголовок сообщения: Re: глушилка сотовых.
СообщениеДобавлено: Пн ноя 22, 2010 15:28:34 
Мудрый кот
Аватар пользователя

Карма: 14
Рейтинг сообщений: 230
Зарегистрирован: Пн янв 12, 2009 01:59:20
Сообщений: 1815
Откуда: Россия.
Рейтинг сообщения: 0
Смотрите ссылку на два сообщение выше.
http://vrtp.ru/index.php?act=categories&cat=10
Там смотрели?


Вернуться наверх
 
Не в сети
 Заголовок сообщения: Re: Радиоглушитель! Вооот!
СообщениеДобавлено: Сб ноя 27, 2010 07:32:24 
Грызет канифоль

Зарегистрирован: Ср ноя 03, 2010 14:34:38
Сообщений: 290
Рейтинг сообщения: 0
samuel писал(а):
На что влияет R4 в этой схеме?


Еще хочу уточнить, R3 ограничивает ток в цепи К-Э? Поидее ток задают резисторы в базе, или это защита от скачка напряжения когда на катушке пропадает ток и соответственно напряжение прыгат...


Вложения:
post-29-1267988934.jpg [17.77 KiB]
Скачиваний: 919
Вернуться наверх
 
Не в сети
 Заголовок сообщения: Re: Радиоглушитель!
СообщениеДобавлено: Ср дек 01, 2010 14:14:29 
Грызет канифоль

Зарегистрирован: Ср ноя 03, 2010 14:34:38
Сообщений: 290
Рейтинг сообщения: 0
Скажите, для чего в схеме выше необходимо C4? Что бы снизить влияние емкости антены?


Вернуться наверх
 
Не в сети
 Заголовок сообщения: Wi-Fi глушитель
СообщениеДобавлено: Чт дек 23, 2010 10:53:57 
Родился

Зарегистрирован: Пн ноя 29, 2010 14:48:44
Сообщений: 1
Рейтинг сообщения: 0
здраствуйте
собсно интересует сабж))
встала задача предотвратить любую передачу данных по квартире
из всего нагугленного уловил шо необходим ВЧ генератор и усилитель, схемы вопщем простенькие, даже у вас тут на сайте есмь)
проблема в том шо это будет первое моё изобретение))
есле чтонибуть упустил, подскажите
ну и уж совсем сказочно будет есле ктонеть поделится работающей схемкой не нуждающейся в модификации :wink:


Вернуться наверх
 
Не в сети
 Заголовок сообщения: Глушилка радиостанций с цифровой перестройкой от компьютера
СообщениеДобавлено: Вс янв 09, 2011 10:45:58 
Грызет канифоль
Аватар пользователя

Карма: 1
Рейтинг сообщений: 0
Зарегистрирован: Ср дек 29, 2010 20:39:24
Сообщений: 279
Откуда: Томск
Рейтинг сообщения: 0
Здравствуйте.Хочу собрать глушилку станций FM диапазона,но не широкополосную,а настраиваемую на какую-то определенную станцию.Радиус действия около 50 метров.В передающей технике не сильна,поэтому прошу совета.Очень хотелось бы,чтобы перестройка глушилки велась цифровым методом,если же это безумно сложно,тогда будет шаговик связанный валом с переменным конденсатором передатчика-глушилки(управлять шаговиком несложно)но все же-а вдруг получится напрямую?
Нужно так - этот девайс + какая-то антенна расположены высоко под потолком большого помещения (высота около трех этажей),от него проводная линия rs232-485 вниз,заводится на компутер и с компутера задается частота глушения.Интересует сугубо передающая,аналоговая часть и как ее завязать с цифрой от МК.


Вернуться наверх
 
Не в сети
 Заголовок сообщения: Re: Радиоглушитель!
СообщениеДобавлено: Вс янв 09, 2011 11:08:53 
Мудрый кот
Аватар пользователя

Карма: 14
Рейтинг сообщений: 230
Зарегистрирован: Пн янв 12, 2009 01:59:20
Сообщений: 1815
Откуда: Россия.
Рейтинг сообщения: 0
Варикапом перестраивай схему, что тут в первом посту в теме привели. Вместо С1 его поставь. На варикап подавай напряжение с ЦАП, а ЦАПом управляй с помощью компьютера.
И зачем такие сложности?


Вернуться наверх
 
Не в сети
 Заголовок сообщения: Re: Радиоглушитель!
СообщениеДобавлено: Вс янв 09, 2011 12:07:58 
Грызет канифоль
Аватар пользователя

Карма: 1
Рейтинг сообщений: 0
Зарегистрирован: Ср дек 29, 2010 20:39:24
Сообщений: 279
Откуда: Томск
Рейтинг сообщения: 0
Так нужно :))) Поставлю на вход(а как его ставить туда,анодом или катодом к транзистору?)и что,прям так подавать с ЦАП постоянку?А диапазон этого напряжения какой?А полярность?Как в обычных транзисторных ключах,плюсом управлять?И да,на той схеме указана мощность 200-350 мВт,непонятно,хватит ли мне ее на дальность до 50 метров(радиус).Разьясните мне тупой :( Сразу куча вопросов...


Вернуться наверх
 
Показать сообщения за:  Сортировать по:  Вернуться наверх
Начать новую тему Ответить на тему  [ Сообщений: 672 ]    , , , 4, , , ...  

Часовой пояс: UTC + 3 часа


Кто сейчас на форуме

Сейчас этот форум просматривают: нет зарегистрированных пользователей и гости: 21


Вы не можете начинать темы
Вы не можете отвечать на сообщения
Вы не можете редактировать свои сообщения
Вы не можете удалять свои сообщения
Вы не можете добавлять вложения

Найти:
Перейти:  


Powered by phpBB © 2000, 2002, 2005, 2007 phpBB Group
Русская поддержка phpBB
Extended by Karma MOD © 2007—2012 m157y
Extended by Topic Tags MOD © 2012 m157y