Например TDA7294

Форум РадиоКот • Просмотр темы - Убийца комаров!
Форум РадиоКот
Здесь можно немножко помяукать :)

Текущее время: Вс янв 25, 2026 14:36:01

Часовой пояс: UTC + 3 часа


ПРЯМО СЕЙЧАС:



Начать новую тему Ответить на тему  [ Сообщений: 182 ]     ... , , , 7, , ,  
Автор Сообщение
Не в сети
 Заголовок сообщения: Re: Убийца комаров!
СообщениеДобавлено: Вс мар 04, 2012 16:26:37 
Встал на лапы

Карма: 1
Рейтинг сообщений: 0
Зарегистрирован: Сб мар 03, 2012 17:54:33
Сообщений: 117
Рейтинг сообщения: 0
З кОм больше подойдет?
Есть и такие (в избытке)


Вернуться наверх
 
Не в сети
 Заголовок сообщения: Re: Убийца комаров!
СообщениеДобавлено: Вс мар 04, 2012 17:00:35 
Грызет канифоль
Аватар пользователя

Зарегистрирован: Вс дек 18, 2011 14:41:24
Сообщений: 295
Откуда: Ангарск
Рейтинг сообщения: 0
Это надо экспериментально подбирать, чтоб была оптимальная температура. Думаю, в районе сотен Ом, рассеиваемая мощность желательно как можно меньше, чтоб эту самую температуру можно было получить минимальным током.


Вернуться наверх
 
Не в сети
 Заголовок сообщения: Re: Убийца комаров!
СообщениеДобавлено: Вс мар 04, 2012 19:21:16 
Встал на лапы

Карма: 1
Рейтинг сообщений: 0
Зарегистрирован: Сб мар 03, 2012 17:54:33
Сообщений: 117
Рейтинг сообщения: 0
ДА НУ...
лампочку к нему, лампочку! :))


Вернуться наверх
 
Не в сети
 Заголовок сообщения: УЛЬТРАЗВУК ОТ КОМАРОВ
СообщениеДобавлено: Сб апр 21, 2012 13:58:09 
Вымогатель припоя
Аватар пользователя

Зарегистрирован: Ср фев 09, 2011 02:33:14
Сообщений: 542
Рейтинг сообщения: 0
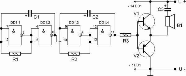
Всем привет!Решил собрать данный девайс написанным в http://elwo.ru/publ/ultrazvuk_ot_komarov/1-1-0-452 но возникли несколько вопросов,на которые прошу ответить.
1- На сайте правильная ли полярность светодиода HL1?Так как в журнале "Электронные схемы для умного дома" напечатана другая полярность.
2- Можно ли поставить светодиод типа от убитых компьютерных CD-DVD приводов (маленький такой зеленый светодиод) и нужно из-за этого что-то менять в схеме?
3- Пьезик у меня имеются ХСРТ22А (даташит http://www.rct.ru/catalogue/9/10/xcpt22a.8515.html ), и ЗП-22.Какой подойдёт для резистора R10 (5,6кОм и 3,9кОм)?



Тема дубль.
Сюда перенес.

aen

_________________
Помни: изменить свое мнение для того, чтобы исправить ошибку, - это подлинная свобода; в отличие от настойчивого упорствования в своей ошибке.(Марк Аврелий)


Вернуться наверх
 
Эиком - электронные компоненты и радиодетали
Не в сети
 Заголовок сообщения: Re: УЛЬТРАЗВУК ОТ КОМАРОВ
СообщениеДобавлено: Сб апр 21, 2012 14:51:24 
Модератор
Аватар пользователя

Карма: 159
Рейтинг сообщений: 4079
Зарегистрирован: Пт янв 23, 2009 19:20:05
Сообщений: 45499
Рейтинг сообщения: 0
Медали: 1
Получил миской по аватаре (1)
Рюмкин, ультразвуком отгоняют москитов, а не комаров! Комары на ультразвук не реагируют...


Вернуться наверх
 
Не в сети
 Заголовок сообщения: Re: Убийца комаров!
СообщениеДобавлено: Сб апр 21, 2012 15:54:28 
Говорящий с текстолитом
Аватар пользователя

Карма: 12
Рейтинг сообщений: 81
Зарегистрирован: Чт май 07, 2009 18:23:00
Сообщений: 1668
Откуда: Польша, Бытом.
Рейтинг сообщения: 0
Вот вопрос:
У кого ни будь любые из этих схем разогнали комаров?
Если, да.
То поделитесь

_________________
Мой канал на ТыТрубе


Вернуться наверх
 
Не в сети
 Заголовок сообщения: Re: Убийца комаров!
СообщениеДобавлено: Сб апр 21, 2012 19:57:26 
Вымогатель припоя
Аватар пользователя

Зарегистрирован: Ср фев 09, 2011 02:33:14
Сообщений: 542
Рейтинг сообщения: 0
Может кто ответит на мои вопросы на предыдущем посте?

_________________
Помни: изменить свое мнение для того, чтобы исправить ошибку, - это подлинная свобода; в отличие от настойчивого упорствования в своей ошибке.(Марк Аврелий)


Вернуться наверх
 
Не в сети
 Заголовок сообщения: Re: Убийца комаров!
СообщениеДобавлено: Вс апр 22, 2012 13:07:43 
Друг Кота
Аватар пользователя

Карма: 129
Рейтинг сообщений: 2973
Зарегистрирован: Вт дек 20, 2011 12:46:51
Сообщений: 73965
Откуда: Петроград
Рейтинг сообщения: 0
2- можно
3- есть подозрение, что разница будет только в громкости сигнала...в какую сторону- не знаю
по поводу полярности светодиода- вроде правильно

_________________
https://www.int-s.spb.ru
" Можно я лягу?"(C)


Вернуться наверх
 
Не в сети
 Заголовок сообщения: Отпугиватель медведки
СообщениеДобавлено: Вс май 20, 2012 21:07:20 
Открыл глаза

Зарегистрирован: Вс май 30, 2010 19:09:30
Сообщений: 58
Рейтинг сообщения: 0
Нужен Ваш совет в инете нашел пару схем отпугивателя насекомих кротов медведки на к155ла7 и на мультивибраторе может кто кто делал. какие совет. помогает ?



Тема дубль.
Сюда перенес.

aen


Вложения:
pic1_0.jpg [22.82 KiB]
Скачиваний: 610
pic4_1a.jpg [18.09 KiB]
Скачиваний: 394
Вернуться наверх
 
Не в сети
 Заголовок сообщения: Re: Отпугиватель медведки
СообщениеДобавлено: Вс май 20, 2012 21:11:08 
Говорящий с текстолитом
Аватар пользователя

Карма: 10
Рейтинг сообщений: 16
Зарегистрирован: Сб фев 18, 2012 15:42:29
Сообщений: 1644
Откуда: Курск
Рейтинг сообщения: 0
смотря какая частота колебаний и какой динамик. детали номиналы не указаны на схемах


Вернуться наверх
 
Не в сети
 Заголовок сообщения: Re: Отпугиватель медведки
СообщениеДобавлено: Вс май 20, 2012 21:32:19 
Открыл глаза

Зарегистрирован: Вс май 30, 2010 19:09:30
Сообщений: 58
Рейтинг сообщения: 0
мультик R1, R4 – 1 ком; R2, R3 – 39 ком; R5 – 510 ом; С1, С2, С3 – 0,1 мкФ; V1,V2 – МП 26 или МП42; V3 – ГТ 402, ГТ403.

микра
микросхема К155ЛА3 или К131ЛА3, С1 – 2200 мкФ, С2 – 4,7 мкФ, С3 – 47 - 100 мкФ, R1-R2 – 430 Ом, R3 – 1 ком, V1 – КТ315, V2 - КТ361 или другие маломощные транзисторы, например серии “МП”. Динамическая головка мощностью 0,25 Вт со звуковой катушкой сопротивлением 8 – 10 Ом. Для увеличения мощности можно использовать транзисторы, например V1 – ГТ404, V2 ГТ402. Питание 4,5 – 5V


Вернуться наверх
 
Не в сети
 Заголовок сообщения: Re: Отпугиватель медведки
СообщениеДобавлено: Пн май 21, 2012 11:39:17 
Друг Кота
Аватар пользователя

Карма: 129
Рейтинг сообщений: 2973
Зарегистрирован: Вт дек 20, 2011 12:46:51
Сообщений: 73965
Откуда: Петроград
Рейтинг сообщения: 0
laky писал(а):
Нужен Ваш совет в инете нашел пару схем отпугивателя насекомих кротов медведки на к155ла7 и на мультивибраторе может кто кто делал. какие совет. помогает?

толку...вместо кротов зайцы набежали...
потом кроты вернулись...

вообще бороться с биосферой надо её методами :))
http://delaysam.ru/sadovodstvo/sadovodstvo15.html

_________________
https://www.int-s.spb.ru
" Можно я лягу?"(C)


Вернуться наверх
 
Не в сети
 Заголовок сообщения: Re: Отпугиватель медведки
СообщениеДобавлено: Вт май 22, 2012 20:13:52 
Открыл глаза

Зарегистрирован: Вс май 30, 2010 19:09:30
Сообщений: 58
Рейтинг сообщения: 0
Maykill писал(а):
laky писал(а):
Нужен Ваш совет в инете нашел пару схем отпугивателя насекомих кротов медведки на к155ла7 и на мультивибраторе может кто кто делал. какие совет. помогает?

толку...вместо кротов зайцы набежали...
потом кроты вернулись...

вообще бороться с биосферой надо её методами :))
http://delaysam.ru/sadovodstvo/sadovodstvo15.html

нужно именно от медведки
http://asakasport.shop.by/3964/12971/12970/ ти такого


Вернуться наверх
 
Не в сети
 Заголовок сообщения: Re: Убийца комаров!
СообщениеДобавлено: Чт май 24, 2012 19:40:49 
Встал на лапы

Карма: 1
Рейтинг сообщений: 0
Зарегистрирован: Пн ноя 27, 2006 20:58:02
Сообщений: 97
Рейтинг сообщения: 0
почитайте архив, как комары боятся ИК-засветки и не могут найти жертву.
Просто музыкальная микросхема из китайской игрушки с частотой звука 100-8000 Гц, но не на динамик, а на ИК-диоды.
viewtopic.php?f=20&t=46512&start=20
viewtopic.php?f=25&t=21337&start=20

архив komar.rar


Вернуться наверх
 
Не в сети
 Заголовок сообщения: Re: Убийца комаров!
СообщениеДобавлено: Пт май 25, 2012 19:16:23 
Друг Кота

Зарегистрирован: Ср май 05, 2010 13:31:29
Сообщений: 6900
Рейтинг сообщения: 0
Медали: 1
Получил миской по аватаре (1)
+Андрей+ писал(а):
ДА НУ...
лампочку к нему, лампочку! :))

она как-раз имеет сопротивление в несколько сотен ом

_________________
Спасибо за внимание.


Вернуться наверх
 
Не в сети
 Заголовок сообщения: Re: Убийца комаров!
СообщениеДобавлено: Пн май 28, 2012 23:18:58 
Открыл глаза

Зарегистрирован: Вс апр 27, 2008 18:14:01
Сообщений: 65
Рейтинг сообщения: 0
интеренсно, а как комары относятся к тому, что бы на них светить ИК лазером? Или лазерной указкой?
То есть попробовать ночью определять местоположение комара, затем светить на него лазером. сойдет ли с ума комар?

поправка: только что поймал комара, направил на него пульт - ему пофиг. потом направил на комара, который сидел на стенке - пофиг. почти ткнул ему в морду пульт - пофиг. чуть дрогнула рука - он улетел


Вернуться наверх
 
Не в сети
 Заголовок сообщения: Re: Убийца комаров!
СообщениеДобавлено: Ср май 30, 2012 20:21:56 
Поставщик валерьянки для Кота
Аватар пользователя

Карма: 11
Рейтинг сообщений: 26
Зарегистрирован: Вс июн 26, 2011 20:03:21
Сообщений: 2316
Рейтинг сообщения: 0
На ультразвук к вам все собаки сбегутся, а на ИК по моему бабочки слетаются... :)


Вернуться наверх
 
Не в сети
 Заголовок сообщения: Re: Убийца комаров!
СообщениеДобавлено: Сб июн 02, 2012 17:12:30 
Поставщик валерьянки для Кота

Карма: 5
Рейтинг сообщений: 21
Зарегистрирован: Пт авг 29, 2008 16:28:19
Сообщений: 2108
Откуда: Киев
Рейтинг сообщения: 0
Добавлю в эту кучу "гениальных идей" свою:

Делаем высоковольтный источник (из строчника и умножителя), его выход подключаем поочередно к параллельным металлическим пластинам, расположенным на одинаковом расстоянии прямо в форточке (так чтобы между любыми двумя соседними пластинами могла возникнуть искра). Настраиваем источник так, чтобы напряжение было немного меньше напряжения пробоя. Когда комар пролетает между пластинами, напряженность поля возрастает, и возникает дуга прямо через комара. Конденсаторы умножителя довольно быстро рязрядятся и дуга погаснет.

Недостатки:
1. Самый простой вариант из двух пластин требует однако нескольких сотен киловольт напряжения.
2. Более сложные варианты (с большим кол-вом пластин) понижают useability форточки.
3. Устройство чрезвычайно опасно для разработчика, для пользователя, и для посторонних людей.
4. Устройство придется подстраивать при смене влажности воздуха, а она может меняться и несколько раз за ночь.
5. В комнате, скорее всего, будет жутко вонять озоном (вплоть до отравления им).

_________________
Giggity giggity goo!


Вернуться наверх
 
Не в сети
 Заголовок сообщения: Re: Убийца комаров!
СообщениеДобавлено: Сб июн 02, 2012 17:26:29 
Поставщик валерьянки для Кота
Аватар пользователя

Карма: 11
Рейтинг сообщений: 26
Зарегистрирован: Вс июн 26, 2011 20:03:21
Сообщений: 2316
Рейтинг сообщения: 0
Foks писал(а):
5. В комнате, скорее всего, будет жутко вонять озоном (вплоть до отравления им).

Ну раз так, то полюбому надо делать..... Заодно и комары сдохнут :)))


Вернуться наверх
 
Не в сети
 Заголовок сообщения: Re: Убийца комаров!
СообщениеДобавлено: Пн июн 11, 2012 18:18:12 
Грызет канифоль

Зарегистрирован: Чт ноя 04, 2010 09:56:34
Сообщений: 280
Рейтинг сообщения: 0
Провел опыт. Направил на полудохлого комара луч фонарика - улетел :dont_know: Похоже,что его не совсем ослепило - улетел в сторону форточки.


Вернуться наверх
 
Показать сообщения за:  Сортировать по:  Вернуться наверх
Начать новую тему Ответить на тему  [ Сообщений: 182 ]     ... , , , 7, , ,  

Часовой пояс: UTC + 3 часа


Кто сейчас на форуме

Сейчас этот форум просматривают: нет зарегистрированных пользователей и гости: 15


Вы не можете начинать темы
Вы не можете отвечать на сообщения
Вы не можете редактировать свои сообщения
Вы не можете удалять свои сообщения
Вы не можете добавлять вложения

Найти:
Перейти:  


Powered by phpBB © 2000, 2002, 2005, 2007 phpBB Group
Русская поддержка phpBB
Extended by Karma MOD © 2007—2012 m157y
Extended by Topic Tags MOD © 2012 m157y