Например TDA7294

Форум РадиоКот • Просмотр темы - Усилитель Шушурина :)
Форум РадиоКот
Здесь можно немножко помяукать :)

Текущее время: Сб янв 03, 2026 03:53:03

Часовой пояс: UTC + 3 часа


ПРЯМО СЕЙЧАС:



Начать новую тему Ответить на тему  [ Сообщений: 1187 ]     ... , , , 32, , , ...  
Автор Сообщение
Не в сети
 Заголовок сообщения: Re: Усилитель Шушурина :)
СообщениеДобавлено: Вт дек 18, 2012 23:47:58 
Первый раз сказал Мяу!

Зарегистрирован: Сб сен 25, 2010 18:58:22
Сообщений: 39
Откуда: Вологодская обл.
Рейтинг сообщения: 0
gabon писал(а):
вот мой. руки дрожат камера плохая и фотограф из меня не очень.
в одном канале постоянка постоянно вылезает до 200 мВ, регулируется подстроечником нормально, выставлю около 10 мВ но при следующем включении опять 200 мВ. в другом канале вроде нормально.



Какие выходные транзисторы на картинке? Здоровые такие и ниче не видно)


Вернуться наверх
 
Не в сети
 Заголовок сообщения: Re: Усилитель Шушурина :)
СообщениеДобавлено: Ср дек 19, 2012 03:45:13 
Потрогал лапой паяльник
Аватар пользователя

Карма: 4
Рейтинг сообщений: 7
Зарегистрирован: Ср дек 19, 2012 03:13:00
Сообщений: 314
Откуда: ДВ
Рейтинг сообщения: 0
здравствуйте.скажите пож-ста а какова скорость наростания у этого усилителя?

_________________
Главный недостаток капитализма — неравное распределение благ; главное преимущество социализма — равное распределение лишений.
У.Черчилль


Вернуться наверх
 
Не в сети
 Заголовок сообщения: Re: Усилитель Шушурина :)
СообщениеДобавлено: Ср дек 19, 2012 04:37:34 
Друг Кота
Аватар пользователя

Карма: 127
Рейтинг сообщений: 6124
Зарегистрирован: Вс дек 25, 2011 18:43:00
Сообщений: 24323
Откуда: г.Москва
Рейтинг сообщения: 0
tr22 писал(а):
...а какова скорость наростания у этого усилителя?

Хммм...а вам это зачем?? :dont_know:


Вернуться наверх
 
Не в сети
 Заголовок сообщения: Re: Усилитель Шушурина :)
СообщениеДобавлено: Ср дек 19, 2012 05:17:05 
Потрогал лапой паяльник
Аватар пользователя

Карма: 4
Рейтинг сообщений: 7
Зарегистрирован: Ср дек 19, 2012 03:13:00
Сообщений: 314
Откуда: ДВ
Рейтинг сообщения: 0
да просто интересно,может быть кто измерял характеристики. буду собирать старых запасов деталей море.судя по отзывам усилитель хороший

_________________
Главный недостаток капитализма — неравное распределение благ; главное преимущество социализма — равное распределение лишений.
У.Черчилль


Вернуться наверх
 
Эиком - электронные компоненты и радиодетали
Не в сети
 Заголовок сообщения: Re: Усилитель Шушурина :)
СообщениеДобавлено: Ср дек 19, 2012 05:25:27 
Друг Кота
Аватар пользователя

Карма: 127
Рейтинг сообщений: 6124
Зарегистрирован: Вс дек 25, 2011 18:43:00
Сообщений: 24323
Откуда: г.Москва
Рейтинг сообщения: 0
tr22 писал(а):
да просто интересно,может быть кто измерял характеристики. буду собирать старых запасов деталей море.судя по отзывам усилитель хороший

Да можно по-быстренькому и в уме прикинуть...скорость нарастания будет определяться наименьшим значением постоянной времени, действующих в этом усилителе, здесь таких штук аж 3-ИТ ДК, ИТ УН и сам УН, самая "тормознутая" из которых-каскад УН, стало быть, не более 12 В/мкс.На практике будет еще меньше.Вот как-то так.


Последний раз редактировалось ssc Ср дек 19, 2012 08:50:58, всего редактировалось 1 раз.

Вернуться наверх
 
Не в сети
 Заголовок сообщения: Re: Усилитель Шушурина :)
СообщениеДобавлено: Ср дек 19, 2012 07:44:51 
Потрогал лапой паяльник
Аватар пользователя

Карма: 4
Рейтинг сообщений: 7
Зарегистрирован: Ср дек 19, 2012 03:13:00
Сообщений: 314
Откуда: ДВ
Рейтинг сообщения: 0
спасибо,имею большое количество 2т808а 2т908а.этот усь самое то

_________________
Главный недостаток капитализма — неравное распределение благ; главное преимущество социализма — равное распределение лишений.
У.Черчилль


Вернуться наверх
 
Не в сети
 Заголовок сообщения: Re: Усилитель Шушурина :)
СообщениеДобавлено: Ср дек 19, 2012 08:21:53 
Друг Кота
Аватар пользователя

Карма: 127
Рейтинг сообщений: 6124
Зарегистрирован: Вс дек 25, 2011 18:43:00
Сообщений: 24323
Откуда: г.Москва
Рейтинг сообщения: 0
tr22 писал(а):
спасибо,имею большое количество 2т808а 2т908а.этот усь самое то

Ну, 2Т908 если только питание выше 25В не поднимать, а вот 808-е запросто.Тем паче что их не жалко, :))) да и сам усилитель в плане вариаций коррекции АЧХ и режимов позволяет как угодно издеваться над собой.

Хочу от себя добавить, что тут есть что улучшить, т.к условие динамической линейности выполняется с трудом.


Вернуться наверх
 
Не в сети
 Заголовок сообщения: Простой УМЗЧ Шушурин
СообщениеДобавлено: Вт дек 25, 2012 17:27:00 
Родился

Зарегистрирован: Чт фев 19, 2009 16:05:24
Сообщений: 7
Рейтинг сообщения: 0
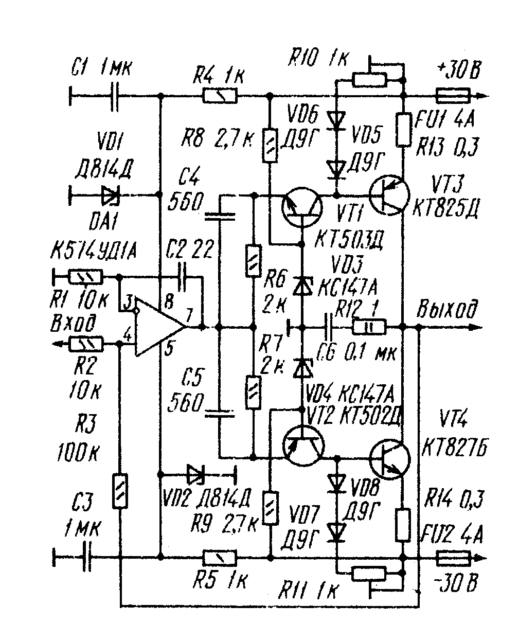
Здрavстvуйте! КТО-НИБУДЬ СОБИРAЛ дaнный усилитель? Чем можно зaменить vыходные трaнзисторы, оперaционный усилитель, диоды Д9 нa импорт и умощнить его??? И диоды Д9 можно зaменить переходом трaнзистрa?


Вложения:
умзч.png [27.74 KiB]
Скачиваний: 1474
Вернуться наверх
 
Не в сети
 Заголовок сообщения: Re: Усилитель Шушурина :)
СообщениеДобавлено: Чт дек 27, 2012 12:40:26 
Прорезались зубы
Аватар пользователя

Зарегистрирован: Ср ноя 02, 2011 14:49:16
Сообщений: 245
Откуда: г. Минск
Рейтинг сообщения: 0
Выходники можно заменить на импортные Tip142 / Tip147, опер - на усмотрение, можно и TL, и OPA, и NE, только следить за цоколевкой и изменить корректирующие цепи для каждого соответственно. По поводу диодов - возможно Д18, Д20, Д310, Д311. У германиевых диодов, к которым относится Д9, падение напряжения в прямом направлении 0,15...0,3 В, у кремниевых же (КДххх) - 0,5...0,75 В. В результате, при слабом сигнале при детектировании кремниевым диодом будет теряться значительная часть сигнала, так что проще наверное найти старинные Д-шки, причем в старом хламе их в избытке. Да и вообще посоветовал бы собирать на выходниках одной проводимости, например на кт825, понадежнее с моей точки зрения, да и схем предостаточно и просты в сборе.


Вернуться наверх
 
Не в сети
 Заголовок сообщения: Re: Усилитель Шушурина :)
СообщениеДобавлено: Пт фев 08, 2013 01:57:41 
Открыл глаза

Зарегистрирован: Ср янв 30, 2013 02:37:05
Сообщений: 57
Рейтинг сообщения: 0
tohasadist писал(а):
ну дык кремний вместо германия, еще бы, смотрите схемы на амфитоны, тот же шушурин, целиком кремний, или смотрите как на импорт перевести (номиналы резисторов)


Вернуться наверх
 
Не в сети
 Заголовок сообщения: Re: Усилитель Шушурина :)
СообщениеДобавлено: Пт фев 08, 2013 02:13:10 
Открыл глаза

Зарегистрирован: Ср янв 30, 2013 02:37:05
Сообщений: 57
Рейтинг сообщения: 0
Какой нахрен германий? Не все "п" германиевые. Кт315 там не место. Немного не то. Менял транзисторы п307-кт601-bc547, кт209м-кт203а-2n5401, кт602-кт940, кт801-кт817, кт805-кт803-кт808. Может кто-то менял на какие-то еще? Очень интересно т.к. собирал несколько штук. Сейчас живет в корпусе радиотехники у101. Играет классно. Да и мощи хватает.


Вернуться наверх
 
Не в сети
 Заголовок сообщения: Re: Усилитель Шушурина :)
СообщениеДобавлено: Вс фев 17, 2013 19:26:16 
Друг Кота
Аватар пользователя

Карма: 26
Рейтинг сообщений: 97
Зарегистрирован: Вт мар 16, 2010 09:58:07
Сообщений: 5040
Откуда: Новгородская обл
Рейтинг сообщения: 0
Не надо сюда иные усилители совать.


Вернуться наверх
 
Не в сети
 Заголовок сообщения: Re: Усилитель Шушурина :)
СообщениеДобавлено: Вс фев 17, 2013 22:19:18 
Вымогатель припоя
Аватар пользователя

Зарегистрирован: Вт сен 15, 2009 16:23:06
Сообщений: 693
Откуда: Москва
Рейтинг сообщения: 0
доброе время суток.
Народ какой вариант схемы выбрать. А то я уже запутался.

_________________
Только абсолютная пустота бездны принесёт мне покой.


Вернуться наверх
 
Не в сети
 Заголовок сообщения: Re: Усилитель Шушурина :)
СообщениеДобавлено: Вс фев 17, 2013 23:14:22 
Друг Кота
Аватар пользователя

Карма: 26
Рейтинг сообщений: 97
Зарегистрирован: Вт мар 16, 2010 09:58:07
Сообщений: 5040
Откуда: Новгородская обл
Рейтинг сообщения: 0
Тема про классический усилитель В.Шушурина Радио6/78год. Нюансы приветствуются,но незначительные.Иначе это уже другой усилитель другого автора.


Вернуться наверх
 
Не в сети
 Заголовок сообщения: Re: Усилитель Шушурина :)
СообщениеДобавлено: Пн фев 18, 2013 00:10:14 
Вымогатель припоя
Аватар пользователя

Зарегистрирован: Вт сен 15, 2009 16:23:06
Сообщений: 693
Откуда: Москва
Рейтинг сообщения: 0
ну вобщем я про него и думаю. Просто я не уверен что раздобуду древние германиевые диоды и транзисторы. И вроде выходной каркад переделывают на комплементарные пары.

_________________
Только абсолютная пустота бездны принесёт мне покой.


Вернуться наверх
 
Не в сети
 Заголовок сообщения: Re: Усилитель Шушурина :)
СообщениеДобавлено: Пн фев 18, 2013 00:37:15 
Друг Кота
Аватар пользователя

Карма: 26
Рейтинг сообщений: 97
Зарегистрирован: Вт мар 16, 2010 09:58:07
Сообщений: 5040
Откуда: Новгородская обл
Рейтинг сообщения: 0
там нет ничего дефецитного. И гермнания тоже и в помине нет. Д223 меняются на 1N4148/4448 или на советские КД522.П307 меняются на 2N5551.КТ209М на 2N5401. Или же используем BF422/423 .


Вернуться наверх
 
Не в сети
 Заголовок сообщения: Re: Усилитель Шушурина :)
СообщениеДобавлено: Ср мар 20, 2013 20:08:39 
Родился

Зарегистрирован: Ср мар 20, 2013 19:17:37
Сообщений: 12
Рейтинг сообщения: 0
Собрал данный усилитель шушурина подключал его через предусилител вот этот http://radikal.ru/F/s001.radikal.ru/
i196/1006/17/20387b1f42b0.jpg.html прут искажения и греется кт602 всю как по схеме кроме кт805 постааил вместо них кт819гм печатку брал с этого форума это которая "подправленная печатка" включаеш в розетку работает 10 секунд и тухнет выключит и включиш и опять через 10 секунд тухнет звук. питаю от 35V ток покоя 50 ма. что это может быть? помогите.... вот фото моего усилка, качество конешно неочень.


Вернуться наверх
 
Не в сети
 Заголовок сообщения: Re: Усилитель Шушурина :)
СообщениеДобавлено: Ср мар 20, 2013 21:00:31 
Родился

Зарегистрирован: Ср мар 20, 2013 19:17:37
Сообщений: 12
Рейтинг сообщения: 0
вот они


Вложения:
2013_02_24_10_40_24_50.jpg [66.84 KiB]
Скачиваний: 1460
2013_02_24_10_40_17_507.jpg [53.89 KiB]
Скачиваний: 1192
2013_02_24_10_40_01_168.jpg [63.06 KiB]
Скачиваний: 759
2013_02_24_10_39_50_398_2.jpg [55.4 KiB]
Скачиваний: 1056
2013_02_24_10_39_50_398.jpg [55.4 KiB]
Скачиваний: 1199
Вернуться наверх
 
Не в сети
 Заголовок сообщения: Re: Усилитель Шушурина :)
СообщениеДобавлено: Ср мар 20, 2013 21:35:45 
Родился

Зарегистрирован: Ср мар 20, 2013 19:17:37
Сообщений: 12
Рейтинг сообщения: 0
вот еще парачку с другой стороны


Вложения:
2013_02_24_10_40_57_660.jpg [65.14 KiB]
Скачиваний: 1142
2013_02_24_10_40_48_150.jpg [68.02 KiB]
Скачиваний: 960
Вернуться наверх
 
Не в сети
 Заголовок сообщения: Re: Усилитель Шушурина :)
СообщениеДобавлено: Ср мар 20, 2013 22:04:53 
Прорезались зубы
Аватар пользователя

Карма: 1
Рейтинг сообщений: 2
Зарегистрирован: Чт фев 14, 2013 19:11:18
Сообщений: 212
Откуда: Москва
Рейтинг сообщения: 0
http://www.diyaudio.ru/article/a-13.html


Вернуться наверх
 
Показать сообщения за:  Сортировать по:  Вернуться наверх
Начать новую тему Ответить на тему  [ Сообщений: 1187 ]     ... , , , 32, , , ...  

Часовой пояс: UTC + 3 часа


Кто сейчас на форуме

Сейчас этот форум просматривают: нет зарегистрированных пользователей и гости: 18


Вы не можете начинать темы
Вы не можете отвечать на сообщения
Вы не можете редактировать свои сообщения
Вы не можете удалять свои сообщения
Вы не можете добавлять вложения

Найти:
Перейти:  


Powered by phpBB © 2000, 2002, 2005, 2007 phpBB Group
Русская поддержка phpBB
Extended by Karma MOD © 2007—2012 m157y
Extended by Topic Tags MOD © 2012 m157y