Например TDA7294

Форум РадиоКот • Просмотр темы - Усилитель от Мезон 201
Форум РадиоКот
Здесь можно немножко помяукать :)

Текущее время: Чт окт 16, 2025 17:37:45

Часовой пояс: UTC + 3 часа


ПРЯМО СЕЙЧАС:



Начать новую тему Ответить на тему  [ Сообщений: 48 ]  1, ,  
Автор Сообщение
Не в сети
 Заголовок сообщения: Усилитель от Мезон 201
СообщениеДобавлено: Сб фев 20, 2021 14:52:50 
Грызет канифоль
Аватар пользователя

Зарегистрирован: Сб июн 16, 2018 20:56:13
Сообщений: 267
Рейтинг сообщения: 0
Всем привет. Попал в руки усилитель от приемника Мезон 201, Помогите найти схему и как его подключить?
Помимо простого интереса хочу его куда ни то пристроить, но на сколько целесообразно его применение в современном мире? 8) Например как выходник для небольшого комбика или еще куда ни то в гитарную тему...
Изображение

_________________
Иногда наука больше искусство, чем наука. Многие люди не понимают этого.


Вернуться наверх
 
Не в сети
 Заголовок сообщения: Re: Усилитель от Мезон 201
СообщениеДобавлено: Сб фев 20, 2021 15:10:41 
Друг Кота

Карма: 14
Рейтинг сообщений: 372
Зарегистрирован: Вс фев 15, 2009 01:04:58
Сообщений: 5066
Откуда: Kaluga
Рейтинг сообщения: 0
Стоящие на нем К50-3 - 90% что уже перестали являться конденсаторами. При выходе около 2 ватт толку от него около никакого.

Учу поиску в интернете ...дорого : http://www.rw6ase.narod.ru/00/rpl_ps/mezon2012.html


Вернуться наверх
 
Не в сети
 Заголовок сообщения: Re: Усилитель от Мезон 201
СообщениеДобавлено: Сб фев 20, 2021 15:13:58 
Грызет канифоль
Аватар пользователя

Зарегистрирован: Сб июн 16, 2018 20:56:13
Сообщений: 267
Рейтинг сообщения: 0
Вопрос не столько в мощности сколько в звучании.
Схема там в мануале в формате djvu?

_________________
Иногда наука больше искусство, чем наука. Многие люди не понимают этого.


Вернуться наверх
 
Не в сети
 Заголовок сообщения: Re: Усилитель от Мезон 201
СообщениеДобавлено: Сб фев 20, 2021 15:15:26 
Потрогал лапой паяльник
Аватар пользователя

Карма: 5
Рейтинг сообщений: 170
Зарегистрирован: Пт апр 17, 2020 17:32:23
Сообщений: 357
Откуда: Краснодар
Рейтинг сообщения: 0
Adeptus Mechanicus, качай полный мануал.
djvu


Вернуться наверх
 
Эиком - электронные компоненты и радиодетали
Не в сети
 Заголовок сообщения: Re: Усилитель от Мезон 201
СообщениеДобавлено: Сб фев 20, 2021 15:24:27 
Друг Кота
Аватар пользователя

Карма: 106
Рейтинг сообщений: 3286
Зарегистрирован: Сб фев 11, 2017 15:59:13
Сообщений: 14711
Откуда: 57 RUS
Рейтинг сообщения: 0
Adeptus Mechanicus писал(а):
Вопрос не столько в мощности сколько в звучании.

С советскими высокодобротными шириками звучать будет интересно.

_________________
НАРОДОВЛАСТИЕ а не дерьмократия!!!
Суверенным и независимым может считаться только то государство, против которого англосаксонские разносчики кланово-олигархической дерьмократии и еврогейских "ценностей" со своими пособниками ввели санкции!


Вернуться наверх
 
Не в сети
 Заголовок сообщения: Re: Усилитель от Мезон 201
СообщениеДобавлено: Сб фев 20, 2021 15:24:54 
Друг Кота
Аватар пользователя

Карма: 103
Рейтинг сообщений: 3779
Зарегистрирован: Пн фев 09, 2009 22:19:49
Сообщений: 23741
Откуда: Когда-то был прекрасный город для людей
Рейтинг сообщения: 0
Звучание у него отвратительное, доводилось его дооолго слушать.


Вернуться наверх
 
В сети
 Заголовок сообщения: Re: Усилитель от Мезон 201
СообщениеДобавлено: Сб фев 20, 2021 15:25:59 
Друг Кота
Аватар пользователя

Карма: 196
Рейтинг сообщений: 8554
Зарегистрирован: Пн ноя 30, 2009 03:00:01
Сообщений: 42708
Откуда: Нерезиновая
Рейтинг сообщения: 0
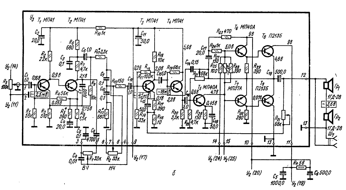
http://rw6ase.narod.ru/00/rpl_ps/mezon201bd.djvu
http://rw6ase.narod.ru/00/rpl_ps/mezon2012.djvu
СпойлерИзображение

Правда "гитарный комбик" мощностью в 1 ватт.. :dont_know:
А с конденсаторами- сначала надо подключить и посмотреть, как работает, а уж потом выполнять пожелания "адептов глобальной замены советских конденсаторов с неопределённым сроком службы на китайцев с заведомо ограниченным сроком службы".. Пример уже был недавно- один форумчанин уже и "косу" приготовил, но, сначала, поддавшись на уговоры, включил приёмник, и убедился, что он вполне исправно работает. :))

Звучание у него отвратительное,

Зато "настоящий германиевый звук"!!!! :))) :))) :))) :)))


Вложения:
УНЧ Мезон201-2.png [93.75 KiB]
Скачиваний: 377


Последний раз редактировалось АлександрЛ Сб фев 20, 2021 15:27:32, всего редактировалось 1 раз.
Вернуться наверх
 
Не в сети
 Заголовок сообщения: Re: Усилитель от Мезон 201
СообщениеДобавлено: Сб фев 20, 2021 15:38:23 
Грызет канифоль
Аватар пользователя

Зарегистрирован: Сб июн 16, 2018 20:56:13
Сообщений: 267
Рейтинг сообщения: 0
С советскими высокодобротными шириками звучать будет интересно.

А с какими именно?

Добавлено after 2 minutes 38 seconds:
А куда подключаются выводы 9, 10, 11, 13, 14, 15? Не до конца пока в мануале разобрался

Добавлено after 9 minutes 12 seconds:
Зато "настоящий германиевый звук"!!!! :))) :))) :))) :)))

Вот поэтому и интересно послушать :))

_________________
Иногда наука больше искусство, чем наука. Многие люди не понимают этого.


Вернуться наверх
 
Не в сети
 Заголовок сообщения: Re: Усилитель от Мезон 201
СообщениеДобавлено: Сб фев 20, 2021 15:43:45 
Друг Кота
Аватар пользователя

Карма: 106
Рейтинг сообщений: 3286
Зарегистрирован: Сб фев 11, 2017 15:59:13
Сообщений: 14711
Откуда: 57 RUS
Рейтинг сообщения: 0
Adeptus Mechanicus писал(а):
А с какими именно?

Например 3ГД38; 4ГД35

_________________
НАРОДОВЛАСТИЕ а не дерьмократия!!!
Суверенным и независимым может считаться только то государство, против которого англосаксонские разносчики кланово-олигархической дерьмократии и еврогейских "ценностей" со своими пособниками ввели санкции!


Вернуться наверх
 
Не в сети
 Заголовок сообщения: Re: Усилитель от Мезон 201
СообщениеДобавлено: Сб фев 20, 2021 16:00:28 
Грызет канифоль
Аватар пользователя

Зарегистрирован: Сб июн 16, 2018 20:56:13
Сообщений: 267
Рейтинг сообщения: 0
Есть вот такой динамик, но не могу маркировку разобрать
СпойлерИзображение

_________________
Иногда наука больше искусство, чем наука. Многие люди не понимают этого.


Вернуться наверх
 
Не в сети
 Заголовок сообщения: Re: Усилитель от Мезон 201
СообщениеДобавлено: Сб фев 20, 2021 16:03:40 
Сверлит текстолит когтями
Аватар пользователя

Зарегистрирован: Пн ноя 15, 2010 23:16:44
Сообщений: 1177
Откуда: г.Павлодар
Рейтинг сообщения: 0
4гд-36

_________________
Собираю все что попадает под руку.Главное не переборщить


Вернуться наверх
 
Не в сети
 Заголовок сообщения: Re: Усилитель от Мезон 201
СообщениеДобавлено: Сб фев 20, 2021 16:07:41 
Друг Кота
Аватар пользователя

Карма: 106
Рейтинг сообщений: 3286
Зарегистрирован: Сб фев 11, 2017 15:59:13
Сообщений: 14711
Откуда: 57 RUS
Рейтинг сообщения: 0
Adeptus Mechanicus писал(а):
Есть вот такой динамик, но не могу маркировку разобрать

4ГД36-65

_________________
НАРОДОВЛАСТИЕ а не дерьмократия!!!
Суверенным и независимым может считаться только то государство, против которого англосаксонские разносчики кланово-олигархической дерьмократии и еврогейских "ценностей" со своими пособниками ввели санкции!


Последний раз редактировалось gsmart Сб фев 20, 2021 16:10:08, всего редактировалось 1 раз.

Вернуться наверх
 
В сети
 Заголовок сообщения: Re: Усилитель от Мезон 201
СообщениеДобавлено: Сб фев 20, 2021 16:07:59 
Друг Кота
Аватар пользователя

Карма: 196
Рейтинг сообщений: 8554
Зарегистрирован: Пн ноя 30, 2009 03:00:01
Сообщений: 42708
Откуда: Нерезиновая
Рейтинг сообщения: 0
А куда подключаются выводы 9, 10, 11, 13, 14, 15? Не до конца пока в мануале разобрался

По идее- вот так:
Вложение:
УНЧ Мезон201-2дор.png [92.3 KiB]
Скачиваний: 198

R1 и R2 33 ком, если у вас нет самого "тела", вы вряд ли найдёте, можно ставить более доступные 20~25 или 50 кОм
Впрочем, и R3 тоже, особого "рояля" :))) :))) они тут не играют..
Если "просто проверить", то можно не искать резисторов вообще, а соединить контакты 6 и 7 на плате, а сигнал подать прямо на контакты 1 и 2 (2 это "земля" или "общий")
Питание усилителя МИНУС 9 вольт относительно "земли"(общего провода)
Минимум, что вам нужно добавить (если нет исходного "тела") - два электролита 1000 мкФ (можно и больше), и два резистора, один 56 Ом (от 47 до 68 Ом)
и второй, я написал 220 Ом, но, возможно, лучше 510 Ом~ 1 кОм. :dont_know:


Зато "настоящий германиевый звук"!!!! :))) :))) :))) :)))

Вот поэтому и интересно послушать :))
Это "сказки аудиофилов".. Тем более, для ТАКОГО УНЧ :facepalm:

Adeptus Mechanicus писал(а):
Есть вот такой динамик,
Если рабочий, то пойдёт..
Только под него ящичек нужно сделать, хотя бы типа такого:
http://www.rw6ase.narod.ru/00/as/4as4.html


Вернуться наверх
 
Не в сети
 Заголовок сообщения: Re: Усилитель от Мезон 201
СообщениеДобавлено: Сб фев 20, 2021 16:22:37 
Грызет канифоль
Аватар пользователя

Зарегистрирован: Сб июн 16, 2018 20:56:13
Сообщений: 267
Рейтинг сообщения: 0
33кОм есть! Думал куда бы их пристроить)))
Хм... отрицательное питание, интересно

Добавлено after 6 minutes 39 seconds:
а можно ли поставить 200ом вместо 220?

_________________
Иногда наука больше искусство, чем наука. Многие люди не понимают этого.


Вернуться наверх
 
В сети
 Заголовок сообщения: Re: Усилитель от Мезон 201
СообщениеДобавлено: Сб фев 20, 2021 16:24:42 
Друг Кота
Аватар пользователя

Карма: 196
Рейтинг сообщений: 8554
Зарегистрирован: Пн ноя 30, 2009 03:00:01
Сообщений: 42708
Откуда: Нерезиновая
Рейтинг сообщения: 0
Adeptus Mechanicus писал(а):
Хм... отрицательное питание, интересно

А чего тут "интересного"- это очень характерно для германиевых транзисторов, так как германий с PNP проводимостью сделать проще (дешевле) чем с проводимостью NPN
(для кремния- наоборот)
Можно посмотреть в схемах от "Аккордов" 202 или 203
http://www.rw6ase.narod.ru/00/el_p/akkord202.html
http://www.rw6ase.narod.ru/00/el_p/akkord203.html
а можно ли поставить 200ом вместо 220?

Я бы поставил 500 Ом.. :dont_know:

А что, между 200 Ом и 220 Ом очень большая разница?

Уже лет 100 есть "негласное правило замены" в "неответственных" цепях (не очень влияющих на режимы работы) можно спокойно ставить детали "соседнего" номинала- вместо 220 Ом- 240 или 200 Ом, вместо 22 мкФ ставить 10 или 47 мкФ..


Вернуться наверх
 
Не в сети
 Заголовок сообщения: Re: Усилитель от Мезон 201
СообщениеДобавлено: Сб фев 20, 2021 17:06:58 
Грызет канифоль
Аватар пользователя

Зарегистрирован: Сб июн 16, 2018 20:56:13
Сообщений: 267
Рейтинг сообщения: 0
Включил. Хрипит ужасно. Куда смотреть?

Добавлено after 7 minutes 58 seconds:
Еще вопрос можно ли питать его от большего напряжения?

_________________
Иногда наука больше искусство, чем наука. Многие люди не понимают этого.


Вернуться наверх
 
Не в сети
 Заголовок сообщения: Re: Усилитель от Мезон 201
СообщениеДобавлено: Сб фев 20, 2021 17:13:20 
Друг Кота
Аватар пользователя

Карма: 106
Рейтинг сообщений: 3286
Зарегистрирован: Сб фев 11, 2017 15:59:13
Сообщений: 14711
Откуда: 57 RUS
Рейтинг сообщения: 0
Adeptus Mechanicus писал(а):
Включил. Хрипит ужасно. Куда смотреть?

Половинка напряжения питания на средней точки выходного каскада есть?
Adeptus Mechanicus писал(а):
Еще вопрос можно ли питать его от большего напряжения?

Можно конечно, но он сгорит.

_________________
НАРОДОВЛАСТИЕ а не дерьмократия!!!
Суверенным и независимым может считаться только то государство, против которого англосаксонские разносчики кланово-олигархической дерьмократии и еврогейских "ценностей" со своими пособниками ввели санкции!


Вернуться наверх
 
Не в сети
 Заголовок сообщения: Re: Усилитель от Мезон 201
СообщениеДобавлено: Сб фев 20, 2021 17:20:36 
Грызет канифоль
Аватар пользователя

Зарегистрирован: Сб июн 16, 2018 20:56:13
Сообщений: 267
Рейтинг сообщения: 0
Это в точке после которой идет кондер на выход? да там половина питания (чуууть чуть меньше)

Добавлено after 4 minutes 4 seconds:
подключил на вход генератор. До 20мв на выходе все норм, выше появляются искажения. также в середине синусоиды (между верхней и нижней полуволной) присутствует небольшая площадка, сдвиг. Надеюсь понятно объяснил

_________________
Иногда наука больше искусство, чем наука. Многие люди не понимают этого.


Вернуться наверх
 
Не в сети
 Заголовок сообщения: Re: Усилитель от Мезон 201
СообщениеДобавлено: Сб фев 20, 2021 17:25:08 
Друг Кота
Аватар пользователя

Карма: 106
Рейтинг сообщений: 3286
Зарегистрирован: Сб фев 11, 2017 15:59:13
Сообщений: 14711
Откуда: 57 RUS
Рейтинг сообщения: 0
Да, что за источник звука, уровень сигнала какой? Этот усилок с большой чуйкой, в районе 10-30mV, а не 250-700mV, как на лийных входах бытовых усилителей, и при подаче на вход большого по амплитуде сигнала, он будет хрипеть.

_________________
НАРОДОВЛАСТИЕ а не дерьмократия!!!
Суверенным и независимым может считаться только то государство, против которого англосаксонские разносчики кланово-олигархической дерьмократии и еврогейских "ценностей" со своими пособниками ввели санкции!


Последний раз редактировалось gsmart Сб фев 20, 2021 17:27:56, всего редактировалось 1 раз.

Вернуться наверх
 
Не в сети
 Заголовок сообщения: Re: Усилитель от Мезон 201
СообщениеДобавлено: Сб фев 20, 2021 17:26:36 
Грызет канифоль
Аватар пользователя

Зарегистрирован: Сб июн 16, 2018 20:56:13
Сообщений: 267
Рейтинг сообщения: 0
звук с ноута подавал, но если убавить уровень, то он становится еле слышным и все равно хрипит немного

_________________
Иногда наука больше искусство, чем наука. Многие люди не понимают этого.


Вернуться наверх
 
Показать сообщения за:  Сортировать по:  Вернуться наверх
Начать новую тему Ответить на тему  [ Сообщений: 48 ]  1, ,  

Часовой пояс: UTC + 3 часа


Кто сейчас на форуме

Сейчас этот форум просматривают: нет зарегистрированных пользователей и гости: 10


Вы не можете начинать темы
Вы не можете отвечать на сообщения
Вы не можете редактировать свои сообщения
Вы не можете удалять свои сообщения
Вы не можете добавлять вложения

Найти:
Перейти:  


Powered by phpBB © 2000, 2002, 2005, 2007 phpBB Group
Русская поддержка phpBB
Extended by Karma MOD © 2007—2012 m157y
Extended by Topic Tags MOD © 2012 m157y