Например TDA7294

Форум РадиоКот • Просмотр темы - УКВ приемник средней сложности.
Форум РадиоКот
Здесь можно немножко помяукать :)

Текущее время: Вс ноя 30, 2025 09:39:41

Часовой пояс: UTC + 3 часа


ПРЯМО СЕЙЧАС:



Начать новую тему Ответить на тему  [ Сообщений: 613 ]  1, , , , ...  
Автор Сообщение
Не в сети
 Заголовок сообщения: УКВ приемник средней сложности.
СообщениеДобавлено: Пн ноя 24, 2014 09:16:45 
Нашел транзистор. Понюхал.
Аватар пользователя

Карма: 4
Рейтинг сообщений: 27
Зарегистрирован: Ср июл 23, 2014 16:59:57
Сообщений: 174
Откуда: владикавказ, россия
Рейтинг сообщения: 0
подскажите, пожалуйста, схемы преобразователя частоты на транзисторах (микросхемы не предлагать).


Вернуться наверх
 
Не в сети
 Заголовок сообщения: Re: преобразователь частоты укв диапазона на транзисторах
СообщениеДобавлено: Пн ноя 24, 2014 09:55:09 
Друг Кота
Аватар пользователя

Карма: 72
Рейтинг сообщений: 1153
Зарегистрирован: Чт ноя 20, 2008 04:20:48
Сообщений: 8075
Откуда: КурскЪ
Рейтинг сообщения: 0
Поищи схему УКВ блока с отечественного радиоприёмника.Там как раз смеситель и гетеродин выполнен на транзисторах.

Вот ещё.
http://vrtp.ru/index.php?act=categories ... ticle=3286

_________________
Принимаю вас 595+40db на уровне шумов на кухонный приёмник,антенна наружка-магнитная катушка..работает "Акация",вот такая информация.Роман.73!!!
"50 КСВ 075", UA3112SWL
Изображение


Вернуться наверх
 
Не в сети
 Заголовок сообщения: Re: преобразователь частоты укв диапазона на транзисторах
СообщениеДобавлено: Пн ноя 24, 2014 16:06:00 
Модератор
Аватар пользователя

Карма: 158
Рейтинг сообщений: 1600
Зарегистрирован: Пт апр 28, 2006 15:26:07
Сообщений: 11940
Откуда: Россия.
Рейтинг сообщения: 6
Медали: 2
Мявтор 3-й степени (1) Лучший человек Форума 2017 (1)
киракосян ашот писал(а):
подскажите, пожалуйста, схемы преобразователя частоты на транзисторах.
Вопрос какой то неопределенный.
Во первых непонятно на каких транзистороах? Они бывают биполярные и полевые.
Во вторых непонятно какого класса приемник?
В общем случае преобразователем может быть какой либо нелинейный каскад. Его можно конечно сделать и на транзисторе.
Так вот на этот нелинейный каскад нужно подать два сигнала, т.е. сам сигнал и ВЧ напряжение с гетеродина.
Вот для примера простенький приемник УКВ с низкой ПЧ, что у меня валяется на столе и принимает местные станции. Собран полностью на транзисторах.
Красным обвел тот самый смеситель. Это по сути обычный каскад с ОЭ, только ток коллектора выбран маленьким. На базу поступает сигнал с антенны.
Синим обвел гетеродин.
Входная катушка L1,L2 и катушка гетеродина L3 стоят рядом, а точнее на расстоянии 8 мм друг от друга. За счет индуктивной связи между входной катушки и катушки гетеродина добились, что напряжение гетеродина тоже поступает на вход смесителя.
На выходе смесителя выделяется промежуточная частота. В данном случае она порядка 100 КГц.

Изображение

Полностью дорисовать схему у меня сил не хватило. :cry:
Это пример простейшего преобразователя частоты на биполярных транзисторах с посредственными параметрами которые полностью удовлетворяют меня в данном случае.
В принципе на входе можно добавить УВЧ.

Изображение

А какие параметры нужны Вам, мы не знаем.


Вложения:
1.GIF [21.03 KiB]
Скачиваний: 17709
УВЧ1.GIF [5.7 KiB]
Скачиваний: 11879
Вернуться наверх
 
Не в сети
 Заголовок сообщения: Re: преобразователь частоты укв диапазона на транзисторах
СообщениеДобавлено: Вт ноя 25, 2014 15:42:29 
Нашел транзистор. Понюхал.
Аватар пользователя

Карма: 4
Рейтинг сообщений: 27
Зарегистрирован: Ср июл 23, 2014 16:59:57
Сообщений: 174
Откуда: владикавказ, россия
Рейтинг сообщения: 0
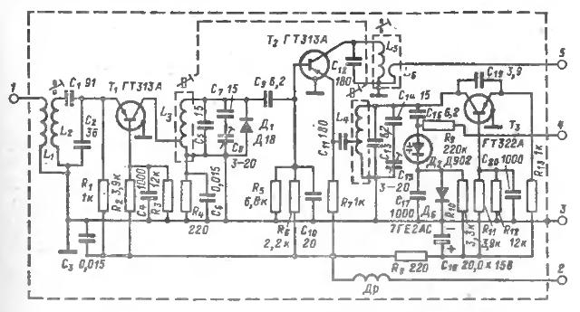
лучше всего на германиевых транзисторах типа гт313а или гт309,гт322а (у меня из кремниевых только кт315 и кт361). А преобразователь нужен для самодельного приемника с пч=10.7мгц.


Вернуться наверх
 
Эиком - электронные компоненты и радиодетали
Не в сети
 Заголовок сообщения: Re: преобразователь частоты укв диапазона на транзисторах
СообщениеДобавлено: Вт ноя 25, 2014 16:27:34 
Друг Кота
Аватар пользователя

Карма: 72
Рейтинг сообщений: 1153
Зарегистрирован: Чт ноя 20, 2008 04:20:48
Сообщений: 8075
Откуда: КурскЪ
Рейтинг сообщения: 0
Посмотри схему Укв блока от бытового приёмника.К примеру приёмник Океан.

_________________
Принимаю вас 595+40db на уровне шумов на кухонный приёмник,антенна наружка-магнитная катушка..работает "Акация",вот такая информация.Роман.73!!!
"50 КСВ 075", UA3112SWL
Изображение


Вернуться наверх
 
Не в сети
 Заголовок сообщения: Re: преобразователь частоты укв диапазона на транзисторах
СообщениеДобавлено: Вт ноя 25, 2014 16:33:08 
Модератор
Аватар пользователя

Карма: 158
Рейтинг сообщений: 1600
Зарегистрирован: Пт апр 28, 2006 15:26:07
Сообщений: 11940
Откуда: Россия.
Рейтинг сообщения: 0
Медали: 2
Мявтор 3-й степени (1) Лучший человек Форума 2017 (1)
киракосян ашот писал(а):
лучше всего на германиевых транзисторах типа гт313а или гт322а
Схему взял из книжки:
«Блоки УКВ на лампах и транзисторах.»
http://www.newlibrary.ru/book/alekseev_ ... rah__(1972).html
ПЧ можно сделать и 10,7 МГц, нужно просто подкорректировать гетеродинную катушку и выходной фильтр. В книжке есть и другие схемы.

Изображение

Изображение

Хотя опять непонятно какого класса приемник?
Если за параметрами особо не гнаться, то преобразователь, что я предлагал в самом начале можно сделать на тех же ГТ313 поставив на выходе не резистор, а контур на 10,7 МГц


Вложения:
1.GIF [57.87 KiB]
Скачиваний: 35485
1.JPG [48.83 KiB]
Скачиваний: 1393
Вернуться наверх
 
Не в сети
 Заголовок сообщения: Re: преобразователь частоты укв диапазона на транзисторах
СообщениеДобавлено: Вт ноя 25, 2014 18:11:40 
Нашел транзистор. Понюхал.
Аватар пользователя

Карма: 4
Рейтинг сообщений: 27
Зарегистрирован: Ср июл 23, 2014 16:59:57
Сообщений: 174
Откуда: владикавказ, россия
Рейтинг сообщения: 0
приемник будет 3 - 4 класса


Вернуться наверх
 
Не в сети
 Заголовок сообщения: Re: преобразователь частоты укв диапазона на транзисторах
СообщениеДобавлено: Вт ноя 25, 2014 18:46:38 
Модератор
Аватар пользователя

Карма: 158
Рейтинг сообщений: 1600
Зарегистрирован: Пт апр 28, 2006 15:26:07
Сообщений: 11940
Откуда: Россия.
Рейтинг сообщения: 0
Медали: 2
Мявтор 3-й степени (1) Лучший человек Форума 2017 (1)
В Интернете и в книжках слишком много подобных схем, что бы все это выложить сюда.
Вот первая попавшаяся.
Журнал Радио 7-1977 год
http://publ.lib.ru/ARCHIVES/R/''Radio'' ... fax%5d.zip
Вместо П416 и ГТ308 можете поставить или ГТ322 или ГТ313
Можно еще несколько десятков схем найти.

Изображение

Изображение

Или Радио 9-1975 год
http://publ.lib.ru/ARCHIVES/R/''Radio'' ... f01%5d.zip

Изображение

А делать УКВ приемник уровня 4 класса по подобной схеме нет смысла.
Подобного класса можно сделать приемник практически без катушек.
Вот у меня подобного класса. Преобразователь в нем вместо К174ПС1 можно сделать как здесь, на транзисторах, что кружками обведено. Транзисторы можно поставить ГТ313 немного изменив схему в соответствии с их проводимостью.
download/file.php?mode=view&id=197867
В остальном схема подобна первой, только в УПЧ вместо транзисторов поставил цифровую логику.

Изображение

Ближние станции принимает даже без УВЧ.
Просто антенна подключается напрямую на 8 ногу К174ПС1 и даже входную катушку можно не ставить.
Но это только местные станции с большим уровнем в месте приема.
Т.е. в этом случае в приемнике получается только одна бескаркасная катушка.


Вложения:
1.PNG [624.42 KiB]
Скачиваний: 17537
15.GIF [31.41 KiB]
Скачиваний: 20564
1.JPG [519.83 KiB]
Скачиваний: 11448
1.GIF [42.18 KiB]
Скачиваний: 12506
Вернуться наверх
 
Не в сети
 Заголовок сообщения: Re: преобразователь частоты укв диапазона на транзисторах
СообщениеДобавлено: Сб дек 06, 2014 18:40:37 
Нашел транзистор. Понюхал.
Аватар пользователя

Карма: 4
Рейтинг сообщений: 27
Зарегистрирован: Ср июл 23, 2014 16:59:57
Сообщений: 174
Откуда: владикавказ, россия
Рейтинг сообщения: 0
а какие параметры у L3???


Вернуться наверх
 
Не в сети
 Заголовок сообщения: Re: преобразователь частоты укв диапазона на транзисторах
СообщениеДобавлено: Сб дек 06, 2014 21:20:03 
Модератор
Аватар пользователя

Карма: 158
Рейтинг сообщений: 1600
Зарегистрирован: Пт апр 28, 2006 15:26:07
Сообщений: 11940
Откуда: Россия.
Рейтинг сообщения: 0
Медали: 2
Мявтор 3-й степени (1) Лучший человек Форума 2017 (1)
Почитай здесь. Там где то в конце написано, хотя я так полностью так и не дописал.
Вложение:
Приемник.doc [865 KiB]
Скачиваний: 1474

А вообще от типа варикапа зависит. Я частотомера измерял и добивался, что бы частота была в пределах 100 - 109 МГц
Просто у нас местные радиостанции на этих частотах работают.


Вернуться наверх
 
Не в сети
 Заголовок сообщения: Re: преобразователь частоты укв диапазона на транзисторах
СообщениеДобавлено: Вс дек 07, 2014 17:58:40 
Опытный кот
Аватар пользователя

Карма: 15
Рейтинг сообщений: 146
Зарегистрирован: Вс дек 29, 2013 22:05:07
Сообщений: 886
Рейтинг сообщения: 0
кусочек простенького китайского приемника.
Вложение:
приемник FM KIA6040.JPG [213.77 KiB]
Скачиваний: 1949

на Т1 - УВЧ. Т2 - генератор и смеситель.

_________________
Щас, погуглю...


Вернуться наверх
 
Не в сети
 Заголовок сообщения: Re: преобразователь частоты укв диапазона на транзисторах
СообщениеДобавлено: Пт дек 26, 2014 19:13:08 
Встал на лапы

Зарегистрирован: Пн ноя 03, 2014 18:06:18
Сообщений: 142
Рейтинг сообщения: 0
Заинтересовался смесителем на одном БП транзисторе и возникли вопросы...
Какой оптимальный уровень гетеродинного напряжения?
aen в начале темы привел схему своего приемника, отметил что данный смесител не очень.. Сейчас пытаюсь моделировать в симуляторе(Сигнал 5мкВ 70 МГц, гетеродин 0.4В 80МГц, ПЧ 10МГц). Смеситель работает. но не могу отфильтровать ПЧ (применил LC контур) - схема не балансная, и есть гармоника гетеродина, которая во много раз больше разностной гармоники, плохо фильтруется. Это и есть недостаток данного смесителя?
Как быть? В схеме приемника KIA6040, на пару постов выше, в качестве фильтра ПЧ применена керамика, у нее выскоая добротность или же там в микросхеме происходит дополнтельная фильтрация?


Вернуться наверх
 
Не в сети
 Заголовок сообщения: Re: преобразователь частоты укв диапазона на транзисторах
СообщениеДобавлено: Пт дек 26, 2014 19:32:40 
Модератор
Аватар пользователя

Карма: 158
Рейтинг сообщений: 1600
Зарегистрирован: Пт апр 28, 2006 15:26:07
Сообщений: 11940
Откуда: Россия.
Рейтинг сообщения: 0
Медали: 2
Мявтор 3-й степени (1) Лучший человек Форума 2017 (1)
У меня же промежуточная частота 100 КГц и частота гетеродина подавляется ФНЧ на входе УПЧ. В вашем случае основным фильтром будет являться или ФСС или последующие контура в последующих каскадах или как сейчас обычно ставят просто керамический фильтр на 10,7 МГц.
Одиночный контур на выходе смесителя конечно не даст большого подавления.
Хотя конечно частота гетеродина подавляется еще и в самом УПЧ, т.к. обычно сам УПЧ не способен пропустить сотню мегагерц.

Схему еще нарисуйте, а я посмотрю. В схеме с контуром есть кое какие нюансы, что бы уменьшить проникновение частоты гетеродина.


Вернуться наверх
 
Не в сети
 Заголовок сообщения: Re: преобразователь частоты укв диапазона на транзисторах
СообщениеДобавлено: Пт дек 26, 2014 19:48:52 
Встал на лапы

Зарегистрирован: Пн ноя 03, 2014 18:06:18
Сообщений: 142
Рейтинг сообщения: 0
Вот такую схему моделирую в данный момент:
Изображение
Спектр такой(после LC): Сигнал ПЧ 3мВ, Гетеродин 18,9мВ -10Дб ослабление получилось.


Вернуться наверх
 
Не в сети
 Заголовок сообщения: Re: преобразователь частоты укв диапазона на транзисторах
СообщениеДобавлено: Пт дек 26, 2014 20:19:34 
Модератор
Аватар пользователя

Карма: 158
Рейтинг сообщений: 1600
Зарегистрирован: Пт апр 28, 2006 15:26:07
Сообщений: 11940
Откуда: Россия.
Рейтинг сообщения: 0
Медали: 2
Мявтор 3-й степени (1) Лучший человек Форума 2017 (1)
R1 на вашей схеме равное 50 ком вообще абсурд.
Смеситель на 10,7 МГц по упрощенной схеме лучше делать по такой схеме.

Изображение

Большой С1 коротит вход смесителя по промежуточной частоте.

А лучше по такой.

Изображение

Большой С1 коротит вход смесителя по промежуточной частоте.
Маленький С2 подавляет проникшую частоту гетеродина, но мало влияет на промежуточную частоту, т.к. является составной частью фильтра ПЧ.

Хотя у меня вот на столе валяется приемник со смесителем по схеме в которой вообще катушки нет, а сразу идет на керамический фильтр.

Изображение

Дальше идет УПЧ на К174УР3.
Все это тоже предназначено для приема местных станций.
Ток смесителя порядка 0,8 - 1 ма

Керамический фильтр лучше поставить на 5,5 МГц или на 6,5 МГц, что стоят во всех телевизорах. С ними чувствительность больше получается.
Это я после появления у нас местных УКВ станций экспериментировал с простыми приемниками. Особенно хорошо работают если ЧМ детектор делать на основе ФАПЧ.
Хотел статью написать, но потом подумал, что кроме меня, вряд ли кому это старье интересно и забросил, хотя приемники на макетках работают.


Вложения:
1.JPG [28.67 KiB]
Скачиваний: 11362
3.JPG [23.88 KiB]
Скачиваний: 11078
2.JPG [22.83 KiB]
Скачиваний: 11323
Вернуться наверх
 
Не в сети
 Заголовок сообщения: Re: преобразователь частоты укв диапазона на транзисторах
СообщениеДобавлено: Пт дек 26, 2014 21:28:54 
Встал на лапы

Зарегистрирован: Пн ноя 03, 2014 18:06:18
Сообщений: 142
Рейтинг сообщения: 0
aen писал(а):
R1 на вашей схеме равное 50 ком вообще абсурд.

Почему? выходное сопротивление транзистора меньше 50кОм?

Jemchug писал(а):
Большой С1 коротит вход смесителя по промежуточной частоте.

Зачем коротить вход для ПЧ? :oops:

А так борьба с гетеродинным на выходе понятна на Ваших схемах,спасибо.Лучше наверное керамический фильтр поставить,или кольцевой балансный модулятор(если бы не эти трансформаторы..)
Напряжение гетеродина 0.4В я правильно взял?
Ваша первая схема - сигнал подается на емкостный делитель,во второй схеме - сигнал подаеться на часть катушки,а снимается с емкостей.разница есть?(не считая обеспечение рабочего режима по постоянке)
Жаль бросили статью( Может это и старье в век цифры,но все же это основы радиоприема


Последний раз редактировалось lcleo Пт дек 26, 2014 21:45:41, всего редактировалось 2 раз(а).

Вернуться наверх
 
Не в сети
 Заголовок сообщения: Re: преобразователь частоты укв диапазона на транзисторах
СообщениеДобавлено: Пт дек 26, 2014 21:42:10 
Друг Кота
Аватар пользователя

Карма: 64
Рейтинг сообщений: 1102
Зарегистрирован: Ср ноя 17, 2010 23:10:55
Сообщений: 5837
Откуда: Ижевск LO66NU
Рейтинг сообщения: 0
lcleo писал(а):
Почему? выходное сопротивление транзистора меньше 50кОм?
Причем тут выходное? Вы посчитайте какой ток будет через транзистор, скажем, при 4.5В на коллекторе, а потом посмотрите на выходные характеристики и попробуйте нарисовать нагрузочную прямую.... :)))

_________________
В начале жизнь мучает вопросами, в конце - ответами...


Вернуться наверх
 
Не в сети
 Заголовок сообщения: Re: преобразователь частоты укв диапазона на транзисторах
СообщениеДобавлено: Пт дек 26, 2014 21:44:26 
Встал на лапы

Зарегистрирован: Пн ноя 03, 2014 18:06:18
Сообщений: 142
Рейтинг сообщения: 0
Зачем мне там 4.5 В? резистор поставил чтоб не шунтировать контур.полный диапазон выхода мне не нужен.


Вернуться наверх
 
Не в сети
 Заголовок сообщения: Re: преобразователь частоты укв диапазона на транзисторах
СообщениеДобавлено: Пт дек 26, 2014 22:08:01 
Друг Кота
Аватар пользователя

Карма: 64
Рейтинг сообщений: 1102
Зарегистрирован: Ср ноя 17, 2010 23:10:55
Сообщений: 5837
Откуда: Ижевск LO66NU
Рейтинг сообщения: 0
В предельном случае коллекторный ток не превысит 17мкА, что для нормальной работы транзистора на ВЧ, мягко говоря, недостаточно, кроме того если учитывать межэлектродные емкости, включенные последовательно с этим резистором, то интегрирование сигнала сведет величину усиления на нет. Нормальная величина коллекторного тока реального маломощного ВЧ транзистора выбирается в пределах 1.5-15мА из этого и выбирается номинал коллекторного резистора.

_________________
В начале жизнь мучает вопросами, в конце - ответами...


Вернуться наверх
 
Не в сети
 Заголовок сообщения: Re: преобразователь частоты укв диапазона на транзисторах
СообщениеДобавлено: Пт дек 26, 2014 22:28:03 
Встал на лапы

Зарегистрирован: Пн ноя 03, 2014 18:06:18
Сообщений: 142
Рейтинг сообщения: 0
Про ВЧ Вы имеете ввиду зависимость Ft от тока? Если Вы про это, то учту в реальном железе.в симе с усилением в порядке.За усилением не гнался взял рабочую точку на максимальной кривизне характеристики,где завсисимость квадратична, т.е. нет кубической зависимости с лишними гармониками. Да и в целом это область малой крутизны,и на Нч усиление не велико.


Последний раз редактировалось lcleo Сб дек 27, 2014 08:59:21, всего редактировалось 2 раз(а).

Вернуться наверх
 
Показать сообщения за:  Сортировать по:  Вернуться наверх
Начать новую тему Ответить на тему  [ Сообщений: 613 ]  1, , , , ...  

Часовой пояс: UTC + 3 часа


Кто сейчас на форуме

Сейчас этот форум просматривают: нет зарегистрированных пользователей и гости: 23


Вы не можете начинать темы
Вы не можете отвечать на сообщения
Вы не можете редактировать свои сообщения
Вы не можете удалять свои сообщения
Вы не можете добавлять вложения

Найти:
Перейти:  


Powered by phpBB © 2000, 2002, 2005, 2007 phpBB Group
Русская поддержка phpBB
Extended by Karma MOD © 2007—2012 m157y
Extended by Topic Tags MOD © 2012 m157y