Например TDA7294

Форум РадиоКот • Просмотр темы - Часы на люминесцентных индикаторах.
Форум РадиоКот
Здесь можно немножко помяукать :)

Текущее время: Ср янв 28, 2026 20:23:49

Часовой пояс: UTC + 3 часа


ПРЯМО СЕЙЧАС:



Начать новую тему Ответить на тему  [ Сообщений: 9121 ]     ... , , , 247, , , ...  
Автор Сообщение
Не в сети
 Заголовок сообщения: Re: Часы на люминесцентных индикаторах.
СообщениеДобавлено: Чт янв 08, 2015 21:05:57 
Поставщик валерьянки для Кота
Аватар пользователя

Карма: 21
Рейтинг сообщений: 267
Зарегистрирован: Вт ноя 03, 2009 21:02:38
Сообщений: 2050
Откуда: Москва
Рейтинг сообщения: 0
Если всплыла моя безобмоточная схема, советую исправить косяк в обвязке ИК1901. (работает и без исправления :o )
и ещё все конденсаторы 1 мкФ увеличить до 2 мкФ.
Изображение


Вернуться наверх
 
Не в сети
 Заголовок сообщения: Re: Часы на люминесцентных индикаторах.
СообщениеДобавлено: Чт янв 08, 2015 22:28:37 
Встал на лапы

Зарегистрирован: Ср ноя 19, 2014 17:13:21
Сообщений: 86
Откуда: Украина, Никополь
Рейтинг сообщения: 0
Microtech писал(а):
Если всплыла моя безобмоточная схема, советую исправить косяк в обвязке ИК1901. (работает и без исправления :o )
и ещё все конденсаторы 1 мкФ увеличить до 2 мкФ.
Изображение

Схема всплыла ваша (хорошая схема). Хотим применить в часах на ИВ-18. Только чего то нужный флопик не попадается (сегодня всех друзей на работе озадачил поиском флопика с нужной микросхемой :beer: )


Вернуться наверх
 
Не в сети
 Заголовок сообщения: Re: Часы на люминесцентных индикаторах.
СообщениеДобавлено: Пт янв 09, 2015 00:50:32 
Друг Кота
Аватар пользователя

Карма: 58
Рейтинг сообщений: 423
Зарегистрирован: Чт мар 20, 2008 01:06:40
Сообщений: 3429
Откуда: Севастополь
Рейтинг сообщения: 0
В ноутбучных флоппиках ищите.

_________________
>(*.*)<
Котище огромно, ушасто, пушисто, глазасто, зубасто, колючелапо и мявай. (c)


Вернуться наверх
 
Не в сети
 Заголовок сообщения: Re: Часы на люминесцентных индикаторах.
СообщениеДобавлено: Пт янв 09, 2015 08:16:58 
Встал на лапы

Зарегистрирован: Ср ноя 19, 2014 17:13:21
Сообщений: 86
Откуда: Украина, Никополь
Рейтинг сообщения: 0
Вложение:
IMG_20150109_081418.jpg [137.94 KiB]
Скачиваний: 898
Нашли друзья в старом флопике. Не имей сто рублей, а имей 100 друзей :)))


Вернуться наверх
 
Эиком - электронные компоненты и радиодетали
Не в сети
 Заголовок сообщения: Re: Часы на люминесцентных индикаторах.
СообщениеДобавлено: Пт янв 09, 2015 12:10:26 
Друг Кота
Аватар пользователя

Карма: 38
Рейтинг сообщений: 549
Зарегистрирован: Пн июл 14, 2008 21:28:00
Сообщений: 10691
Откуда: Москва
Рейтинг сообщения: 0
abc писал(а):
В ноутбучных флоппиках ищите.

такие вообще уже давно дикий раритет! :shock: (да и коллекционеры им будут только рады)

_________________
Ищу тиратрон ТХИ1-2000/4, ГРИ ИН-23, ФЭУ-103; 134; 135, 138, 155, 157, лампу ИСШ-7.
Любые ГИС серий 203, 225, 233, 244, 250, 296, 801, 838 в любом состоянии. Компоненты и детали от миниатюрных твердотельных лазеров.


Вернуться наверх
 
Не в сети
 Заголовок сообщения: Re: Часы на люминесцентных индикаторах.
СообщениеДобавлено: Пт янв 09, 2015 12:13:43 
Встал на лапы

Зарегистрирован: Ср ноя 19, 2014 17:13:21
Сообщений: 86
Откуда: Украина, Никополь
Рейтинг сообщения: 0
Развёл в Layout плату преобразователя для питания ИВ-18 по схеме от Микротех. Получилась 25х35мм. Надо на досуге собрать. Во вложении плата.


Вложения:
Преобразователь питания ИВ-18.zip [61.03 KiB]
Скачиваний: 598
Вернуться наверх
 
Не в сети
 Заголовок сообщения: Re: Часы на люминесцентных индикаторах.
СообщениеДобавлено: Пт янв 09, 2015 12:50:15 
Держит паяльник хвостом
Аватар пользователя

Карма: 15
Рейтинг сообщений: 328
Зарегистрирован: Пн мар 25, 2013 03:20:47
Сообщений: 947
Откуда: Tallinn
Рейтинг сообщения: 0
Поясните пожалста, в "Схеме от Микротех" какие потенциалы +V и -V (27в) относительно общего? Чёт не соображу... :dont_know:


Вернуться наверх
 
Не в сети
 Заголовок сообщения: Re: Часы на люминесцентных индикаторах.
СообщениеДобавлено: Пт янв 09, 2015 12:58:32 
Мудрый кот
Аватар пользователя

Карма: 27
Рейтинг сообщений: 658
Зарегистрирован: Ср апр 04, 2012 09:55:53
Сообщений: 1791
Откуда: Северодонецк
Рейтинг сообщения: 0
разница потенциалов между -V и +V = 27В :)

_________________
У того, кто делает — получается редко. У того, кто не делает — не получается никогда.


Вернуться наверх
 
Не в сети
 Заголовок сообщения: Re: Часы на люминесцентных индикаторах.
СообщениеДобавлено: Пт янв 09, 2015 13:07:01 
Встал на лапы

Зарегистрирован: Ср ноя 19, 2014 17:13:21
Сообщений: 86
Откуда: Украина, Никополь
Рейтинг сообщения: 0
RoboC писал(а):
разница потенциалов между -V и +V = 27В :)

В плате выкинул транзистор BC857 резистор R12 и два стабилитрона VD12. VD13 и конденсатор С18 (стабилизатор 27В).


Вернуться наверх
 
Не в сети
 Заголовок сообщения: Re: Часы на люминесцентных индикаторах.
СообщениеДобавлено: Пт янв 09, 2015 13:19:33 
Держит паяльник хвостом
Аватар пользователя

Карма: 15
Рейтинг сообщений: 328
Зарегистрирован: Пн мар 25, 2013 03:20:47
Сообщений: 947
Откуда: Tallinn
Рейтинг сообщения: 0
RoboC писал(а):
разница потенциалов между -V и +V = 27В :)
Спасибо, кэп! Изображение

Вопрос был про потенциалы +V и -V (аноды и катод индикатора) относительно общего, то есть ноги 7 и 14 LB1838.


И добавлю сюда свой больной старый вопрос: умеет ли кто-нибудь реализовать плавную (или хотя бы многоступенчатую) регулировку яркости люминесцентных индикаторов (ИВ18 или ИВ11 или ИВЛ) от освещённости (от фоторезистора)?


Вернуться наверх
 
Не в сети
 Заголовок сообщения: Re: Часы на люминесцентных индикаторах.
СообщениеДобавлено: Пт янв 09, 2015 17:09:20 
Нашел транзистор. Понюхал.
Аватар пользователя

Карма: 3
Рейтинг сообщений: 143
Зарегистрирован: Пн апр 07, 2014 10:31:31
Сообщений: 179
Откуда: Бровары, UA
Рейтинг сообщения: 0
Iggis писал(а):
RoboC писал(а):
разница потенциалов между -V и +V = 27В :)
Спасибо, кэп! Изображение
Вопрос был про потенциалы +V и -V (аноды и катод индикатора) относительно общего, то есть ноги 7 и 14 LB1838.

))) тут можно вставить - пожалуйста)))
он тебе правильно ответил, тут как бы нет этого "относительно чего", точнее - читай что написал RoboC.
кратко, суть всех этих гребенных схем, получить гальванически развязанных 2 источника питания:
~ накал 1..5В и =анодное/сеточное 27..40В. это как отдельные обмотки транса, независимые.


Вернуться наверх
 
Не в сети
 Заголовок сообщения: Re: Часы на люминесцентных индикаторах.
СообщениеДобавлено: Пт янв 09, 2015 17:52:29 
Держит паяльник хвостом
Аватар пользователя

Карма: 11
Рейтинг сообщений: 43
Зарегистрирован: Вс май 23, 2010 13:55:42
Сообщений: 908
Откуда: Украина, Александрия
Рейтинг сообщения: 0
Iggis писал(а):
И добавлю сюда свой больной старый вопрос: умеет ли кто-нибудь реализовать плавную (или хотя бы многоступенчатую) регулировку яркости люминесцентных индикаторов (ИВ18 или ИВ11 или ИВЛ) от освещённости (от фоторезистора)?

А в чем сложность?

_________________
«И всё-таки она вертится!»


Вернуться наверх
 
Не в сети
 Заголовок сообщения: Re: Часы на люминесцентных индикаторах.
СообщениеДобавлено: Пт янв 09, 2015 18:29:04 
Друг Кота
Аватар пользователя

Карма: 58
Рейтинг сообщений: 423
Зарегистрирован: Чт мар 20, 2008 01:06:40
Сообщений: 3429
Откуда: Севастополь
Рейтинг сообщения: 0
suslogon писал(а):
abc писал(а):
В ноутбучных флоппиках ищите.

такие вообще уже давно дикий раритет! :shock: (да и коллекционеры им будут только рады)
Я как-то нашел ремонтника со стажем. Купил у него полтора десятка убитых (в прямом смысле) ноутбучных флоппиков по 50руб/шт.
Все не вскрывал, но в паре есть LB1839

СпойлерИзображение Изображение

_________________
>(*.*)<
Котище огромно, ушасто, пушисто, глазасто, зубасто, колючелапо и мявай. (c)


Вернуться наверх
 
Не в сети
 Заголовок сообщения: Re: Часы на люминесцентных индикаторах.
СообщениеДобавлено: Пт янв 09, 2015 19:26:15 
Держит паяльник хвостом
Аватар пользователя

Карма: 15
Рейтинг сообщений: 328
Зарегистрирован: Пн мар 25, 2013 03:20:47
Сообщений: 947
Откуда: Tallinn
Рейтинг сообщения: 0
Iggis писал(а):
Вопрос про потенциалы
Что я пытаюсь выяснить: Схема питания люминесцентных индикаторов от Микротех обеспечивает "верхнее" питание или "нижнее"? То есть катод сидит на GND или на -18в?
Для иллюстрации воспользуюсь схемами uldemir'a:
нижнее:
Изображение
верхнее:
Изображение

Apparatchik писал(а):
А в чем сложность?
В том, что готового проекта с плавной регулировкой яркости не попадалось (двухступечатую не хочу), сам программу не сделаю.
Железная реализация у меня есть и как-то работает в часах на ИЕ18/13 с LED-индикаторами. Но характеристика, то есть изменение яркости в темной зоне и в светлой зоне не адаптирована к чувствительности глаз при разной освещенности. Должна быть логарифмическая или квадратической, не знаю, у меня, похоже линейная. На ледах нормально, а с ИВами ужос. К тому же настройка муторная, настройки макс и мин яркостей и диапазона зависимы друг от друга...
Поэтому ищу что-то получше :roll:


Вернуться наверх
 
Не в сети
 Заголовок сообщения: Re: Часы на люминесцентных индикаторах.
СообщениеДобавлено: Пт янв 09, 2015 20:12:38 
Друг Кота
Аватар пользователя

Карма: 50
Рейтинг сообщений: 1398
Зарегистрирован: Пт авг 28, 2009 21:34:30
Сообщений: 7328
Откуда: 845-й км.
Рейтинг сообщения: 0
Медали: 1
Получил миской по аватаре (1)
Для 145ик1901 этот вопрос не имеет смысла. У неё напряжение питания равно анодному.

p.s. для недогадливых, я отвечал на первый вопрос:
Цитата:
Что я пытаюсь выяснить: Схема питания люминесцентных индикаторов от Микротех обеспечивает "верхнее" питание или "нижнее"? То есть катод сидит на GND или на -18в?


Последний раз редактировалось uldemir Пт янв 09, 2015 21:05:59, всего редактировалось 1 раз.

Вернуться наверх
 
Не в сети
 Заголовок сообщения: Re: Часы на люминесцентных индикаторах.
СообщениеДобавлено: Пт янв 09, 2015 20:58:42 
Потрогал лапой паяльник
Аватар пользователя

Карма: 1
Рейтинг сообщений: 49
Зарегистрирован: Сб апр 27, 2013 21:39:15
Сообщений: 374
Откуда: Украина
Рейтинг сообщения: 0
uldemir писал(а):
Для 145ик1901 этот вопрос не имеет смысла.


Регулировку можно сделать и у меня так сделано в первых часах - радиоконструкторе Старт .

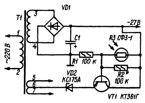
Функции датчика освещенности выполняет фоторезистор R3. Его располагают в таком месте часов, где на него не попадает свет от индикатора и в то же время свободно проникает свет помещения. Блок питания на схеме показан условно, он может быть любым.

Вместо фоторезистора СФЗ-1 можно использовать СФ2-6, СФ2-16 и др. Стабилитрон КС175А можно заменить на КС175Ж, Д814А. КС168А. Регулировка устройства сводится к подбору резистора R2 по желаемой яркости свечения индикатора в темноте.


Вложения:
image1.jpg [68.14 KiB]
Скачиваний: 1015
Вернуться наверх
 
Не в сети
 Заголовок сообщения: Re: Часы на люминесцентных индикаторах.
СообщениеДобавлено: Пт янв 09, 2015 21:11:47 
Встал на лапы

Зарегистрирован: Ср ноя 19, 2014 17:13:21
Сообщений: 86
Откуда: Украина, Никополь
Рейтинг сообщения: 0
Если кому интересно, добавил в прошивку часов на ИВ-18 автоматическую регулировку яркости индикатора в зависимости от времени (с 20.00 до 6.00 светит в 3 раза тусклее чем с 6.00 до 20.00) 8)


Вложения:
zegar VFD_IW-18 2x DS18b20 my 2 ds18b20.rar [6 KiB]
Скачиваний: 446
Вернуться наверх
 
Не в сети
 Заголовок сообщения: Re: Часы на люминесцентных индикаторах.
СообщениеДобавлено: Пт янв 09, 2015 21:45:00 
Нашел транзистор. Понюхал.
Аватар пользователя

Карма: 3
Рейтинг сообщений: 143
Зарегистрирован: Пн апр 07, 2014 10:31:31
Сообщений: 179
Откуда: Бровары, UA
Рейтинг сообщения: 0
uldemir писал(а):
Для 145ик1901 этот вопрос не имеет смысла. У неё напряжение питания равно анодному.

если что поправьте меня:
1. схемы с 145ик1901 с общим плюсом.
2. т.е. "верхним питанием"
3. для схем с "нижним питанием" не нужна гальваническая развязка по питаниям, т.е
можно сделать все по другому, по-проще.
4. и на схеме от Микротех, как раз накал/катод подключен к -V через искусственную среднюю точку.

ПС. мне например, эта "схема питания ВЛИ" нужна совсем для других часиков на ВЛИ


Последний раз редактировалось voyna Пт янв 09, 2015 22:16:45, всего редактировалось 2 раз(а).

Вернуться наверх
 
Не в сети
 Заголовок сообщения: Re: Часы на люминесцентных индикаторах.
СообщениеДобавлено: Пт янв 09, 2015 22:09:58 
Встал на лапы
Аватар пользователя

Карма: 10
Рейтинг сообщений: 375
Зарегистрирован: Ср дек 25, 2013 17:46:38
Сообщений: 94
Откуда: Челябинск
Рейтинг сообщения: 0
Перелопатил на складе списанного оборудования десяток флопиков. Ни в одном не нашел заветной микрухи, только в одном была парочка LB1642 в корпусе SIP. Микруха из той же оперы, что и LB1838, только одноканальная. Думаю, с ней тоже можно будет чего-нибудь придумать.

Там же нашел вот такой аппарат. Назначение не понятно, но судя по корпусу предназначалось для установки в автомобиль в гнездо магнитолы. Накал идет напрямую с кренки.
Изображение
Изображение

dimon-ru-80, а исходниками не поделитесь? Хотелось бы сделать плавное гашение при смене отображения показаний.


Вернуться наверх
 
Не в сети
 Заголовок сообщения: Re: Часы на люминесцентных индикаторах.
СообщениеДобавлено: Пт янв 09, 2015 22:19:30 
Друг Кота
Аватар пользователя

Карма: 50
Рейтинг сообщений: 1398
Зарегистрирован: Пт авг 28, 2009 21:34:30
Сообщений: 7328
Откуда: 845-й км.
Рейтинг сообщения: 0
Медали: 1
Получил миской по аватаре (1)
voyna писал(а):
1. схемы с 145ик1901 с общим плюсом.
Формально - да. Так как 145-я серия сделана по p-MOP технологии, то внутри у неё "верхний" ключ. Но так как напряжение питания микросхемы совпадает с анодным для ВЛИ - никакой особенной развязки не требуется. Единственное, что очень желательно - сформировать запорное напряжение, т.е. подачу на неактивные сетки потенциала ниже потенциала катода. Как это будет сделано - поднятием потенциала катода или генерацией более отрицательного напряжения - не суть важно, но может потребовать какого-либо способа развязки.


Вернуться наверх
 
Показать сообщения за:  Сортировать по:  Вернуться наверх
Начать новую тему Ответить на тему  [ Сообщений: 9121 ]     ... , , , 247, , , ...  

Часовой пояс: UTC + 3 часа


Кто сейчас на форуме

Сейчас этот форум просматривают: нет зарегистрированных пользователей и гости: 25


Вы не можете начинать темы
Вы не можете отвечать на сообщения
Вы не можете редактировать свои сообщения
Вы не можете удалять свои сообщения
Вы не можете добавлять вложения

Найти:
Перейти:  


Powered by phpBB © 2000, 2002, 2005, 2007 phpBB Group
Русская поддержка phpBB
Extended by Karma MOD © 2007—2012 m157y
Extended by Topic Tags MOD © 2012 m157y