Например TDA7294

Форум РадиоКот • Просмотр темы - Счётчик голов для аэрохоккея.
Форум РадиоКот
Здесь можно немножко помяукать :)

Текущее время: Чт дек 25, 2025 04:31:32

Часовой пояс: UTC + 3 часа


ПРЯМО СЕЙЧАС:



Начать новую тему Ответить на тему  [ Сообщений: 67 ]  1, , ,  
Автор Сообщение
Не в сети
 Заголовок сообщения: Счётчик голов для аэрохоккея.
СообщениеДобавлено: Вс янв 29, 2012 12:51:05 
Открыл глаза
Аватар пользователя

Зарегистрирован: Вс янв 29, 2012 12:45:12
Сообщений: 48
Рейтинг сообщения: 0
сделал аэрохоккей для учета голов нужна схема счетчика на индикаторе ИН-12Б счет до 9 и игра закончилась



Тему на первый раз - поправил..
Будьте внимательны и читайте правила, п.3: http://www.radiokot.ru/forum/viewtopic.php?f=19&t=6538

МитяРа..


Вернуться наверх
 
Не в сети
 Заголовок сообщения: Re: нужна схема импульсов
СообщениеДобавлено: Вс янв 29, 2012 13:38:35 
Друг Кота
Аватар пользователя

Карма: 62
Рейтинг сообщений: 889
Зарегистрирован: Вт апр 24, 2007 07:45:40
Сообщений: 6208
Откуда: Minsk
Рейтинг сообщения: 0
ziatkoff писал(а):
сделал аэрохоккей для учета голов нужна схема счетчика на индикаторе ИН-12Б счет до 9 и игра закончилась

Счетчиков на индикаторах не бывает - счетчики на микросхемах, транзисторах, лампах и т.д. - а уж пот`ом вывод на индикацию. Достаточно взять 155ИЕ2 + 155ИД1 и соединить их друг с другом штатно, и схемы никакой не надо.
Я снчала подумал, что аэрохоккей - это хоккей на самолетах, но Вики меня разубедила. Какой только фигней люди ни занимаются, когда делать нечего...
Название темы "Нужна схема импульсов" - как бы это помягче сказать - немножко шизоидное.


Вернуться наверх
 
Не в сети
 Заголовок сообщения: Re: нужна схема импульсов
СообщениеДобавлено: Вс янв 29, 2012 13:57:10 
Открыл глаза
Аватар пользователя

Зарегистрирован: Вс янв 29, 2012 12:45:12
Сообщений: 48
Рейтинг сообщения: 0
это хорошо когда силен в электро ,я то не бе не ме ,мне бы схему С ув Николай


Вернуться наверх
 
Не в сети
 Заголовок сообщения: Re: нужна схема импульсов
СообщениеДобавлено: Вс янв 29, 2012 14:08:22 
Друг Кота
Аватар пользователя

Карма: 62
Рейтинг сообщений: 889
Зарегистрирован: Вт апр 24, 2007 07:45:40
Сообщений: 6208
Откуда: Minsk
Рейтинг сообщения: 0
Дык запрос неконкретный. Кто будет на вход подавать эти импульсы - от кнопки или фотоприемник при пересечении ворот ? Игрока 2 - стало быть, таких устройств 2 надо взаимосвязанных. И что значит "Игра окончена" - это сигнал на табло или еще что? И счетчик противника при этом блокируется, иначе он может забросить шайбу после "свистка" ?
Короче, чтобы поймать попутный ветер, надо как минимум представлять - куда плыть.


Вернуться наверх
 
Эиком - электронные компоненты и радиодетали
Не в сети
 Заголовок сообщения: Re: нужна схема импульсов
СообщениеДобавлено: Вс янв 29, 2012 14:15:34 
Открыл глаза
Аватар пользователя

Зарегистрирован: Вс янв 29, 2012 12:45:12
Сообщений: 48
Рейтинг сообщения: 0
шайба залетает в ворота ,
просто замыкает контакт
высвечивается цифра
после цифры 9 игра окончена

у соперника свой счет голов


Вернуться наверх
 
Не в сети
 Заголовок сообщения: Re: Счётчик голов для аэрохоккея.
СообщениеДобавлено: Вс янв 29, 2012 14:41:01 
Открыл глаза
Аватар пользователя

Зарегистрирован: Вс янв 29, 2012 12:45:12
Сообщений: 48
Рейтинг сообщения: 0
не могу найти в инете схему чтоб выложить сюда и чтоб мне разжевали тупому


Вернуться наверх
 
Не в сети
 Заголовок сообщения: Re: Счётчик голов для аэрохоккея.
СообщениеДобавлено: Вс янв 29, 2012 14:44:15 
Друг Кота
Аватар пользователя

Карма: 62
Рейтинг сообщений: 889
Зарегистрирован: Вт апр 24, 2007 07:45:40
Сообщений: 6208
Откуда: Minsk
Рейтинг сообщения: 0
ziatkoff писал(а):
шайба залетает в ворота , просто замыкает контакт

Не так-то оно "просто". Выходит, замыкающий "контакт" должен быть на всю площадь ворот и при этом достаточно чувствительным, и не срабатывть ложно от дрожи, ударов по столу и т.д. Так что дело тут не в электронике - она проста как два пальца об асфальт, а в датчике. Думаю, тут подошла бы пластина, прикрепленная к пьезодатчику и с хорошо амортизированным подвесом. А лучше - сетка лучей с фотоприемником, как в "шпиёнских" фильмах.

А схему вечерком накидаю. Сейчас пора котов кормить :)


Вернуться наверх
 
Не в сети
 Заголовок сообщения: Re: Счётчик голов для аэрохоккея.
СообщениеДобавлено: Вс янв 29, 2012 14:47:49 
Друг Кота
Аватар пользователя

Карма: 49
Рейтинг сообщений: 392
Зарегистрирован: Вс июл 12, 2009 19:15:29
Сообщений: 7014
Откуда: Ижевск
Рейтинг сообщения: 0
Цитата:
просто замыкает контакт

И когда вынимаешь из ворот тоже замыкает контакт. Еще тот геморой.

_________________
Docendo discimus


Вернуться наверх
 
Не в сети
 Заголовок сообщения: Re: Счётчик голов для аэрохоккея.
СообщениеДобавлено: Вс янв 29, 2012 14:53:46 
Открыл глаза
Аватар пользователя

Зарегистрирован: Вс янв 29, 2012 12:45:12
Сообщений: 48
Рейтинг сообщения: 0
Jack_A ,просто написал чтобы кто нибудь хоть простенькую схемку скинул .а уж потом хочу сделать шайба будет размыкать луч света (как это называется я и не знаю ,но думую помогут ,только в инете люди еще общаются и помогают ,а там на воздухе сложно)


Вернуться наверх
 
Не в сети
 Заголовок сообщения: Re: Счётчик голов для аэрохоккея.
СообщениеДобавлено: Вс янв 29, 2012 14:56:23 
Друг Кота
Аватар пользователя

Карма: 49
Рейтинг сообщений: 392
Зарегистрирован: Вс июл 12, 2009 19:15:29
Сообщений: 7014
Откуда: Ижевск
Рейтинг сообщения: 0
Цитата:
а уж потом хочу сделать

У меня просто челюсть отвисла и руки опустились.

_________________
Docendo discimus


Вернуться наверх
 
Не в сети
 Заголовок сообщения: Re: Счётчик голов для аэрохоккея.
СообщениеДобавлено: Вс янв 29, 2012 14:59:28 
Открыл глаза
Аватар пользователя

Зарегистрирован: Вс янв 29, 2012 12:45:12
Сообщений: 48
Рейтинг сообщения: 0
Собутыльник Кота,шайба пролетает контакт ,замыкает его ,потом он сам размыкается ,шайба выпадает в ловушку


Вернуться наверх
 
Не в сети
 Заголовок сообщения: Re: Счётчик голов для аэрохоккея.
СообщениеДобавлено: Вс янв 29, 2012 15:07:05 
Друг Кота
Аватар пользователя

Карма: 49
Рейтинг сообщений: 392
Зарегистрирован: Вс июл 12, 2009 19:15:29
Сообщений: 7014
Откуда: Ижевск
Рейтинг сообщения: 0
Изображение

_________________
Docendo discimus


Вернуться наверх
 
Не в сети
 Заголовок сообщения: Re: Счётчик голов для аэрохоккея.
СообщениеДобавлено: Вс янв 29, 2012 15:57:07 
Открыл глаза
Аватар пользователя

Зарегистрирован: Вс янв 29, 2012 12:45:12
Сообщений: 48
Рейтинг сообщения: 0
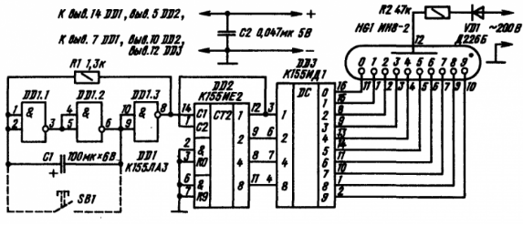
155ИЕ2 + 155ИД1 вот на этих микросхемах ,схему нашел но фото скинуть не могу ,где узнать


Вернуться наверх
 
Не в сети
 Заголовок сообщения: Re: Счётчик голов для аэрохоккея.
СообщениеДобавлено: Вс янв 29, 2012 21:51:50 
Открыл глаза
Аватар пользователя

Зарегистрирован: Вс янв 29, 2012 12:45:12
Сообщений: 48
Рейтинг сообщения: 0
вот схема что делать


Вложения:
Безымянныйа.png [42.61 KiB]
Скачиваний: 768
Вернуться наверх
 
Не в сети
 Заголовок сообщения: Re: Счётчик голов для аэрохоккея.
СообщениеДобавлено: Пн янв 30, 2012 07:27:28 
Друг Кота
Аватар пользователя

Карма: 49
Рейтинг сообщений: 392
Зарегистрирован: Вс июл 12, 2009 19:15:29
Сообщений: 7014
Откуда: Ижевск
Рейтинг сообщения: 0
На вход С1 ваш датчик цеплять.

_________________
Docendo discimus


Вернуться наверх
 
Не в сети
 Заголовок сообщения: Re: Счётчик голов для аэрохоккея.
СообщениеДобавлено: Пн янв 30, 2012 11:38:34 
Открыл глаза
Аватар пользователя

Зарегистрирован: Вс янв 29, 2012 12:45:12
Сообщений: 48
Рейтинг сообщения: 0
вот такая схема вроде будет работать,но как игра остановится при забитом 9голе


Вложения:
Безымянныйююю.png [56.9 KiB]
Скачиваний: 902
Вернуться наверх
 
Не в сети
 Заголовок сообщения: Re: Счётчик голов для аэрохоккея.
СообщениеДобавлено: Пн янв 30, 2012 11:40:03 
Друг Кота
Аватар пользователя

Карма: 49
Рейтинг сообщений: 392
Зарегистрирован: Вс июл 12, 2009 19:15:29
Сообщений: 7014
Откуда: Ижевск
Рейтинг сообщения: 0
Игроков что, надо валить после достижения девяти голов? :shock:

_________________
Docendo discimus


Вернуться наверх
 
Не в сети
 Заголовок сообщения: Re: Счётчик голов для аэрохоккея.
СообщениеДобавлено: Пн янв 30, 2012 11:45:49 
Открыл глаза
Аватар пользователя

Зарегистрирован: Вс янв 29, 2012 12:45:12
Сообщений: 48
Рейтинг сообщения: 0
с похмелья ты наверно ,собутыльник кота,нет просто должен остановиться двигатель подачи воздуха :beer:


Вернуться наверх
 
Не в сети
 Заголовок сообщения: Re: Счётчик голов для аэрохоккея.
СообщениеДобавлено: Пн янв 30, 2012 11:47:50 
Друг Кота
Аватар пользователя

Карма: 49
Рейтинг сообщений: 392
Зарегистрирован: Вс июл 12, 2009 19:15:29
Сообщений: 7014
Откуда: Ижевск
Рейтинг сообщения: 0
Так с девятки и подайте сигнал "Выключить питание насоса".

_________________
Docendo discimus


Вернуться наверх
 
Не в сети
 Заголовок сообщения: Re: Счётчик голов для аэрохоккея.
СообщениеДобавлено: Пн янв 30, 2012 11:57:17 
Открыл глаза
Аватар пользователя

Зарегистрирован: Вс янв 29, 2012 12:45:12
Сообщений: 48
Рейтинг сообщения: 0
я так у думал ,но и думал что можно сделать так


Вложения:
Безымянныйапа.png [22.65 KiB]
Скачиваний: 1122
Вернуться наверх
 
Показать сообщения за:  Сортировать по:  Вернуться наверх
Начать новую тему Ответить на тему  [ Сообщений: 67 ]  1, , ,  

Часовой пояс: UTC + 3 часа


Кто сейчас на форуме

Сейчас этот форум просматривают: нет зарегистрированных пользователей и гости: 20


Вы не можете начинать темы
Вы не можете отвечать на сообщения
Вы не можете редактировать свои сообщения
Вы не можете удалять свои сообщения
Вы не можете добавлять вложения

Найти:
Перейти:  


Powered by phpBB © 2000, 2002, 2005, 2007 phpBB Group
Русская поддержка phpBB
Extended by Karma MOD © 2007—2012 m157y
Extended by Topic Tags MOD © 2012 m157y