
В крайнем случае можешь обычные блокировочные поставить от этой точки на общий провод(на корпус).



Не так. Путаешь понятия. Сопротивление излучения - это сопротивление части пространства возле антенны, в котором возбуждаются ЭМВ (сопротивление воды, в которой ты создаешь волну). К омическому сопротивлению проводника антенны оно отношения не имеет. Омическое сопротивление вызывает только потери, потому, что часть энергии тока в антенне, созданного оконечным усилителем передатчика, идет на нагрев проводника и окружающего воздуха, а не на возбуждение ЭМВ. Излучаемая мощность при этом снижается, но это нельзя называть снижением усиления, это называется снижением эффективности. В предельном случае можно повесить на выход передатчика обычную лампочку накаливания - вся энергия уйдет в свет и тепло.Boltaro писал(а): Или так - чем толще антенна тем меньше активное сопротивление и меньше соответственно сопротивление излучения.
Добротность антенны в целом ниже не из-за омического сопротивления, а из-за увеличения ёмкости и снижения индуктивности, добротность-же самОй индуктивности полотна повышается.но опять же. добротность у антенны с большим диаметром ниже.

Не очень удачная схема по моему. Катушки с отводами. Зачем?DIMON_CHAiNIK\\ писал(а):Так...Вроде,со всем разобрался.

Но это уже не два контура, а LC фильтр и считать его нужно методами расчета фильтров.clakson писал(а): как можно расчитать резанансную частоту сложного колебательного контура (желательно кинуть книжкой в глаз).
Подключать к отводу катушки.clakson писал(а):были дивиации в 10кГц (к примеру). Каким образом можно реализовать изменнение емкости варикапа в малых размерах, без добовления последоваетльно дополнительной емкости?
В принципе катушки свои можно поставить. Просто без отводов.DIMON_CHAiNIK\\ писал(а):А катушку примерно какую мотать(чтобы генератор перекрыл диапазон хотя бы 1-12мгц )?Есть каркасы диаметром 8мм с карбонильными сердечниками.
А как он работает?Нормально?Приемник на 174ха2(Поляков автор) смогу настроить на диапазон 40м?
Вот в другой соседней теме.sulik_JR писал(а): Как бы мне применить кольцевой диодный смеситель в преобразователе частоты вещательного КВ приёмника 3...10МГц? ПЧ 465кГц.
aen писал(а):Так я специально и делал, что бы на провод работал. И делал специально на этот диапазон именно низкочастотный участок КВ. Просто когда в этой теме разговор зашел, то заинтересовался и спаял за пару вечеров для интереса. А схема стандартная. Рисовать лень. На входе двухзвенный фильтр на СБ1-а. Как говорил УВЧ с током 50 ма, дальше кольцевой смеситель на диодах по стандартной схеме, как в трансивере Радио-76.ua9kbt писал(а):Что у вас за приемник? На низах УВЧ не нужен, при условии нормальной антенны, а не случайной проволоки.
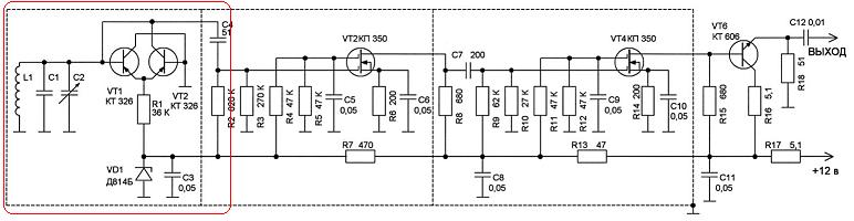
Гетеродин по такой схеме, только усилитель на КТ368 слабо связанный с генератором и на выходе эмиттерный повторитель на КТ603 из книжки
"Степанов Б.Г., Лаповок Я.С, Ляпин Г.Б. Любительская радиосвязь на KB"
УПЧ по такой.
http://rf.atnn.ru/s1/stab_uv.htm
АРУ изменением питания УПЧ. Фильтр старый большой ПФ1П-2.
Он лучше, чем современные маленькие.
Первый каскад УПЧ имеет усиление около двух и служит только для согласования керамического фильтра. Сама основная схема имеет слишком маленькое входное сопротивление. Вместо С1 после первого каскада пробовал ставить еще один керамический фильтр современный, но заметного улучшения не заметил, да и слишком шунтируется он и выкинул его.
В общем то, что делают в выходной день для пробы. Сделал, послушал и отложил. Хотел еще SSB детектор приделать, но пока отставил. Запал прошел. Делал как раз для того, что бы низкочастотный участок КВ послушать. Услышал с примитивной антенной.
А все эти приемники, что здесь схемы выкладывали на ХА10 и ХА2 с такой антенной на 3 мгц ничего кроме шума не принимают, но на 7 мгц уже и на них можно уже услышать. Это я еще несколько лет назад пробовал.