Конденсаторы и с чем их кушают коты )
- Реклама
- Мышонок
- Друг Кота
- Сообщения: 3792
- Зарегистрирован: Чт сен 14, 2006 11:42:09
- Откуда: Обитаю на чердаке
- Контактная информация:
Почему?
Смотри тему: звуковой маяк. сообщение:
Смотри тему: звуковой маяк. сообщение:
Здесь приведена генраторная схема для пищалки. Сама схема будет в принципе такойже, только номиналы элементов надо будет изменить, чтобы понизить частоту с нескольких (1-3 кГц) до 0,5-2 Гц. Это нужно для того, чтобы отчётливо было видно мигание светодиода.мышонок писал(а): Добавлено: Пн Апр 02, 2007 5:56 pm
Вот основная схема. Это автогенератор...
Последний раз редактировалось Мышонок Сб сен 01, 2007 18:49:10, всего редактировалось 1 раз.
Память очень интересная штука: бывает так, что запомнишь одно, а вспомнишь другое...
- kamikadze
- Потрогал лапой паяльник
- Сообщения: 391
- Зарегистрирован: Пт авг 31, 2007 19:58:52
- Откуда: Украина, Сум обл., г. КоНоТоП
Если я правильно понял то это должно работать (кружок - транзистор npn, треугольник - светодиод, ну и остальные детали)
Зы: ИП немного перекосило ))
Зы: ИП немного перекосило ))
- Вложения
-
- Безымянный.JPG
- (3.39 КБ) 1076 скачиваний
- Мышонок
- Друг Кота
- Сообщения: 3792
- Зарегистрирован: Чт сен 14, 2006 11:42:09
- Откуда: Обитаю на чердаке
- Контактная информация:
Ты практически повторил исходную схему из Дригалкина. Советую ещё взглянуть на эту игрушку: http://www.radiokot.ru/forum/viewtopic.php?t=3125.
Последний раз редактировалось Мышонок Сб сен 01, 2007 18:53:06, всего редактировалось 1 раз.
Память очень интересная штука: бывает так, что запомнишь одно, а вспомнишь другое...
- Реклама
- Мышонок
- Друг Кота
- Сообщения: 3792
- Зарегистрирован: Чт сен 14, 2006 11:42:09
- Откуда: Обитаю на чердаке
- Контактная информация:
Во-первых, представь себе бочку - это конденсатор. Берём шланг, открываем кран - потекла вода - это зарядный ток. Кран - это тот же ключ (выключатель, реле, транзистор). Вода (ток) течёт, бочка постепенно наполняется (напряжение на конденсаторе). Когда бочка наполнится - кран закрываем автоматически (клапан) - ток заряда больше не течет. Открываем кран в бочке - наполняем вёдра или что ещё, т.е. подключаем нагрузку. Вода вытекает (ток нагрузки), её уровень (напряжение на конденсаторе) снижается. Это обычная работа конденсатора.
Теперь, чтобы он стал работать как генератор, нужно воду в бочку доливать. А это можно делать периодически включая то наполнение, то нагрузки (опорожнение), т.е. переключать направление тока.
Где-то на форуме этот пример уже приводился - поищите.
----------
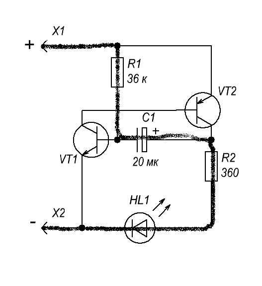
А вот вариант светодиодной мигалки. R1 можно сделать переменным 47 кОм - задаёт частоту мигания (совместно с С1). R2 - балластный резистор для светодиода. При 5В питания он должен быть примерно 240 Ом, для 9 В - 470 Ом. Напряжения конденсатора должно быть не менее 1,2*Uпит.
Теперь, чтобы он стал работать как генератор, нужно воду в бочку доливать. А это можно делать периодически включая то наполнение, то нагрузки (опорожнение), т.е. переключать направление тока.
Где-то на форуме этот пример уже приводился - поищите.
----------
А вот вариант светодиодной мигалки. R1 можно сделать переменным 47 кОм - задаёт частоту мигания (совместно с С1). R2 - балластный резистор для светодиода. При 5В питания он должен быть примерно 240 Ом, для 9 В - 470 Ом. Напряжения конденсатора должно быть не менее 1,2*Uпит.
- Вложения
-
- blink.GIF
- (5.99 КБ) 1426 скачиваний
Память очень интересная штука: бывает так, что запомнишь одно, а вспомнишь другое...
- kamikadze
- Потрогал лапой паяльник
- Сообщения: 391
- Зарегистрирован: Пт авг 31, 2007 19:58:52
- Откуда: Украина, Сум обл., г. КоНоТоП
мышонок писал(а):А вот вариант светодиодной мигалки. R1 можно сделать переменным 47 кОм - задаёт частоту мигания (совместно с С1). R2 - балластный резистор для светодиода. При 5В питания он должен быть примерно 240 Ом, для 9 В - 470 Ом. Напряжения конденсатора должно быть не менее 1,2*Uпит.
НУ я суть уже понял, запиночка просто была в принцмпе зарадки! Я понимаю, что схема проста, но не могли бы вы её пошагово россказать?
- Мышонок
- Друг Кота
- Сообщения: 3792
- Зарегистрирован: Чт сен 14, 2006 11:42:09
- Откуда: Обитаю на чердаке
- Контактная информация:
При подаче напряжения питания считаем, что заряды (электроны) идут от минуса к плюсу (хотя ток течёт от плюса к минусу) через светодиод и балластный резистор. Т.к. p-n-p транзистор VT2 закрыт (на базе нет "минуса" для его открывания), то заряды идут к "плюсу" через конденсатор С1 и резистор R1. при этом на одной стороне конденсатора ("плюс") образуется минус напряжения, а на другой - плюс. Этот плюс открывает транзистор VT1.С коллектора VT1 "минус" поступает на базу VT2 и открывает его - загорается светодиод. Конденсатор довольно быстро разряжается через VT2. VT1 закрывается и закрывает VT2. Светодиод гаснет и цикл повторяется заново - т.е. получается мигание светодиода.
Для оценки времени разряда конденсатора, а следовательно, длительности вспышек светодиода: t=R1•C1
R1 можно использовать от 33 до 150 кОм, конденсатор С1 - 10-47 мкФ.
Для оценки времени разряда конденсатора, а следовательно, длительности вспышек светодиода: t=R1•C1
R1 можно использовать от 33 до 150 кОм, конденсатор С1 - 10-47 мкФ.
Память очень интересная штука: бывает так, что запомнишь одно, а вспомнишь другое...
- kamikadze
- Потрогал лапой паяльник
- Сообщения: 391
- Зарегистрирован: Пт авг 31, 2007 19:58:52
- Откуда: Украина, Сум обл., г. КоНоТоП
Уф, спасибо, почти всё понятно
(уж простите, но у того кто не пытается понять и вопросов никогда нет) Но вот
Следственнно если я всё правильно понял, то тут он уже должен загорется (светодиод)
При подаче напряжения питания считаем, что заряды (электроны) идут от минуса к плюсу (хотя ток течёт от плюса к минусу) через светодиод и балластный резистор. Т.к. p-n-p транзистор VT2 закрыт (на базе нет "минуса" для его открывания), то заряды идут к "плюсу" через конденсатор С1 и резистор R1.
Следственнно если я всё правильно понял, то тут он уже должен загорется (светодиод)
- Мышонок
- Друг Кота
- Сообщения: 3792
- Зарегистрирован: Чт сен 14, 2006 11:42:09
- Откуда: Обитаю на чердаке
- Контактная информация:
Нет. Транзистор VT2 как раз и управляет светодиодом, а он в данный момент ещё закрыт. Он откроется после зарядки конденсатора - только в этот момент VT1 выдаст "минус" на базу VT2 для его открывания, а следовательно, для зажигания светодиода.
Память очень интересная штука: бывает так, что запомнишь одно, а вспомнишь другое...
- kamikadze
- Потрогал лапой паяльник
- Сообщения: 391
- Зарегистрирован: Пт авг 31, 2007 19:58:52
- Откуда: Украина, Сум обл., г. КоНоТоП
Но коментс, но если я понял правильно, то именно изза баластных резюков светится не будет диод до открывания транзисторов
- Вложения
-
- Путь ).GIF
- (8.35 КБ) 708 скачиваний
- Мышонок
- Друг Кота
- Сообщения: 3792
- Зарегистрирован: Чт сен 14, 2006 11:42:09
- Откуда: Обитаю на чердаке
- Контактная информация:
Опять нет. Светодиод гореть не будет - слишком велико сопротивление резистора R1 а конденсатор для постоянного тока - разрыв цепи. Будет течь маленький ток заряда, которого недостаточно для зажигания светодиода. Прочти ещё раз текст - там описано, как проходит ток. Светодиод будет гореть тогда, когда откроется VT2.
Память очень интересная штука: бывает так, что запомнишь одно, а вспомнишь другое...
- kamikadze
- Потрогал лапой паяльник
- Сообщения: 391
- Зарегистрирован: Пт авг 31, 2007 19:58:52
- Откуда: Украина, Сум обл., г. КоНоТоП
Про сопротивление я ж и сказал ) ЛАдно, всем огромнейшее спасибо, а особенно мышонку, и ARV! Спасибо что не злитсеь и доходчиво всё обьясняете и пытаетесь понять чего я хочу! Извините коль коряво формулирую ) и еще раз СПАСИБО!
ЗЫ: ))) А в схеме когда открыты транзисторы ток итдет через базу VT2, или через коллектор- эмитер ? (Для подстраховки вопрос)
ЗЫ: ))) А в схеме когда открыты транзисторы ток итдет через базу VT2, или через коллектор- эмитер ? (Для подстраховки вопрос)
Бригада дежурных телепатов ответит на ваши вопросы
- ARV
- Ум, честь и совесть. И скромность.
- Сообщения: 18544
- Зарегистрирован: Чт дек 28, 2006 08:19:56
- Откуда: Новочеркасск
- Контактная информация:
kamikadze писал(а):А в схеме когда открыты транзисторы ток итдет через базу VT2, или через коллектор- эмитер ? (Для подстраховки вопрос)
если рассматривать человека снизу, покажется, что мозг у него глубоко в жопе
при взгляде на многих сверху ничего не меняется...
Мой уютный бложик... заходите!
при взгляде на многих сверху ничего не меняется...
Мой уютный бложик... заходите!
- Мышонок
- Друг Кота
- Сообщения: 3792
- Зарегистрирован: Чт сен 14, 2006 11:42:09
- Откуда: Обитаю на чердаке
- Контактная информация:
Это хорошо в некоторых книжках рисовали: слабый базовый ток (жиденькая вереница человечков-зарядов) открывает базовые ворота, которые веревкой связаны с другими воротами, через который идёт могучий поток человечков-зарядов от колектора к эмиттеру. Т.е базовый ток управляет током К-Э.
Память очень интересная штука: бывает так, что запомнишь одно, а вспомнишь другое...
-
Сфинкс
Хотелось бы задать вопрос в тему, так сказать
Есть такие вещи, с которыми встречаешься каждый день, но толком не можешь сказать "а почему именно так?".
Есть такие простенькие цепи из 2-х элементов, чаще встречаются в обвязках ИС, а конкретно:
1: кнденсатор - резистор (последовательно)
2: конденсатор - резистор (параллельно)
Вот почему они включаются в паре и что эти пары дают?
Есть такие вещи, с которыми встречаешься каждый день, но толком не можешь сказать "а почему именно так?".
Есть такие простенькие цепи из 2-х элементов, чаще встречаются в обвязках ИС, а конкретно:
1: кнденсатор - резистор (последовательно)
2: конденсатор - резистор (параллельно)
Вот почему они включаются в паре и что эти пары дают?


