Например TDA7294

Форум РадиоКот • Просмотр темы - Терморегулятор на микроконтроллере PIC16F84 датчикe DS18B20
Форум РадиоКот
Здесь можно немножко помяукать :)

Текущее время: Пн янв 12, 2026 18:35:52

Часовой пояс: UTC + 3 часа


ПРЯМО СЕЙЧАС:



Начать новую тему Ответить на тему  [ Сообщений: 1950 ]     ... , , , 78, , , ...  
Автор Сообщение
Не в сети
 Заголовок сообщения: Re: Терморегулятор на микроконтроллере PIC16F84 датчикe DS18
СообщениеДобавлено: Вт мар 06, 2012 15:25:25 
Встал на лапы

Зарегистрирован: Пт фев 03, 2012 19:39:32
Сообщений: 103
Рейтинг сообщения: 0
To Soir!
Гоняю на макетке http://radiokot.ru/forum/download/file.php?id=98031 и http://radiokot.ru/forum/download/file.php?id=98029 идет ошибка.
В протеусе все хорошо, а в металле глюк.
При температуре меньше заданной на 0,5-0,7 град и ниже нагрев не включается. При подъеме температуры близко к регулируемой начинается регулировка и все хорошо. Убираю лампочку после некоторого остывания датчика лампочка выключается. Это справедливо и в автоматическом и ручном режиме.
При том на индикаторе полная мощность.


Вернуться наверх
 
Не в сети
 Заголовок сообщения: Re: Терморегулятор на микроконтроллере PIC16F84 датчикe DS18
СообщениеДобавлено: Вт мар 06, 2012 16:22:51 
Друг Кота

Карма: 33
Рейтинг сообщений: 213
Зарегистрирован: Ср окт 14, 2009 10:37:49
Сообщений: 3956
Откуда: Украина
Рейтинг сообщения: 0
variaevg писал(а):
To Soir!
Гоняю на макетке http://radiokot.ru/forum/download/file.php?id=98031 и http://radiokot.ru/forum/download/file.php?id=98029 идет ошибка.
В протеусе все хорошо, а в металле глюк.
При температуре меньше заданной на 0,5-0,7 град и ниже нагрев не включается. При подъеме температуры близко к регулируемой начинается регулировка и все хорошо. Убираю лампочку после некоторого остывания датчика лампочка выключается. Это справедливо и в автоматическом и ручном режиме.
При том на индикаторе полная мощность.

Не знаю, что сказать.
Как минимум трое разных людей (в т.ч. и я) проверили работу в железе. На такой глюк никто не жаловался. Про ручной режим ничего не скажу, я им вплотную в этом проекте не занимался, он перекочевал из базового. Я его пару раз проверил, но не в последних прошивках, может что и наложилось друг на друга, погляжу на досуге. Но автоматический режим опробован слева направо и справа налево. Пробуйте последнюю версию прошивки 4.2 (4.3 я забросил). Смотрите формирователь синхроимпульсов, помехи от силовых цепей (и сами силовые цепи, раз при 100% мощности лампочка не включается. Как Вы подключаете симистор?)... Проверяйте коэффициенты.


Вернуться наверх
 
Не в сети
 Заголовок сообщения: Re: Терморегулятор на микроконтроллере PIC16F84 датчикe DS18
СообщениеДобавлено: Вт мар 06, 2012 17:58:57 
Прорезались зубы

Карма: 5
Рейтинг сообщений: 8
Зарегистрирован: Пн янв 16, 2012 02:06:36
Сообщений: 214
Откуда: Луганск
Рейтинг сообщения: 0
variaevg писал(а):
При температуре меньше заданной на 0,5-0,7 град и ниже нагрев не включается. При подъеме температуры близко к регулируемой начинается регулировка и все хорошо

Странно. Я все прошивки, которые были по данному регулятору, проверял в железе и такого глюка, не заметить вроде не мог.Изображение Скиньте установки, с которыми это у Вас происходит. Я завтра приду с работы и проверю у себя.


Вернуться наверх
 
Не в сети
 Заголовок сообщения: Re: Терморегулятор на микроконтроллере PIC16F84 датчикe DS18
СообщениеДобавлено: Вт мар 06, 2012 18:01:40 
Друг Кота

Карма: 33
Рейтинг сообщений: 213
Зарегистрирован: Ср окт 14, 2009 10:37:49
Сообщений: 3956
Откуда: Украина
Рейтинг сообщения: 0
Тут больше похоже на неправильное подключение симистора. Если используется MOC, то возможно он оказался с контролем нуля.


Вернуться наверх
 
Эиком - электронные компоненты и радиодетали
Не в сети
 Заголовок сообщения: Re: Терморегулятор на микроконтроллере PIC16F84 датчикe DS18
СообщениеДобавлено: Вт мар 06, 2012 18:19:15 
Прорезались зубы

Карма: 5
Рейтинг сообщений: 8
Зарегистрирован: Пн янв 16, 2012 02:06:36
Сообщений: 214
Откуда: Луганск
Рейтинг сообщения: 0
Я вообще не правильно понял. Думал, что не работает только в диапазоне 0,5-0,7*С а ниже и выше работает нормально. Т.е. я понял так, что при включении, лампа горит и температура растет. Не доходя 0,7*С, до заданной, лампа тухнет, а когда, за счет инерции, поднялась до 0,5 от заданной, опять включается и дальше работает нормально.
Но, коль вы пишите что ниже 0,7 вообще не работает, получается, что при включении, если температура ниже заданной, на несколько градусов, то вообще не включается лампа? Такого глюка, у меня точно небыло.
Soir писал(а):
Тут больше похоже на неправильное подключение симистора. Если используется MOC, то возможно он оказался с контролем нуля.

Так он же, по идее, вообще тогда не смог бы регулировать. Или я ошибаюсь?


Вернуться наверх
 
Не в сети
 Заголовок сообщения: Re: Терморегулятор на микроконтроллере PIC16F84 датчикe DS18
СообщениеДобавлено: Вт мар 06, 2012 19:45:36 
Встал на лапы

Зарегистрирован: Пт фев 03, 2012 19:39:32
Сообщений: 103
Рейтинг сообщения: 0
Подробно, версия http://radiokot.ru/forum/download/file.php?id=98029
Температура датчика 23 град.
Настройки: t 26. A On. A 100, St 2, PG 0.5, IG 0.1, dG 2.0, Pr 10
При включении лампа не горит. Пальцами грею датчик до 26 и начинается регулировка температуры от 25,7 до 26,4, бывают забросы до 27 и больше. Грею лампой 100 вт на расстоянии 3-4 см.
Убираю лампу, при снижении температуры лампа горит ярче, но при от 25,6 до 25,4 тухнет и больше не горит.
Повторяю процесс, все также.
Честно говоря мпе больше понравилась прошивка 4.3, четче держит температуру, хотя глюк такой же.


Вернуться наверх
 
Не в сети
 Заголовок сообщения: Re: Терморегулятор на микроконтроллере PIC16F84 датчикe DS18
СообщениеДобавлено: Вт мар 06, 2012 19:49:56 
Встал на лапы

Зарегистрирован: Пт фев 03, 2012 19:39:32
Сообщений: 103
Рейтинг сообщения: 0
Забыл.


Вложения:
2012-03-06_201411.png [24.14 KiB]
Скачиваний: 452
Счема.JPG [18.84 KiB]
Скачиваний: 366
Вернуться наверх
 
Не в сети
 Заголовок сообщения: Re: Терморегулятор на микроконтроллере PIC16F84 датчикe DS18
СообщениеДобавлено: Вт мар 06, 2012 20:14:33 
Друг Кота

Карма: 33
Рейтинг сообщений: 213
Зарегистрирован: Ср окт 14, 2009 10:37:49
Сообщений: 3956
Откуда: Украина
Рейтинг сообщения: 0
variaevg писал(а):
Настройки: t 26. A On. A 100, St 2, PG 0.5, IG 0.1, dG 2.0, Pr 10

Сейчас соберу обратно макетку (не успеваю туда-сюда, уже надо две), проверю именно с этими параметрами. Не знаю, что получится, стабильности наверно трудно будет добиться - температура близка к комнатной, но мертвых зон все равно не должно быть.
Версия 4,3 мне тоже больше по душе. На моей макетке она тоже лучше держала температуру. Правда я с 4,2 не сильно экспериментировал с настройками.
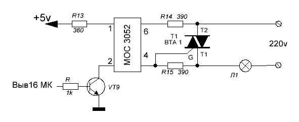
Кстати, по имеющемся у меня даташит подключение данного MOC несколько другое.
Изображение


Вложения:
3052.jpg [8.5 KiB]
Скачиваний: 1655
Вернуться наверх
 
Не в сети
 Заголовок сообщения: Re: Терморегулятор на микроконтроллере PIC16F84 датчикe DS18
СообщениеДобавлено: Вт мар 06, 2012 22:08:36 
Друг Кота

Карма: 33
Рейтинг сообщений: 213
Зарегистрирован: Ср окт 14, 2009 10:37:49
Сообщений: 3956
Откуда: Украина
Рейтинг сообщения: 0
variaevg писал(а):
В протеусе все хорошо, а в металле глюк.

Будем разбираться по-порядку.
variaevg писал(а):
При температуре меньше заданной на 0,5-0,7 град и ниже нагрев не включается. При подъеме температуры близко к регулируемой начинается регулировка и все хорошо. Убираю лампочку после некоторого остывания датчика лампочка выключается. Это справедливо и в автоматическом и ручном режиме.
При том на индикаторе полная мощность.

Здесь непонятен момент : "Это справедливо и в автоматическом и ручном режиме.". Что регулятор реагирует на температуру и в ручном режиме? Думаю Вы здесь просто не разобрались с алгоритмом работы в ручном режиме. Я кажется выкладывал описание работы... Потом как-нибудь, когда уже будет окончательный вариант, я выложу окончательное описание, если никто этого не сделает раньше.
Итак, режим работы. Их четыре. Автоматический (A 0n); ручной (P 0n); ручной, нагреватель включен (0n); ручной, нагреватель выключен (0FF). Автоматический думаю понятно, формулы выкладывал. P 0n - в этом режиме можно кнопками плюс минус менять нагрузку от 0 до 100%. 0n - нагрузка включена на 100%. 0FF - нагрузка выключена. Тут тоже все просто.
Теперь нюансы. Для избежания частого включения/выключения нагрузки во время выбора режима, настройка вступает в силу после истечения ~5 сек от последнего нажатия на кнопки.
Нюанс второй. Если выбран какой-либо из ручных режимов, то в режиме индикации выходной мощности кнопками плюс/минус можно установить желаемую мощность. При этом прибор автоматически перейдет в режим P 0n (если до этого он был в одном из режимов 0n или 0FF) без задержки по времени.
variaevg писал(а):
Настройки: t 26. A On. A 100, St 2, PG 0.5, IG 0.1, dG 2.0, Pr 10
При включении лампа не горит. Пальцами грею датчик до 26 и начинается регулировка температуры от 25,7 до 26,4, бывают забросы до 27 и больше. Грею лампой 100 вт на расстоянии 3-4 см.
Убираю лампу, при снижении температуры лампа горит ярче, но при от 25,6 до 25,4 тухнет и больше не горит.

Вопрос тут "A On. A 100" при этом лампа не горит? Проверьте плавность регулировки мощности в ручном режиме. Если плавности нет, проблема в силовой части или в формирователе синхроимпульсов. Тут было бы удобно понаблюдать осциллографом.
Если ручной режим работает нормально, значит проблема в настройках регулятора. Если посмотреть на расчетную формулу, то отдельные составляющие могут иметь разные знаки и компенсировать друг друга. Меняйте коэффициенты.
С Вашими коэффициентами моя макетка работает, но, как и ожидалось стабилизация плохая. 25,4 - 26,6 град. (У меня комнатная 23. Разогрев идет быстро, а остывает долго, регулятор успевает 10 раз мощность сбросить до 0.) Установив St 5, Pr 1 точность поддержания температуры заметно улучшилась и стала 0,2 град. Так что и здесь все работает.
Тут тоже есть нюанс, при использовании таких нагревателей как лампа для таких температур. У меня лампа начинает хоть как-то излучать тепло при мощности более 15% и зависимость между мощностью по шкале прибора и излучаемым теплом далеко не прямо-пропорциональная. Эти первые проценты регулятор пытается плавно вытягивать, но отдачи нет, ошибка нарастает, регулятор разгоняется, проскакивает заданную температуру, затем сбрасывает мощность до 0 и все начинается заново. 15% здесь холостой ход. Решается проблема все теми же коэффициентами. Можно и другим способом, в одном из вариантов я делал ограничения мощности снизу и сверху. Но тут тоже есть подводные камни, их можно и нужно обходить программно, только это уже отдельная тема... Тут бы в имеющихся настройках разобраться...
В завершение повторюсь еще раз. Проверил работу на макетке - все штатно.
Alexeyslav настойчиво советовал (а мы дружно отбивались) изучать теорию регулирования. Так глубоко, как предлагалось может и не надо, но назначение коэффициентов понимать надо. Или хотя бы глядя на формулу. Или методом тыка.


Вернуться наверх
 
Не в сети
 Заголовок сообщения: Re: Терморегулятор на микроконтроллере PIC16F84 датчикe DS18
СообщениеДобавлено: Вт мар 06, 2012 22:08:39 
Родился

Зарегистрирован: Чт фев 09, 2012 08:28:49
Сообщений: 11
Рейтинг сообщения: 0
Для Soir:
Здраствуйте. Проверил последнюю Вашу прошивку (сначала в PROTEUS, а потом в железе). Работает она немного наоборот (предыдущие работали правильно), а именно: в ручном режиме на двигатель подается не постоянный сигнал, а импульсами (не уверен, но помоему длительностью, установленой в параметре n), а в автомате импульс подается постоянно. Еще в ручном режиме при нажатии кнопки открытия заслонки (на схеме обозначена UP) заслонка открывается импульсами, а если отпустить кнопку - сразу закрывается до упора, но это я увидел в железе, в PROTEUS такого нет. И, это в принципе не столь важно, но параметр n устанавливается не с шагом 0,5 сек а через 0,5 сек, тоесть 0,1 далее 0,6 далее 1,1 далее 1,6 и т.д.
Если возможно, поправте пожалуйста эту прошивку, она по значениям n более универсальна, а так в принципе терморегулятор работает неделю без выходных и проблем на предпоследней прошивке. Спасибо большое за помощь.


Вернуться наверх
 
Не в сети
 Заголовок сообщения: Re: Терморегулятор на микроконтроллере PIC16F84 датчикe DS18
СообщениеДобавлено: Вт мар 06, 2012 22:49:32 
Друг Кота

Карма: 33
Рейтинг сообщений: 213
Зарегистрирован: Ср окт 14, 2009 10:37:49
Сообщений: 3956
Откуда: Украина
Рейтинг сообщения: 0
solovey33 писал(а):
но это я увидел в железе, в PROTEUS такого нет.

Действительно, в Proteus такого нет. Сам в железе проверить не могу, нет такого МК.
Кое-что изменил, проверьте. Кстати, логику работы в предыдущей прошивке я не менял. Видно все-таки есть глюк.
solovey33 писал(а):
параметр n устанавливается не с шагом 0,5 сек а через 0,5 сек, тоесть 0,1 далее 0,6 далее 1,1 далее 1,6 и т.д.

Да, начало 0,1 а там плюс 0,5... Сделал начало 0,5 и дальше плюс 0,5. То есть ряд получается 0,5 - 1,0 - 1,5 - ... - 20,0. Или должно быть как-то не так?


Вложения:
Term_Motor.zip [3.42 KiB]
Скачиваний: 193
Вернуться наверх
 
Не в сети
 Заголовок сообщения: Re: Терморегулятор на микроконтроллере PIC16F84 датчикe DS18
СообщениеДобавлено: Ср мар 07, 2012 12:34:24 
Встал на лапы

Зарегистрирован: Пт фев 03, 2012 19:39:32
Сообщений: 103
Рейтинг сообщения: 0
To Soir!
Причину негорения лампы определил
.
Цитата:
Вопрос тут "A On. A 100" при этом лампа не горит? Проверьте плавность регулировки мощности в ручном режиме. Если плавности нет, проблема в силовой части или в формирователе синхроимпульсов.


В ручном режиме плавная регулировка до Р 91, в диапазоне от Р 92 до Р 100 лампа не горит.
Отсюда проблеммы - когда регулятор выставляет эти значения (от А 92 до А 100 то же самое) нагрев отключается.
Правда пока не могу понять что в железе может так влиять.

Цитата:
Теперь нюансы. Для избежания частого включения/выключения нагрузки во время выбора режима, настройка вступает в силу после истечения ~5 сек от последнего нажатия на кнопки.


Надо понимать пока идет настройка выходные парамеиры не меняются?


Вернуться наверх
 
Не в сети
 Заголовок сообщения: Re: Терморегулятор на микроконтроллере PIC16F84 датчикe DS18
СообщениеДобавлено: Ср мар 07, 2012 12:47:20 
Друг Кота

Карма: 33
Рейтинг сообщений: 213
Зарегистрирован: Ср окт 14, 2009 10:37:49
Сообщений: 3956
Откуда: Украина
Рейтинг сообщения: 0
variaevg писал(а):
В ручном режиме плавная регулировка до Р 91, в диапазоне от Р 92 до Р 100 лампа не горит.
Отсюда проблеммы - когда регулятор выставляет эти значения (от А 92 до А 100 то же самое) нагрев отключается.
Правда пока не могу понять что в железе может так влиять.

Причина в формирователе импульсов. Возможно из-за отличия входного напряжения (низкое). Попробуйте поменять номиналы резисторов в базе транзистора. Можете смело экспериментировать в пределах 1кОм - 100кОм. Начните с уменьшения резистора от диодного моста до базы транзистора и/или увеличения резистора на общий провод. Если результата не добьетесь, скажите, тогда буду править прошивку.
variaevg писал(а):
Надо понимать пока идет настройка выходные парамеиры не меняются?

Речь идет только о выборе режима автоматический-ручной. Остальные настройки вступают в силу по ходу их изменения.


Вернуться наверх
 
Не в сети
 Заголовок сообщения: Re: Терморегулятор на микроконтроллере PIC16F84 датчикe DS18
СообщениеДобавлено: Ср мар 07, 2012 13:06:55 
Прорезались зубы

Карма: 5
Рейтинг сообщений: 8
Зарегистрирован: Пн янв 16, 2012 02:06:36
Сообщений: 214
Откуда: Луганск
Рейтинг сообщения: 0
variaevg писал(а):
Настройки: t 26. A On. A 100, St 2, PG 0.5, IG 0.1, dG 2.0, Pr 10

Установил Ваши значения. Охладил дачик до 22*С. Все работает отлично. У меня стоит МОС3021. Включен по этой схеме.
Вложение:
moc3041_206.jpg [26.09 KiB]
Скачиваний: 310
Мне вот только интересно, если поменять местами выводы симистора Т1 и Т2. Будет он работать или нет?


Вернуться наверх
 
Не в сети
 Заголовок сообщения: Re: Терморегулятор на микроконтроллере PIC16F84 датчикe DS18
СообщениеДобавлено: Ср мар 07, 2012 13:54:03 
Встал на лапы

Зарегистрирован: Пт фев 03, 2012 19:39:32
Сообщений: 103
Рейтинг сообщения: 0
To Soir!

Уменьшил резистор в базу до 2к, на общий увеличил до 20к и стало немного лучше.
Увеличил входное напряжение формирователя с 9 в до 12,6 в и стало все как положено.
Осталось научиться работать с настройками.
Немного не четко работают кнопки, короткое нажатие не срабатывает, чуть дольше - проскакивает, приходится крутиться по настройкам несколько раз. Все равно мне больше нравится 4.3, там это четче.


Вернуться наверх
 
Не в сети
 Заголовок сообщения: Re: Терморегулятор на микроконтроллере PIC16F84 датчикe DS18
СообщениеДобавлено: Ср мар 07, 2012 14:39:34 
Друг Кота

Карма: 33
Рейтинг сообщений: 213
Зарегистрирован: Ср окт 14, 2009 10:37:49
Сообщений: 3956
Откуда: Украина
Рейтинг сообщения: 0
variaevg писал(а):
Немного не четко работают кнопки, короткое нажатие не срабатывает, чуть дольше - проскакивает, приходится крутиться по настройкам несколько раз. Все равно мне больше нравится 4.3, там это четче.

Кнопки посмотрю. Толком не проверял, у меня это оголенные проводки, которыми касаюсь выводов. Работа кнопок в 4,2 и 4,3 одинаковая. По крайней мере, я ничего специально не менял.


Вернуться наверх
 
Не в сети
 Заголовок сообщения: Re: Терморегулятор на микроконтроллере PIC16F84 датчикe DS18
СообщениеДобавлено: Ср мар 07, 2012 16:43:50 
Друг Кота

Карма: 33
Рейтинг сообщений: 213
Зарегистрирован: Ср окт 14, 2009 10:37:49
Сообщений: 3956
Откуда: Украина
Рейтинг сообщения: 0
variaevg писал(а):
Немного не четко работают кнопки, короткое нажатие не срабатывает, чуть дольше - проскакивает, приходится крутиться по настройкам несколько раз.

Нашел причину, но пока не проверял в железе.
variaevg писал(а):
Все равно мне больше нравится 4.3, там это четче.

Тут тоже исправил.


Вложения:
Termometr_16F628_PID_v4.2.zip [4.34 KiB]
Скачиваний: 237
Termometr_16F628_PID_v4.3.zip [4.14 KiB]
Скачиваний: 315
Вернуться наверх
 
Не в сети
 Заголовок сообщения: Re: Терморегулятор на микроконтроллере PIC16F84 датчикe DS18
СообщениеДобавлено: Ср мар 07, 2012 17:48:50 
Прорезались зубы

Карма: 5
Рейтинг сообщений: 8
Зарегистрирован: Пн янв 16, 2012 02:06:36
Сообщений: 214
Откуда: Луганск
Рейтинг сообщения: 0
Soir писал(а):
исправил.

КЛАСС!Изображение А я думал, что это устранить нельзя. У меня и в Протеусе, кнопки так себя вели. Сейчас перепрошил проц и просто не нарадуюсь. Изображение


Вернуться наверх
 
Не в сети
 Заголовок сообщения: Re: Терморегулятор на микроконтроллере PIC16F84 датчикe DS18
СообщениеДобавлено: Ср мар 07, 2012 18:52:13 
Друг Кота

Карма: 33
Рейтинг сообщений: 213
Зарегистрирован: Ср окт 14, 2009 10:37:49
Сообщений: 3956
Откуда: Украина
Рейтинг сообщения: 0
Niks13 писал(а):
А я думал, что это устранить нельзя.

Вы не стесняйтесь, говорите что не так. Я по большей части вижу перед собой только монитор компьютера. Далеко не всегда удается проверить поведение реального устройства в реальных условиях. Создается новое (для меня) устройство и мне нужна Ваша помощь в виде замечаний, критики, пожеланий. Если Вы молчите, я думаю, что все ok.


Вернуться наверх
 
Не в сети
 Заголовок сообщения: Re: Терморегулятор на микроконтроллере PIC16F84 датчикe DS18
СообщениеДобавлено: Чт мар 08, 2012 12:09:51 
Нашел транзистор. Понюхал.

Зарегистрирован: Пт дек 17, 2010 23:19:40
Сообщений: 190
Откуда: Чешская Республика
Рейтинг сообщения: 0
Здравствуйте уважаемый Soir
Вы можете изменить прошивкy 4.3 на 3-разрядный дисплей, для инкубатора, свободный выход использовать для снижения ночной температуры таймером? Добавить меню температурой T2, изменить пункты меню t-1, t-2, StE, Pro,Int, Der, Ti .


Вложения:
Termo 4.3-T2.pdf [15.9 KiB]
Скачиваний: 191
Вернуться наверх
 
Показать сообщения за:  Сортировать по:  Вернуться наверх
Начать новую тему Ответить на тему  [ Сообщений: 1950 ]     ... , , , 78, , , ...  

Часовой пояс: UTC + 3 часа


Кто сейчас на форуме

Сейчас этот форум просматривают: нет зарегистрированных пользователей и гости: 16


Вы не можете начинать темы
Вы не можете отвечать на сообщения
Вы не можете редактировать свои сообщения
Вы не можете удалять свои сообщения
Вы не можете добавлять вложения

Найти:
Перейти:  


Powered by phpBB © 2000, 2002, 2005, 2007 phpBB Group
Русская поддержка phpBB
Extended by Karma MOD © 2007—2012 m157y
Extended by Topic Tags MOD © 2012 m157y