Например TDA7294

Форум РадиоКот • Просмотр темы - Часы на люминесцентных индикаторах.
Форум РадиоКот
Здесь можно немножко помяукать :)

Текущее время: Пт ноя 14, 2025 06:51:27

Часовой пояс: UTC + 3 часа


ПРЯМО СЕЙЧАС:



Начать новую тему Ответить на тему  [ Сообщений: 9113 ]     ... , , , 199, , , ...  
Автор Сообщение
Не в сети
 Заголовок сообщения: Re: Часы на люминесцентных индикаторах.
СообщениеДобавлено: Чт июл 11, 2013 11:20:32 
Потрогал лапой паяльник
Аватар пользователя

Зарегистрирован: Пн ноя 23, 2009 17:35:38
Сообщений: 342
Откуда: всё в этом мире относительно, как сказал старик Альберт...
Рейтинг сообщения: 0
uldemir писал(а):
а как бы вы делали резервное питание для часов на к176-й серии питающейся от 9в?

Поставил аккумулятор 7Д-0,125. Несколько лет уже стоит и отлично работает.

_________________
"В стране искателей истины не существует человеческих авторитетов. Над тем, кто попытается изображать здесь начальство, посмеются боги."
(с) старик Альберт.


Вернуться наверх
 
Не в сети
 Заголовок сообщения: Re: Часы на люминесцентных индикаторах.
СообщениеДобавлено: Чт июл 11, 2013 11:45:05 
Друг Кота
Аватар пользователя

Карма: 50
Рейтинг сообщений: 1398
Зарегистрирован: Пт авг 28, 2009 21:34:30
Сообщений: 7316
Откуда: 845-й км.
Рейтинг сообщения: 0
Медали: 1
Получил миской по аватаре (1)
На 12в - слишком бешенная цена. А про 5 вольт я соглашусь, если мне покажут справочный листок на 176ие4, в котором будет написано, что это его рабочее напряжение. Но всё-равно, надоело диодами развязываться - хочется чего-то другого.


Вернуться наверх
 
Не в сети
 Заголовок сообщения: Re: Часы на люминесцентных индикаторах.
СообщениеДобавлено: Чт июл 11, 2013 12:38:18 
Друг Кота
Аватар пользователя

Карма: 38
Рейтинг сообщений: 549
Зарегистрирован: Пн июл 14, 2008 21:28:00
Сообщений: 10686
Откуда: Москва
Рейтинг сообщения: 0
два ионистора последовательно и все отлично!

_________________
Ищу тиратрон ТХИ1-2000/4, ГРИ ИН-23, ФЭУ-103; 134; 135, 138, 155, 157, лампу ИСШ-7.
Любые ГИС серий 203, 225, 233, 244, 250, 296, 801, 838 в любом состоянии. Компоненты и детали от миниатюрных твердотельных лазеров.


Вернуться наверх
 
Не в сети
 Заголовок сообщения: Re: Часы на люминесцентных индикаторах.
СообщениеДобавлено: Чт июл 11, 2013 12:46:42 
Друг Кота
Аватар пользователя

Карма: 50
Рейтинг сообщений: 1398
Зарегистрирован: Пт авг 28, 2009 21:34:30
Сообщений: 7316
Откуда: 845-й км.
Рейтинг сообщения: 0
Медали: 1
Получил миской по аватаре (1)
Ионисторы не решают необходимости стабилизатора толерантного к напряжению на выходе или с низким собственным потреблением. Потому как хочется сделать всё правильно. Пойду шерстить микромощные стабилизаторы в магазине..


Вернуться наверх
 
Эиком - электронные компоненты и радиодетали
Не в сети
 Заголовок сообщения: Re: Часы на люминесцентных индикаторах.
СообщениеДобавлено: Чт июл 11, 2013 16:11:50 
Мудрый кот
Аватар пользователя

Карма: 8
Рейтинг сообщений: 103
Зарегистрирован: Чт май 06, 2010 13:18:59
Сообщений: 1703
Рейтинг сообщения: 0
Sergei Frolov писал(а):
uldemir писал(а):
Стоит вопрос: а как бы вы делали резервное питание для часов на к176-й серии питающейся от 9в? Или просто поставить электролит побольше?


В советских часах "Крону" ставили.


Я тут давеча нашел у бомжей часы "Электроника-13" на большом индикаторе, так там для резервного питания цельных 3 кроны надо! :shock: :shock: :shock: Наверно 27 вольт питание микрухи.

Кстати может у кого схемка завалялась?

Изображение Изображение
Крона-варта для масштаба индикатора


Вернуться наверх
 
Не в сети
 Заголовок сообщения: Re: Часы на люминесцентных индикаторах.
СообщениеДобавлено: Чт июл 11, 2013 19:29:06 
Поставщик валерьянки для Кота

Карма: 5
Рейтинг сообщений: 21
Зарегистрирован: Пт авг 29, 2008 16:28:19
Сообщений: 2108
Откуда: Киев
Рейтинг сообщения: 0
uldemir писал(а):
Ионисторы не решают необходимости стабилизатора толерантного к напряжению на выходе или с низким собственным потреблением. Потому как хочется сделать всё правильно. Пойду шерстить микромощные стабилизаторы в магазине..

Напомню: я в своих часах использовал одну пальчиковую батарейку и MAX857. Толерантен донельзя, питается от выхода (т.е. батарейку не жрет при наличии внешнего питания), высокий КПД. Правда +5 вольт дает. У Maxim Integrated должны быть и отрицательные DC-DC стабилизаторы, и наверняка на 9 В тоже найдется.

MAX857 сам по себе потребляет десяток мкА (если не ошибаюсь), что горааааздо меньше чем потребление того же линейного стабилизатора.

_________________
Giggity giggity goo!


Вернуться наверх
 
Не в сети
 Заголовок сообщения: Re: Часы на люминесцентных индикаторах.
СообщениеДобавлено: Чт июл 11, 2013 19:42:56 
Друг Кота
Аватар пользователя

Карма: 50
Рейтинг сообщений: 1398
Зарегистрирован: Пт авг 28, 2009 21:34:30
Сообщений: 7316
Откуда: 845-й км.
Рейтинг сообщения: 1
Медали: 1
Получил миской по аватаре (1)
Собственно, отрицательное напряжение, как оказалось, мне не надо. И еще почесал репу... думаю, что, действительно, поставлю одну крону. И всё. Пусть логика питается только от батареи.


Вернуться наверх
 
Не в сети
 Заголовок сообщения: Re: Часы на люминесцентных индикаторах.
СообщениеДобавлено: Пт июл 12, 2013 21:05:09 
Поставщик валерьянки для Кота

Карма: 5
Рейтинг сообщений: 21
Зарегистрирован: Пт авг 29, 2008 16:28:19
Сообщений: 2108
Откуда: Киев
Рейтинг сообщения: 0
uldemir писал(а):
Пусть логика питается только от батареи.
Надоест менять батареи, потом пожалеете о своем решении.

_________________
Giggity giggity goo!


Вернуться наверх
 
Не в сети
 Заголовок сообщения: Re: Часы на люминесцентных индикаторах.
СообщениеДобавлено: Пт июл 12, 2013 21:25:50 
Друг Кота
Аватар пользователя

Карма: 50
Рейтинг сообщений: 1398
Зарегистрирован: Пт авг 28, 2009 21:34:30
Сообщений: 7316
Откуда: 845-й км.
Рейтинг сообщения: 0
Медали: 1
Получил миской по аватаре (1)
А я собираюсь подстраховаться: развести дорожки под 78L09 но запаивать сразу не буду. Посмотрим. Хотя, потребление ожидается порядка десяти микроампер и исходя из ёмкости 550ма*ч - для тока 20мка получается порядка трёх лет. В тестере тоже крону меняют не очень часто.


Вернуться наверх
 
Не в сети
 Заголовок сообщения: Re: Часы на люминесцентных индикаторах.
СообщениеДобавлено: Вт июл 23, 2013 22:15:19 
Друг Кота

Карма: 17
Рейтинг сообщений: 166
Зарегистрирован: Пт авг 25, 2006 09:26:19
Сообщений: 5232
Откуда: Москва
Рейтинг сообщения: 0
uldemir писал(а):
... Если про ИЕ12/13/17/18 написано, что они как 561-я серия работают от 3-х до 15-ти вольт, то про ИЕ3/ИЕ4 такого не читал. Ссылку плииз.

По сути 176 серия содрана с CD40..., а она питается 3-18в.
Потому , например, К176ПУ...реально работают от 4 до 15в. Бирюков."Цифровые устройства на МОП-интегральных микросхемах" Радио и связь 1990г.
Вот что можно прочесть в этом справочнике на 4 стр.
"...Номинальное напряжение питания микросхем серии К176... 9вольт +/- 5%, однако они сохраняют работоспособность в диапазоне питающих напряжений 5...12вольт...."
Так что К176ИЕ4, напрямую содраная с CD4026 с заявленым питанием 3-20в, вполне должна держать 12в.
Моё личное мнение...К176ИЕ4 питание 9в+/- 5%.Тогда не будет ни каких неприятных неожиданностей.
Микросхемы преобразователей К176ПУ... держат 12в питание без проблем. Проверено лично и не на одном экземпляре.
А например, К176ИЕ5 на напряжении питания ниже 6,5в вообще работать не желают.
Так что:
....думайте сами,
решайте сами,
иметь, или
не иметь!!!... :)))


Вернуться наверх
 
Не в сети
 Заголовок сообщения: Re: Часы на люминесцентных индикаторах.
СообщениеДобавлено: Вт июл 23, 2013 22:17:30 
Друг Кота
Аватар пользователя

Карма: 50
Рейтинг сообщений: 1398
Зарегистрирован: Пт авг 28, 2009 21:34:30
Сообщений: 7316
Откуда: 845-й км.
Рейтинг сообщения: 0
Медали: 1
Получил миской по аватаре (1)
Уже имею. Сегодня крону в магазине купил. Секундные импульсы уже есть! Ой, ток не замерил... а, успеется.

4026 и 176ИЕ4 - не вижу ничего общего. Даже управляющие сигналы совершенно разные.
176ИЕ5 у меня прекрасно работала в радио-86рк от пяти вольт. А у некоторых и от 3-х работает. Возможно, оно будет работать и от более низких напряжений. Но, я уже решил - питание логики батарейное, а индикации от внешнего источника.
Кстати, источник работает. две детальки в SO8, резистор, конденсатор и один трафик намотанный на EFD20.
СпойлерИзображение


p.s. потребление 3,5... миллиампер. Где-то плюху надо искать.


Вернуться наверх
 
Не в сети
 Заголовок сообщения: Re: Часы на люминесцентных индикаторах.
СообщениеДобавлено: Ср июл 24, 2013 08:51:06 
Друг Кота
Аватар пользователя

Карма: 38
Рейтинг сообщений: 549
Зарегистрирован: Пн июл 14, 2008 21:28:00
Сообщений: 10686
Откуда: Москва
Рейтинг сообщения: 0
мне кажется, что с 4000-ой содрана не 176-ая серия, а 561.

зы: uldemir симпатичная схемка :) но мотать чтото так лень)

_________________
Ищу тиратрон ТХИ1-2000/4, ГРИ ИН-23, ФЭУ-103; 134; 135, 138, 155, 157, лампу ИСШ-7.
Любые ГИС серий 203, 225, 233, 244, 250, 296, 801, 838 в любом состоянии. Компоненты и детали от миниатюрных твердотельных лазеров.


Вернуться наверх
 
Не в сети
 Заголовок сообщения: Re: Часы на люминесцентных индикаторах.
СообщениеДобавлено: Ср июл 24, 2013 09:22:22 
Друг Кота
Аватар пользователя

Карма: 50
Рейтинг сообщений: 1398
Зарегистрирован: Пт авг 28, 2009 21:34:30
Сообщений: 7316
Откуда: 845-й км.
Рейтинг сообщения: 2
Медали: 1
Получил миской по аватаре (1)
Да ну! мотать на каркасе, это не на колечке челноком вышивать - очень легко. Собственно говоря, левая часть может быть сделана и с питанием от 220в. Правда в моём трафе число витков завышено для того чтобы поточнее получить 1,45в накала. Так можно было для накала намотать 2 витка, но я увеличил в 3 раза - 6 витков (3+3). Вот только из-за трудности равномерно распределить эту обмотку, чтобы заканчивалась с той же стороны каркаса где и начинается, я пока решил поиграться с низковольтным вариантом.

p.s. убрал одну соплю (на глаз не была видна, но выявил что счетчик часов некорректно работал) ток потребления упал, но только до 650мка. Остальной функционал, вроде работает. Может плату помыть?

p.p.s. фотки
Изображение

Изображение
Мдась, 4013 выбивается из общего стиля, но ТМ2 не оказалось в коробочке.


Вернуться наверх
 
Не в сети
 Заголовок сообщения: Re: Часы на люминесцентных индикаторах.
СообщениеДобавлено: Чт июл 25, 2013 09:28:04 
Друг Кота
Аватар пользователя

Карма: 50
Рейтинг сообщений: 1398
Зарегистрирован: Пт авг 28, 2009 21:34:30
Сообщений: 7316
Откуда: 845-й км.
Рейтинг сообщения: 0
Медали: 1
Получил миской по аватаре (1)
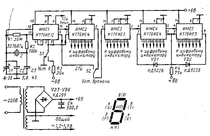
Хотел к предыдущему добавить, да время правки вышло...
Вложение:
vfd_ie4_clock.png


Последний раз редактировалось uldemir Чт июл 25, 2013 11:37:53, всего редактировалось 1 раз.

Вернуться наверх
 
Не в сети
 Заголовок сообщения: Re: Часы на люминесцентных индикаторах.
СообщениеДобавлено: Чт июл 25, 2013 09:43:45 
Друг Кота
Аватар пользователя

Карма: 38
Рейтинг сообщений: 549
Зарегистрирован: Пн июл 14, 2008 21:28:00
Сообщений: 10686
Откуда: Москва
Рейтинг сообщения: 0
логике - да! :) мне понравилась конструкция :oops:

_________________
Ищу тиратрон ТХИ1-2000/4, ГРИ ИН-23, ФЭУ-103; 134; 135, 138, 155, 157, лампу ИСШ-7.
Любые ГИС серий 203, 225, 233, 244, 250, 296, 801, 838 в любом состоянии. Компоненты и детали от миниатюрных твердотельных лазеров.


Вернуться наверх
 
Не в сети
 Заголовок сообщения: Re: Часы на люминесцентных индикаторах.
СообщениеДобавлено: Чт июл 25, 2013 09:45:22 
Друг Кота
Аватар пользователя

Карма: 38
Рейтинг сообщений: 549
Зарегистрирован: Пн июл 14, 2008 21:28:00
Сообщений: 10686
Откуда: Москва
Рейтинг сообщения: 0
зы: эх жаль, что не существует сборок полевиков с более чем двумя транзисторами в одном корпусе :wink:

_________________
Ищу тиратрон ТХИ1-2000/4, ГРИ ИН-23, ФЭУ-103; 134; 135, 138, 155, 157, лампу ИСШ-7.
Любые ГИС серий 203, 225, 233, 244, 250, 296, 801, 838 в любом состоянии. Компоненты и детали от миниатюрных твердотельных лазеров.


Вернуться наверх
 
Не в сети
 Заголовок сообщения: Re: Часы на люминесцентных индикаторах.
СообщениеДобавлено: Чт июл 25, 2013 10:00:44 
Друг Кота
Аватар пользователя

Карма: 50
Рейтинг сообщений: 1398
Зарегистрирован: Пт авг 28, 2009 21:34:30
Сообщений: 7316
Откуда: 845-й км.
Рейтинг сообщения: 0
Медали: 1
Получил миской по аватаре (1)
Существует. 190КТ1/2. Жаль, только там n-канальные.

Пару слов про схему:
Схема классическая. прообраз из книги Бирюкова, размноженной в интернете. Например. Только, как обычно, схему несколько усложнил. Добавил ЛА7 для беспроблемного сброса при переходе через полночь и ТМ2/ЛП2 для комфортной установки времени и чтобы использовать простые кнопки на замыкание, а не на переключение. Вместо ИЕ12 применил ИЕ18, так как 12-я у меня только одна, а 18-х есть две - не жалко. Еще поставил ключи на лампы, так как анодное 40 вольт, чтобы лампы светили нормально. Хе, питание-то ламп - отрицательное!

Насчет потребления, кажется, лоханулся. При 9 вольтах потребление довольно сильно растёт. Еще надо поиграться с напряжением питания логики. собственно, схема должна работать и от 3-х вольт


Вернуться наверх
 
Не в сети
 Заголовок сообщения: Re: Часы на люминесцентных индикаторах.
СообщениеДобавлено: Пт июл 26, 2013 22:10:52 
Говорящий с текстолитом

Карма: 6
Рейтинг сообщений: 21
Зарегистрирован: Вс июн 16, 2013 18:41:45
Сообщений: 1699
Рейтинг сообщения: 0
uldemir писал(а):
Вложение:
vfd_ie4_clock.png

А можно ли упростить преобразователь напряжения? Сделать транс с одинарной (без отвода от середины) первичной обмоткой, и подключить ее непосредственно между HO и LO? Или транзисторы внутри IR2153 не выдержат такой нагрузки? Смотрел даташит, нигде не указан длительный ток на выходах.

_________________
У кошки четыре ноги - вход, выход, земля и питание. Но трогать ее не моги - получится замыкание.


Вернуться наверх
 
Не в сети
 Заголовок сообщения: Re: Часы на люминесцентных индикаторах.
СообщениеДобавлено: Пт июл 26, 2013 22:27:53 
Друг Кота
Аватар пользователя

Карма: 50
Рейтинг сообщений: 1398
Зарегистрирован: Пт авг 28, 2009 21:34:30
Сообщений: 7316
Откуда: 845-й км.
Рейтинг сообщения: 0
Медали: 1
Получил миской по аватаре (1)
Я интересовался этим вопросом. Тоже в даташите не нашел, какой ток эти ключи могут выдержать. Тут на форуме мне назвали 200мА. Этого тока хватило бы, чтобы питать от 12в накал 1.45в/500мА, но не хватает, если намотать и высоковольтную обмотку 30в/50мА. А так как мне хотелось всего и побольше (а заодно я нашел в кулёчке откуда-то выпаянные сборки полевиков RDS035 (3А)), поэтому решил сделать по максимуму.


Вернуться наверх
 
Не в сети
 Заголовок сообщения: Re: Часы на люминесцентных индикаторах.
СообщениеДобавлено: Вс июл 28, 2013 09:37:44 
Друг Кота
Аватар пользователя

Карма: 27
Рейтинг сообщений: 33
Зарегистрирован: Пн ноя 22, 2010 00:57:15
Сообщений: 6296
Откуда: Ukraine
Рейтинг сообщения: 0
подскажите пожалуйста, почему в часах электроника-7 используется два вида счетчиков к176ие3 и к176ие4 ? ведь по сути они идентичны.
http://piccy.info/view3/4909408/518ec78 ... eb8129d8f/

_________________
Tell Me The Truth


Вернуться наверх
 
Показать сообщения за:  Сортировать по:  Вернуться наверх
Начать новую тему Ответить на тему  [ Сообщений: 9113 ]     ... , , , 199, , , ...  

Часовой пояс: UTC + 3 часа


Кто сейчас на форуме

Сейчас этот форум просматривают: нет зарегистрированных пользователей и гости: 63


Вы не можете начинать темы
Вы не можете отвечать на сообщения
Вы не можете редактировать свои сообщения
Вы не можете удалять свои сообщения
Вы не можете добавлять вложения

Найти:
Перейти:  


Powered by phpBB © 2000, 2002, 2005, 2007 phpBB Group
Русская поддержка phpBB
Extended by Karma MOD © 2007—2012 m157y
Extended by Topic Tags MOD © 2012 m157y