Например TDA7294

Форум РадиоКот • Просмотр темы - Часы на люминесцентных индикаторах.
Форум РадиоКот
Здесь можно немножко помяукать :)

Текущее время: Вт дек 23, 2025 04:01:06

Часовой пояс: UTC + 3 часа


ПРЯМО СЕЙЧАС:



Начать новую тему Ответить на тему  [ Сообщений: 9120 ]     ... , , , 353, , , ...  
Автор Сообщение
В сети
 Заголовок сообщения: Re: Часы на люминесцентных индикаторах.
СообщениеДобавлено: Сб ноя 03, 2018 13:21:23 
Друг Кота
Аватар пользователя

Карма: 197
Рейтинг сообщений: 8594
Зарегистрирован: Пн ноя 30, 2009 03:00:01
Сообщений: 43127
Откуда: Нерезиновая
Рейтинг сообщения: 0
Хотелось-бы ИЛЦ4-5/7Л,
да без проблем:
http://www.quartz1.com/price/model.php?akt=6262.14
Изображение
но- уже за 650 рублей... :facepalm:


Вернуться наверх
 
Не в сети
 Заголовок сообщения: Re: Часы на люминесцентных индикаторах.
СообщениеДобавлено: Сб ноя 03, 2018 15:24:21 
Электрический кот
Аватар пользователя

Карма: 13
Рейтинг сообщений: 782
Зарегистрирован: Сб сен 08, 2012 21:12:12
Сообщений: 1037
Откуда: Зеленоград
Рейтинг сообщения: 0
но- уже за 650 рублей... :facepalm:

как-то совсем негуманно. До 500 еще подумал-бы...

_________________
Я за грустным, пыльным столом
Я синий как сейф в углу
От нечеткого света ламп
Под названием странным неон...


Вернуться наверх
 
В сети
 Заголовок сообщения: Re: Часы на люминесцентных индикаторах.
СообщениеДобавлено: Сб ноя 03, 2018 17:30:00 
Друг Кота
Аватар пользователя

Карма: 197
Рейтинг сообщений: 8594
Зарегистрирован: Пн ноя 30, 2009 03:00:01
Сообщений: 43127
Откуда: Нерезиновая
Рейтинг сообщения: 0
. До 500 еще подумал-бы...

Купите 50 штук- будет "по 500".. :))) :beer:


Вернуться наверх
 
Не в сети
 Заголовок сообщения: Re: Часы на люминесцентных индикаторах.
СообщениеДобавлено: Сб ноя 03, 2018 17:32:40 
Электрический кот
Аватар пользователя

Карма: 13
Рейтинг сообщений: 782
Зарегистрирован: Сб сен 08, 2012 21:12:12
Сообщений: 1037
Откуда: Зеленоград
Рейтинг сообщения: 0
:))) у меня часов столько нет.

_________________
Я за грустным, пыльным столом
Я синий как сейф в углу
От нечеткого света ламп
Под названием странным неон...


Вернуться наверх
 
Эиком - электронные компоненты и радиодетали
В сети
 Заголовок сообщения: Re: Часы на люминесцентных индикаторах.
СообщениеДобавлено: Сб ноя 03, 2018 17:41:50 
Друг Кота
Аватар пользователя

Карма: 197
Рейтинг сообщений: 8594
Зарегистрирован: Пн ноя 30, 2009 03:00:01
Сообщений: 43127
Откуда: Нерезиновая
Рейтинг сообщения: 0
Ну, ничего, купите 50 индикаторов по 500, потом продадите 48 индикаторов по 550, получите "навар" в размере 1400 руб, и ещё два индикатора "бесплатно".... Ну, или по 520- тогда "без навара".. :)))


Вернуться наверх
 
Не в сети
 Заголовок сообщения: Re: Часы на люминесцентных индикаторах.
СообщениеДобавлено: Вс ноя 04, 2018 00:54:44 
Электрический кот
Аватар пользователя

Карма: 13
Рейтинг сообщений: 782
Зарегистрирован: Сб сен 08, 2012 21:12:12
Сообщений: 1037
Откуда: Зеленоград
Рейтинг сообщения: 0
а кто-ж у меня их купит-то по 550? По-моему, таких часовых маньяков, как я, больше нет )))

Добавлено after 6 hours 39 minutes 55 seconds:

Voila! Поменял индикатор (выпаял из других часов) и засветка пропала :music:
Всем спасибо за помощь! :beer:

_________________
Я за грустным, пыльным столом
Я синий как сейф в углу
От нечеткого света ламп
Под названием странным неон...


Вернуться наверх
 
Не в сети
 Заголовок сообщения: Re: Часы на люминесцентных индикаторах.
СообщениеДобавлено: Вс ноя 04, 2018 13:44:36 
Родился

Зарегистрирован: Чт июн 06, 2013 21:39:21
Сообщений: 13
Рейтинг сообщения: 0
Доброго времени суток, из любопытства решил перенести схему одних известных мне часов на ИВ-6 в Proteus, чтобы ознакомиться с программой, да и потому что это довольно весело и интересно. Возникло интересное затруднение - часы не удаётся отрегулировать, для этого в нижней левой части схемы предназначена кнопка, удержание которой включает регулировку часов, а затем минут. Полагаю что в этой части схемы я где-то допустил ошибку.

Прикрепил сам файл протеуса и прошивку для контроллера, протеус будет искать прошивку в корне диска C:\
Вы конечно же можете положить её куда вам удобно и просто указать в протеусе где её искать.


Вложения:
Комментарий к файлу: Часы+прошивка
Часы ив-6.rar [24.39 KiB]
Скачиваний: 381
Вернуться наверх
 
Не в сети
 Заголовок сообщения: Re: Часы на люминесцентных индикаторах.
СообщениеДобавлено: Вс ноя 04, 2018 18:23:29 
Опытный кот
Аватар пользователя

Карма: 9
Рейтинг сообщений: 60
Зарегистрирован: Пт авг 31, 2018 21:53:52
Сообщений: 844
Откуда: ул. Островидова, общага напротив
Рейтинг сообщения: 0
Не надо делать КЗ, замыкая кнопку на [+] питания, подтяжку кнопки вы уже сделали резистором R9.
И оно даже что-то меняет, хотя алгоритм измены я так и не понял. Может, мало смотрел. Наверное, зависит, от продолжительности нажатия кнопки, более привычный вариант, одна кнопка - выбор режима, и еще две кнопки [+] и [-] для изменения значения текущего режима.

Изображение Изображение Изображение

Добавлено after 23 minutes 1 second:
По ходу, в протеусе нет необходимости вести все эти всё путающие "реальные" провода.
Достаточно для соотвествующих соединений задать одноименные метки.

Изображение Изображение


Вложения:
Часы_ив-6_fix4.zip [24.93 KiB]
Скачиваний: 360

_________________
Варкалось. Хливкие шорьки
Пырялись по нове,
И хрюкотали зелюки,
Как мюмзики в мове.

:)))
Вернуться наверх
 
Не в сети
 Заголовок сообщения: Re: Часы на люминесцентных индикаторах.
СообщениеДобавлено: Вс ноя 04, 2018 21:19:00 
Родился

Зарегистрирован: Чт июн 06, 2013 21:39:21
Сообщений: 13
Рейтинг сообщения: 0
Не надо делать КЗ, замыкая кнопку на [+] питания, подтяжку кнопки вы уже сделали резистором R9.
И оно даже что-то меняет, хотя алгоритм измены я так и не понял. Может, мало смотрел. Наверное, зависит, от продолжительности нажатия кнопки, более привычный вариант, одна кнопка - выбор режима, и еще две кнопки [+] и [-] для изменения значения текущего режима.

По ходу, в протеусе нет необходимости вести все эти всё путающие "реальные" провода.
Достаточно для соотвествующих соединений задать одноименные метки.


Спасибо, про провода мне известно, но мне очень режет глаз отсутствие дорожки, очень непривычно бегать глазами и искать что куда идёт. Отсутствие проводов здорово разгружает схему и упрощает создание схемы, экономит время для опытных радиолюбителей, но до такого мне ещё далеко, помимо этого в протеусе также скрыты некоторые пины у некоторых компонентов, что также не всегда есть хорошо.

Ваши подсказки и помощь здорово ускорили весь процесс, особенно благодарен за кнопку и наводку про путаницу с семисегментниками. :beer:


Вернуться наверх
 
Не в сети
 Заголовок сообщения: Re: Часы на люминесцентных индикаторах.
СообщениеДобавлено: Ср ноя 21, 2018 12:10:34 
Встал на лапы
Аватар пользователя

Карма: -4
Рейтинг сообщений: 7
Зарегистрирован: Пт фев 17, 2012 18:19:51
Сообщений: 113
Рейтинг сообщения: 0
Здравствуйте
Подскажите кто в курсе:
Есть часы Электроника Б6-403 на ИВ-12 ключи 161КН1 (схема в ниже),

Вложение:
Комментарий к файлу: Электроника Б6-403
403.jpg [172.57 KiB]
Скачиваний: 416


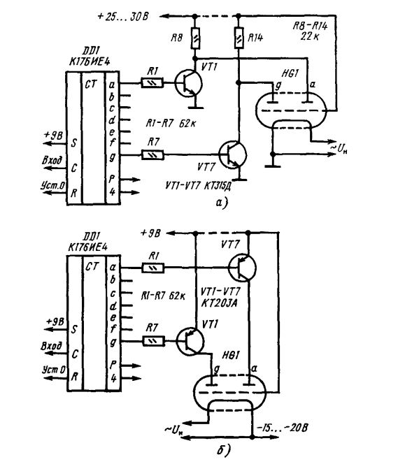
На КН1 (DD1 по схеме) погорел один из семи ключей (выводы 4 и 14) и один сегмент на ИВ12 не работает (на выходе ИЕ4 напряжение меняется 0 и 9В, а на выходе КН - тишина на лампе минус 3В), вряд ли найду в скором времени донора КНок, а пока хочу заменить только неработающий ключ транзистором, нашел в книге Бирюкова С.А как заменить КН, но какую схему использовать ума не приложу а) или б).

Вложение:
Комментарий к файлу: Ключи
kn.JPG [58.29 KiB]
Скачиваний: 677


Если схема б) можно ли использовать КТ361?
.. или добавить КТ361 включить его наподобие как VT1? (похоже на схему б) варианта)
Может есть иные варианты?


Вернуться наверх
 
Не в сети
 Заголовок сообщения: Re: Часы на люминесцентных индикаторах.
СообщениеДобавлено: Ср ноя 21, 2018 12:25:51 
Сверлит текстолит когтями
Аватар пользователя

Карма: 18
Рейтинг сообщений: 160
Зарегистрирован: Вс мар 01, 2009 17:49:41
Сообщений: 1274
Откуда: Россия
Рейтинг сообщения: 0
А вы посмотрите как делали до применения КН-ок.


Вложения:
ELEKTRONIKA_G9_02 SXEMA.GIF [124.19 KiB]
Скачиваний: 654

_________________
Ваше везение — в ваших руках: водите чёрную кошку на поводке.
Молчание не всегда означает согласие.
Вернуться наверх
 
Не в сети
 Заголовок сообщения: Часы на люминесцентных индикаторах.
СообщениеДобавлено: Ср ноя 21, 2018 12:56:17 
Встал на лапы
Аватар пользователя

Карма: -4
Рейтинг сообщений: 7
Зарегистрирован: Пт фев 17, 2012 18:19:51
Сообщений: 113
Рейтинг сообщения: 0
Как раз эту схему и анализирую (она схожа с 402 моделью), но что-то она уж слишком упрощена, нет резисторов в базах, непонятно подключение эмиторов..


Вернуться наверх
 
В сети
 Заголовок сообщения: Re: Часы на люминесцентных индикаторах.
СообщениеДобавлено: Ср ноя 21, 2018 13:06:05 
Друг Кота
Аватар пользователя

Карма: 197
Рейтинг сообщений: 8594
Зарегистрирован: Пн ноя 30, 2009 03:00:01
Сообщений: 43127
Откуда: Нерезиновая
Рейтинг сообщения: -1
Подскажите кто в курсе:
Есть часы Электроника Б6-403 на ИВ-12 ключи 161КН1 (
На КН1 (DD1 по схеме) погорел один из семи ключей (выводы 4 и 14) и один сегмент на ИВ12 не работает (на выходе ИЕ4 напряжение меняется 0 и 9В, а на выходе КН - тишина на лампе минус 3В), вряд ли найду в скором времени донора КНок, а пока хочу заменить только неработающий ключ транзистором, нашел в книге Бирюкова С.А как заменить КН, но какую схему использовать ума не приложу а) или б).

Вложение:
kn.JPG
А, если "ум приложить", то ключ, который "внутри" 161КН1 стоит, подключён примерно вот так:
Изображение
смотрим, какой из двух ключей из книги подключён аналогично:
СпойлерИзображение

и обнаруживаем, что похоже подключён ключ на картинке "Б"!! :beer:

зы.. У вас в схеме HG5 подключена не через КН1, а через ключи на КТ361.. Даже это должно было "подтолкнуть мыслЮ" :)))


Вернуться наверх
 
Не в сети
 Заголовок сообщения: Re: Часы на люминесцентных индикаторах.
СообщениеДобавлено: Ср ноя 21, 2018 13:37:06 
Встал на лапы
Аватар пользователя

Карма: -4
Рейтинг сообщений: 7
Зарегистрирован: Пт фев 17, 2012 18:19:51
Сообщений: 113
Рейтинг сообщения: 0
2 АлександрЛ
об этом я и спрашивал в своём сообщении
.. или добавить КТ361 включить его наподобие как VT1? (похоже на схему б) варианта)

Вложение:
VT1.jpg [19.39 KiB]
Скачиваний: 543

Спасибо что подтвердили мои мысли.


Последний раз редактировалось zenone Ср ноя 21, 2018 13:45:57, всего редактировалось 1 раз.

Вернуться наверх
 
Не в сети
 Заголовок сообщения: Re: Часы на люминесцентных индикаторах.
СообщениеДобавлено: Ср ноя 21, 2018 13:43:57 
Сверлит текстолит когтями
Аватар пользователя

Карма: 18
Рейтинг сообщений: 160
Зарегистрирован: Вс мар 01, 2009 17:49:41
Сообщений: 1274
Откуда: Россия
Рейтинг сообщения: 0
Как раз эту схему и анализирую (она схожа с 402 моделью), но что-то она уж слишком упрощена, нет резисторов в базах, непонятно подключение эмиторов..


Тоже стало интересно на счёт резисторов в базах. Достал с полки часы и разобрал...
Нет там резисторов в базах! :shock:

_________________
Ваше везение — в ваших руках: водите чёрную кошку на поводке.
Молчание не всегда означает согласие.


Вернуться наверх
 
Не в сети
 Заголовок сообщения: Re: Часы на люминесцентных индикаторах.
СообщениеДобавлено: Ср ноя 21, 2018 13:49:46 
Встал на лапы
Аватар пользователя

Карма: -4
Рейтинг сообщений: 7
Зарегистрирован: Пт фев 17, 2012 18:19:51
Сообщений: 113
Рейтинг сообщения: 0
Странно в Электроника Б6-401 есть.
Вложение:
Комментарий к файлу: Электроника Б6-401
kxtksv7sq (1).jpg [65.99 KiB]
Скачиваний: 524


Спасибо тем кто помог.

Сделаю так...
Эмитер КТ361 к эмитеру VT1 и VT2, коллектор на анод лампы, базу думаю всё таки через резистор ~68КОм на ИЕ4.


Вернуться наверх
 
Не в сети
 Заголовок сообщения: Re: Часы на люминесцентных индикаторах.
СообщениеДобавлено: Пт ноя 23, 2018 18:46:43 
Электрический кот
Аватар пользователя

Карма: 13
Рейтинг сообщений: 782
Зарегистрирован: Сб сен 08, 2012 21:12:12
Сообщений: 1037
Откуда: Зеленоград
Рейтинг сообщения: 0
Подскажите, пожалуйста, кто знает.
Есть Электроника 6.03, при включении в сеть, дисплей загорается, кнопки реагируют, время установить можно, но сам ход не запускается. Что может быть ? :dont_know:

_________________
Я за грустным, пыльным столом
Я синий как сейф в углу
От нечеткого света ламп
Под названием странным неон...


Вернуться наверх
 
В сети
 Заголовок сообщения: Re: Часы на люминесцентных индикаторах.
СообщениеДобавлено: Пт ноя 23, 2018 18:52:30 
Друг Кота
Аватар пользователя

Карма: 197
Рейтинг сообщений: 8594
Зарегистрирован: Пн ноя 30, 2009 03:00:01
Сообщений: 43127
Откуда: Нерезиновая
Рейтинг сообщения: 0
Есть Электроника 6.03, при включении в сеть, дисплей загорается, кнопки реагируют, время установить можно, но сам ход не запускается. Что может быть ? :dont_know:

На каких микросхемах часы собраны?


Вернуться наверх
 
Не в сети
 Заголовок сообщения: Re: Часы на люминесцентных индикаторах.
СообщениеДобавлено: Пт ноя 23, 2018 18:58:41 
Электрический кот
Аватар пользователя

Карма: 13
Рейтинг сообщений: 782
Зарегистрирован: Сб сен 08, 2012 21:12:12
Сообщений: 1037
Откуда: Зеленоград
Рейтинг сообщения: 0
КА1035ХЛ1 + УМС7

По-ходу часы постоянно в режиме будильника. При нажатии на первую кнопку, появляется значок будильника и время остается такое-же.

_________________
Я за грустным, пыльным столом
Я синий как сейф в углу
От нечеткого света ламп
Под названием странным неон...


Вернуться наверх
 
Не в сети
 Заголовок сообщения: Re: Часы на люминесцентных индикаторах.
СообщениеДобавлено: Сб ноя 24, 2018 01:02:49 
Поставщик валерьянки для Кота

Карма: 34
Рейтинг сообщений: 313
Зарегистрирован: Вс ноя 15, 2009 23:13:59
Сообщений: 2132
Откуда: Харьков
Рейтинг сообщения: 3
Проверить напряжения на ногах 16 и 17 (также на всякий случай 11 и 13), на них в основном режиме должен быть ноль. Если где-то высокий уровень - искать причину.

_________________
Иногда мой питомец уходит в такую спячку, что разбудить его можно только щелчком по первой ноге...


Вернуться наверх
 
Показать сообщения за:  Сортировать по:  Вернуться наверх
Начать новую тему Ответить на тему  [ Сообщений: 9120 ]     ... , , , 353, , , ...  

Часовой пояс: UTC + 3 часа


Кто сейчас на форуме

Сейчас этот форум просматривают: нет зарегистрированных пользователей и гости: 15


Вы не можете начинать темы
Вы не можете отвечать на сообщения
Вы не можете редактировать свои сообщения
Вы не можете удалять свои сообщения
Вы не можете добавлять вложения

Найти:
Перейти:  


Powered by phpBB © 2000, 2002, 2005, 2007 phpBB Group
Русская поддержка phpBB
Extended by Karma MOD © 2007—2012 m157y
Extended by Topic Tags MOD © 2012 m157y