Например TDA7294

Форум РадиоКот • Просмотр темы - Посоветуйте схему простого радиоприёмника!
Форум РадиоКот
Здесь можно немножко помяукать :)

Текущее время: Ср янв 21, 2026 00:20:35

Часовой пояс: UTC + 3 часа


ПРЯМО СЕЙЧАС:



Начать новую тему Ответить на тему  [ Сообщений: 473 ]     ... , , , 17, , , ...  
Автор Сообщение
Не в сети
 Заголовок сообщения: Re: Посоветуйте схему средневолнового радиоприёмника!
СообщениеДобавлено: Чт янв 22, 2015 18:01:42 
Первый раз сказал Мяу!

Карма: 10
Рейтинг сообщений: 10
Зарегистрирован: Вс дек 14, 2014 17:22:15
Сообщений: 33
Откуда: Москва
Рейтинг сообщения: 0
Никогда не собирал синхродины.
Можно ли послушать как звучит приемник в режиме синхродина?

Николай.


Вернуться наверх
 
Не в сети
 Заголовок сообщения: Re: Посоветуйте схему средневолнового радиоприёмника!
СообщениеДобавлено: Чт янв 22, 2015 18:22:01 
Друг Кота
Аватар пользователя

Карма: 64
Рейтинг сообщений: 1102
Зарегистрирован: Ср ноя 17, 2010 23:10:55
Сообщений: 5837
Откуда: Ижевск LO66NU
Рейтинг сообщения: 0
Синхродин - это приемник, в котором гетеродин синхронизируется с входным сигналом. Приемник, в котором добротность увеличивается за счет компенсации потерь, обзывается регенератором. Данный вариант Владимира Тимофеевича в зависимости от величины ПОС может работать в режиме прямого усиления, в режиме регенератора и в режиме синхродина. В последнем случае синхронизация осуществляется путем прямого захвата частоты слабых колебаний генератора входным сигналом.

_________________
В начале жизнь мучает вопросами, в конце - ответами...


Вернуться наверх
 
Не в сети
 Заголовок сообщения: Re: Посоветуйте схему средневолнового радиоприёмника!
СообщениеДобавлено: Чт янв 22, 2015 18:25:26 
Мудрый кот
Аватар пользователя

Карма: 19
Рейтинг сообщений: 166
Зарегистрирован: Сб окт 10, 2009 17:16:58
Сообщений: 1732
Откуда: Россия.
Рейтинг сообщения: 0
Ynicky писал(а):
Никогда не собирал синхродины.
"Регенератор, доведенный до порога самовозбуждения, может принимать AM сигналы в режиме захвата собственных колебаний несущей принимаемого сигнала.
При подходе к частоте радиостанции на выходе приемника слышен свист понижающегося тона, который при точной настройке исчезает (наступает синхронный режим - захват частоты) и радиостанция прослушивается чисто, причем сигналы соседних мешающих станций значительно подавляются. Дальнейшая перестройка в ту же сторону снова переводит приемник в режим биений, снова слышен свист, но уже повышающегося тона, пока не появится сигнал другой станции и явления не повторятся."


Поляков В.Т. «Техника радиоприема. Простые приемники АМ сигналов»
https://sunduk.radiokot.ru/loadfile/?load_id=1287555823


Вернуться наверх
 
Не в сети
 Заголовок сообщения: Re: Посоветуйте схему средневолнового радиоприёмника!
СообщениеДобавлено: Пт янв 23, 2015 15:03:42 
Первый раз сказал Мяу!

Карма: 10
Рейтинг сообщений: 10
Зарегистрирован: Вс дек 14, 2014 17:22:15
Сообщений: 33
Откуда: Москва
Рейтинг сообщения: 0
Книжку то я читал.
Я хочу в живую послушать.
Если dolfin2006 этот приемник собрал, может он выложил бы mp3 или видео.

Николай.


Вернуться наверх
 
Эиком - электронные компоненты и радиодетали
Не в сети
 Заголовок сообщения: Re: Посоветуйте схему средневолнового радиоприёмника!
СообщениеДобавлено: Пт янв 23, 2015 22:58:22 
Грызет канифоль
Аватар пользователя

Зарегистрирован: Сб окт 15, 2011 00:42:42
Сообщений: 289
Откуда: Польша
Рейтинг сообщения: 0
Я ошибся с отчеством автора оригинальной схемы... Пост заблокирован от редактирования... Поправили верно.

Если собирать по авторским схемам из книги Полякова, — там для приёмника две отдельные схемы — то УНЧ будет с большими искажениями воспроизводить звук. Это из-за опечатки, наверное. Радиочастотная часть в таком случае будет иметь плохой индикатор уровня сигнала и точности настройки — светодиод. Чувствительность приёмника тогда будет недостаточной, шум эфира будет почти не слышен на большой громкости. Разговоры радиолюбителей (иногда довольно любопытные) будут тогда недоступны. Из-за применения транзистора КП303 в первом каскаде вещательные станции будут шире по настройке, а SSB радиолюбительские станции — очень узкими по настройке, незначительно уменьшится и усиление по ВЧ. Приёмник тогда нельзя будет переключить в режим приёмника прямого усиления.

Поиск станций в эфире в режиме "Синхродин" происходит с "писком" и "визжанием", звук неприятный, это я выкладывать не стал. В режиме прослушивания станций работает нормально и даже хорошо, на слух заметны положительные отличия от китайского радиоприемника: простое обнаружение на слух слабых станций, существенная узкополосность и нормальная избирательность. Недостатки: неудобство остроты настройки на станцию, срыв в "визжание" из-за ухода частоты по прошествии 45-минут прослушивания (в среднем) или из-за пятиминутного открытия зимой окна в комнате, в вечернее время настраиваться на вещательные радиостанции в режиме "Синхродин" из-за "писка настройки" неприятно на слух, приходится переключаться в режим "Прямое усиление", а потом — обратно.

Выкладываю две старинные песни, записанные на СВ. Несмотря на диапазон, звук получается приемлемый, есть и высокие и низкие частоты. Громкости достаточно, желательно использовать 3-ваттный динамик. В отличие от диапазона FM, здесь есть что послушать, когда что-нибудь мастеришь или сочиняешь неподалеку.


Вложения:
Маяк - - - Скованные06.11.2010.part2.rar [944 KiB]
Скачиваний: 349
Маяк - - - Скованные06.11.2010.part1.rar [944 KiB]
Скачиваний: 289
RRA - ieste niyo 04.2014.part3.rar [250.89 KiB]
Скачиваний: 254
RRA - ieste niyo 04.2014.part2.rar [944 KiB]
Скачиваний: 246
RRA - ieste niyo 04.2014.part1.rar [944 KiB]
Скачиваний: 282
Вернуться наверх
 
Не в сети
 Заголовок сообщения: Re: Посоветуйте схему средневолнового радиоприёмника!
СообщениеДобавлено: Сб янв 24, 2015 02:00:29 
Грызет канифоль
Аватар пользователя

Зарегистрирован: Сб окт 15, 2011 00:42:42
Сообщений: 289
Откуда: Польша
Рейтинг сообщения: 0
Превышен лимит на пять вложений в одном сообщении. Третью часть первого архива выкладываю ниже.


Вложения:
Маяк - - - Скованные06.11.2010.part3.rar [868.61 KiB]
Скачиваний: 314
Вернуться наверх
 
Не в сети
 Заголовок сообщения: Re: Посоветуйте схему средневолнового радиоприёмника!
СообщениеДобавлено: Сб янв 24, 2015 17:32:11 
Первый раз сказал Мяу!

Карма: 10
Рейтинг сообщений: 10
Зарегистрирован: Вс дек 14, 2014 17:22:15
Сообщений: 33
Откуда: Москва
Рейтинг сообщения: 0
To dolfin2006.
Спасибо, с удовольствием послушал.

Николай.


Вернуться наверх
 
Не в сети
 Заголовок сообщения: Re: Посоветуйте схему средневолнового радиоприёмника!
СообщениеДобавлено: Ср фев 04, 2015 09:48:51 
Встал на лапы

Карма: 4
Рейтинг сообщений: 3
Зарегистрирован: Вс мар 13, 2011 19:50:47
Сообщений: 125
Рейтинг сообщения: 0
В Верютинском приемнике можно-ли "тупо" заменять КТ315Б/КТ361Б на КТ3102/3107 с любым буквенным индексом (первых нет, а вот вторые есть в некотором изобилии. Не, можно съездить, но вторые-то тут уже лежат)?
Или шаманить с резисторами надо? Или определенные буквы подбирать?


Вернуться наверх
 
Не в сети
 Заголовок сообщения: Re: Посоветуйте схему средневолнового радиоприёмника!
СообщениеДобавлено: Ср фев 04, 2015 10:38:52 
Друг Кота
Аватар пользователя

Карма: 64
Рейтинг сообщений: 1102
Зарегистрирован: Ср ноя 17, 2010 23:10:55
Сообщений: 5837
Откуда: Ижевск LO66NU
Рейтинг сообщения: 0
Да ставьте наздоровье, немного шаманить с резисторами (в базовых цепях) при любом раскладе полезно - хоть с тристапятнашками, хоть с 3102....

_________________
В начале жизнь мучает вопросами, в конце - ответами...


Вернуться наверх
 
Не в сети
 Заголовок сообщения: Re: Посоветуйте схему средневолнового радиоприёмника!
СообщениеДобавлено: Вс фев 22, 2015 10:40:53 
Встал на лапы

Карма: 4
Рейтинг сообщений: 3
Зарегистрирован: Вс мар 13, 2011 19:50:47
Сообщений: 125
Рейтинг сообщения: 0
Есть смысл СВ-ДВ конструкции делать на "пятачках" (технологии разные: вырезать хитрозаточеным сверлом, наклеивать квадратики/кружочки), а общий - вся остальная фольга?


Вернуться наверх
 
Не в сети
 Заголовок сообщения: Re: Посоветуйте схему средневолнового радиоприёмника!
СообщениеДобавлено: Вс фев 22, 2015 11:26:16 
Друг Кота
Аватар пользователя

Карма: 72
Рейтинг сообщений: 1153
Зарегистрирован: Чт ноя 20, 2008 04:20:48
Сообщений: 8084
Откуда: КурскЪ
Рейтинг сообщения: 0
Не помешает,и автоматом отпадут проблемы при неправильном монтаже.
Как говориться кашу маслом не испортишь.

_________________
Принимаю вас 595+40db на уровне шумов на кухонный приёмник,антенна наружка-магнитная катушка..работает "Акация",вот такая информация.Роман.73!!!
"50 КСВ 075", UA3112SWL
Изображение


Вернуться наверх
 
Не в сети
 Заголовок сообщения: Re: Посоветуйте схему средневолнового радиоприёмника!
СообщениеДобавлено: Чт фев 26, 2015 13:59:46 
Родился

Зарегистрирован: Чт фев 26, 2015 13:55:14
Сообщений: 8
Рейтинг сообщения: 0
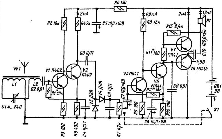
Вложение:
1248406465_index.5.jpg [65.13 KiB]
Скачиваний: 593

мне всегда эта схема нравилась, правда, теперь поймать у нас в городе практически ничего из русскоязычного невозможно


Вернуться наверх
 
Не в сети
 Заголовок сообщения: Re: Посоветуйте схему средневолнового радиоприёмника!
СообщениеДобавлено: Чт фев 26, 2015 16:20:48 
Мудрый кот
Аватар пользователя

Карма: 19
Рейтинг сообщений: 166
Зарегистрирован: Сб окт 10, 2009 17:16:58
Сообщений: 1732
Откуда: Россия.
Рейтинг сообщения: 0
astrahanezz писал(а):
теперь поймать у нас в городе практически ничего из русскоязычного невозможно
Вот здесь принимают средние волны на простейший приемник.
viewtopic.php?p=494258#p494258
Это в mp3
download/file.php?id=111219
Зависит не так от схемы, как от качества входного контура.
А если с такой входной цепью сделать, то вообще довольно прилично принимает.
viewtopic.php?p=1373959#p1373959


Вернуться наверх
 
Не в сети
 Заголовок сообщения: Re: Посоветуйте схему средневолнового радиоприёмника!
СообщениеДобавлено: Чт фев 26, 2015 19:21:02 
Родился

Зарегистрирован: Чт фев 26, 2015 13:55:14
Сообщений: 8
Рейтинг сообщения: 0
Jemchug писал(а):
astrahanezz писал(а):
теперь поймать у нас в городе практически ничего из русскоязычного невозможно
Вот здесь принимают средние волны на простейший приемник.
viewtopic.php?p=494258#p494258


пока "Маяк" работал, всё было ещё проще: высокоомный наушник типа ТОН-1, от одного контакта провод к батарее отопления, ко второму припаян кусочек металла от консервной банки (он являлся антенной при прикосновении к нему пальцем), между контактами - диод, и ведь работало!


Вернуться наверх
 
Не в сети
 Заголовок сообщения: Re: Радиоприёмник прямого усиления на диапазон СВ.
СообщениеДобавлено: Пн мар 09, 2015 19:18:55 
Встал на лапы
Аватар пользователя

Карма: 5
Рейтинг сообщений: 11
Зарегистрирован: Сб янв 12, 2013 01:09:39
Сообщений: 118
Откуда: Донецк
Рейтинг сообщения: 0
Да простят модераторы - тема вопроса относится не к самой статье, а к приемнику прямого усиления как таковому.
Уважаемые опытные коты! Недавно я занялся темой реинкарнации премника пр. усиления (ППУ) на современной элементной базе (взамен П416, Д9 и т.п.). Таких приемников в детстве было собрано мной немало, работали они неплохо и способствовали развитию интереса к изучению радиодела. Хотелось бы предложить что-то подобное нынешним "котятам".
Итак, вопрос:
В прилагаемой модели NI Multisim v.12.0 мною собран ВЧ-тракт (с транзисторным детектором) ППУ для начинающего. Каково мнение о нем (качество, схемотехника, повторяемость)? Буду рад любым конструктивным вопросам и отзывам.
Нужно установить в модели функц. генератор Aglient в режим АМ, несущий сигнал 1МГц, уровень 50мВ, частота модуляции 1000-5000Гц и глубина модуляции 70% (вроде, стандарт для вещалок).



Сюда перенес.
aen


Вложения:
УВЧ.part3.rar [93.81 KiB]
Скачиваний: 417
УВЧ.part2.rar [500 KiB]
Скачиваний: 306
УВЧ.part1.rar [500 KiB]
Скачиваний: 346
Вернуться наверх
 
Не в сети
 Заголовок сообщения: Re: Посоветуйте схему средневолнового радиоприёмника!
СообщениеДобавлено: Вт мар 10, 2015 17:45:50 
Первый раз сказал Мяу!

Карма: 10
Рейтинг сообщений: 10
Зарегистрирован: Вс дек 14, 2014 17:22:15
Сообщений: 33
Откуда: Москва
Рейтинг сообщения: 0
А можно выложить не проект, а отдельно схему.
Моделирую в ADS.

Николай.


Вернуться наверх
 
Не в сети
 Заголовок сообщения: Re: Посоветуйте схему средневолнового радиоприёмника!
СообщениеДобавлено: Пт мар 13, 2015 14:47:41 
Встал на лапы
Аватар пользователя

Карма: 5
Рейтинг сообщений: 11
Зарегистрирован: Сб янв 12, 2013 01:09:39
Сообщений: 118
Откуда: Донецк
Рейтинг сообщения: 0
Можно, конечно.
Вложение:
УВЧ.gif [243.07 KiB]
Скачиваний: 891


Вернуться наверх
 
Не в сети
 Заголовок сообщения:
СообщениеДобавлено: Пт мар 13, 2015 19:44:50 
Модератор
Аватар пользователя

Карма: 158
Рейтинг сообщений: 1600
Зарегистрирован: Пт апр 28, 2006 15:26:07
Сообщений: 11940
Откуда: Россия.
Рейтинг сообщения: 0
Медали: 2
Мявтор 3-й степени (1) Лучший человек Форума 2017 (1)
Детектор какой то странный.
Что то большие сомнения, что он корректно будет работать.


Вернуться наверх
 
Не в сети
 Заголовок сообщения: Re: Посоветуйте схему средневолнового радиоприёмника!
СообщениеДобавлено: Пт мар 13, 2015 20:35:32 
Первый раз сказал Мяу!

Карма: 10
Рейтинг сообщений: 10
Зарегистрирован: Вс дек 14, 2014 17:22:15
Сообщений: 33
Откуда: Москва
Рейтинг сообщения: 0
Промоделировал в ADS.
При 50 mV на входе увч он перегружался.
При 1 mV - не хватало амплитуды для детектора.
[
Спойлерimg]http://img.radiokot.ru/files/102181/lkb1iltme.jpg[/img]
Изображение

Кстати, такой детектор я первый раз вижу.
Для начинающих лучший вариант детектора - эмиттерный детектор.
Он имеет малые искажения и большой динамический диапазон.
СпойлерИзображение
Изображение


Николай.



На первый раз исправил сам.
Вам нужно прочитать Правила форума.
Нарушение Правил форума п. 2.6
aen


Вернуться наверх
 
Не в сети
 Заголовок сообщения: Re: Посоветуйте схему средневолнового радиоприёмника!
СообщениеДобавлено: Сб мар 14, 2015 09:38:01 
Встал на лапы
Аватар пользователя

Карма: 5
Рейтинг сообщений: 11
Зарегистрирован: Сб янв 12, 2013 01:09:39
Сообщений: 118
Откуда: Донецк
Рейтинг сообщения: 0
Спасибо вам за отзывы, друзья! :beer:
Действительно, схема не имеет АРУ (пока еще). И в моей модели стоит делитель, ограничивающий входное напряжение. По замыслу, без искажений все должно работать при уровне входного сигнала до 3мВ (R13, R14).
По поводу детектора... Детектор транзисторный. При появлении на базах транзисторов отрицательного напряжения, Q4 открывается еще больше, а Q3 наоборот, закрывается. При смене знака входного напряжения транзисторы работают "наоборот". Оба транзистора включены по схеме с общим коллектором, поэтому детектор мало нагружает последний каскад УВЧ, и более линеен, чем диодный. Это опять таки - по замыслу. И при моделировании у меня и с диодами, и с одним транзистором в качестве детектора осциллограммы действительно получаются хуже.
Еще раз, спасибо всем отозвавшимся!


Вложения:
Osc.JPG [74.63 KiB]
Скачиваний: 622
Вернуться наверх
 
Показать сообщения за:  Сортировать по:  Вернуться наверх
Начать новую тему Ответить на тему  [ Сообщений: 473 ]     ... , , , 17, , , ...  

Часовой пояс: UTC + 3 часа


Кто сейчас на форуме

Сейчас этот форум просматривают: нет зарегистрированных пользователей и гости: 26


Вы не можете начинать темы
Вы не можете отвечать на сообщения
Вы не можете редактировать свои сообщения
Вы не можете удалять свои сообщения
Вы не можете добавлять вложения

Найти:
Перейти:  


Powered by phpBB © 2000, 2002, 2005, 2007 phpBB Group
Русская поддержка phpBB
Extended by Karma MOD © 2007—2012 m157y
Extended by Topic Tags MOD © 2012 m157y